
Vogelheem 26 is gelegen in de plaats Ter Apel, de gemeente Westerwolde en de provincie Groningen. De oppervlakte van het verblijfsobject is met 595 m² aan de grote kant. Het perceel heeft een oppervlakte van 2150 m². Dit is het adres met de grootste oppervlakte van alle adressen in de straat. Gemiddeld hebben de objecten in de straat een oppervlakte van 141 m². De kleinste oppervlakte is er 121 m². De gemiddelde bouwperiode van gebouwen in Nederland ligt tussen de jaren 1965-1984. Dat geldt ook voor het bouwjaar van Vogelheem 26: het is gebouwd in het jaar 1980. Dit pand is het meest recent exemplaar in de straat. Het oudste object komt er uit 1967 en het gemiddelde bouwjaar is 1968. Het verblijfsobject heeft de volgende gebruiksdoelen: 'bijeenkomstfunctie'.
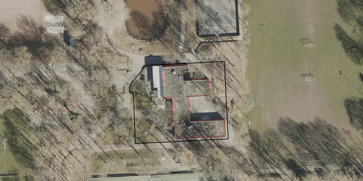
Het adres ligt op het perceel VWD02-H-9422, dat zich in de kadastrale gemeente Vlagtwedde bevindt. Het perceel is kleiner dan gemiddeld in Vlagtwedde. Het perceel is 2150 m² groot, terwijl het gemiddelde ligt op 1,2 ha. Het kleinste perceel in de kadastrale gemeente is 0 m² groot. De grootste perceeloppervlakte is 1,11 km². Op het perceel bevinden zich geen andere adressen. De laatste wijziging in het de Basisregistratie Kadaster (BRK) was op 05-07-2012.
Er is geen energielabel geregistreerd voor het adres. Het hoogste energielabel in de straat is A; het laagste is G. Het gemiddelde energielabel is er A. Het adres Vogelheem 26 heeft als status: 'verblijfsobject in gebruik'. Het pand waarin dit adres ligt heeft als status: 'pand in gebruik'.
Vogelheem 26 is een adres gelegen in de gemeente Westerwolde, provincie Groningen. Dit adres is geregistreerd in de Basisregistratie Adressen en Gebouwen (BAG) met als unieke identificatie 0048010000008592.
Het pand op Vogelheem 26 is gebouwd in 1980, wat betekent dat het 46 jaar oud is. Dit is een pand van middelbare leeftijd. Het pand is van gemiddelde leeftijd en zal waarschijnlijk verouderde elementen bevatten.
De woning op Vogelheem 26 heeft een gebruiksoppervlakte van 595 m². Dit is ruim vergeleken met de gemiddelde Nederlandse woning, die een oppervlakte heeft van ongeveer 119 m². De gebruiksoppervlakte is de maat die wordt gebruikt in de BAG-registratie, de landelijke registratie van de Nederlandse overheid.
Vogelheem 26 heeft als functie: bijeenkomsten. Deze gebruiksfunctie(s) zijn vastgelegd in de BAG-registratie en geven aan waarvoor het adres officieel mag worden gebruikt.
Vogelheem 26 is gelegen op kadastraal perceel VWD02H9422. Deze kadastrale aanduiding is uniek en wordt gebruikt door het Kadaster om eigendomsrechten en andere zakelijke rechten vast te leggen. Het perceel maakt onderdeel uit van de kadastrale gemeente Vlagtwedde.
Het perceel waarop Vogelheem 26 staat heeft een oppervlakte van 2150 m². Dit is een zeer groot perceel. De perceeloppervlakte wordt geregistreerd door het Kadaster. Gedetailleerde informatie over de maten van dit perceel kunt u vinden in het rapport Kadastrale kaart met maatvoering van Vogelheem 26.
De eigenaar van Vogelheem 26 is op te vragen op deze pagina.
De informatie over dit adres is afkomstig uit officiële overheidsregistraties, voornamelijk de Basisregistratie Adressen en Gebouwen (BAG) en de Basisregistratie Kadaster (BRK). Deze gegevens worden beheerd door respectievelijk gemeenten en het Kadaster, en worden regelmatig bijgewerkt. Energielabelgegevens komen uit de database van de Rijksdienst voor Ondernemend Nederland (RVO).
