
Het adres Mascagnistraat 9-tv bevindt zich in de plaats Tilburg, in de gemeente Tilburg en de provincie Noord-Brabant. De oppervlakte van het adres is 103 m². Dat is vergelijkbaar met het gemiddelde Nederlandse oppervlakte van 119 m². De oppervlakte van het perceel waarin het adres ligt is 1086 m². In vergelijking met de andere adressen in de straat is de oppervlakte van dit object relatief groot. Het grootste verblijfsobject heeft een oppervlakte van 1306 m², de oppervlakte van het kleinste object bedraagt 5 m². Het pand waarin Mascagnistraat 9-tv ligt is gebouwd in het jaar 2025. Panden die gebouwd zijn na het jaar 1984 noemen we hier relatief nieuw. Dit pand is het meest recent exemplaar in de straat. Het oudste object komt er uit 1966 en het gemiddelde bouwjaar is 1969. De volgende gebruiksdoelen zijn geregistreerd voor dit adres: 'bijeenkomstfunctie'.
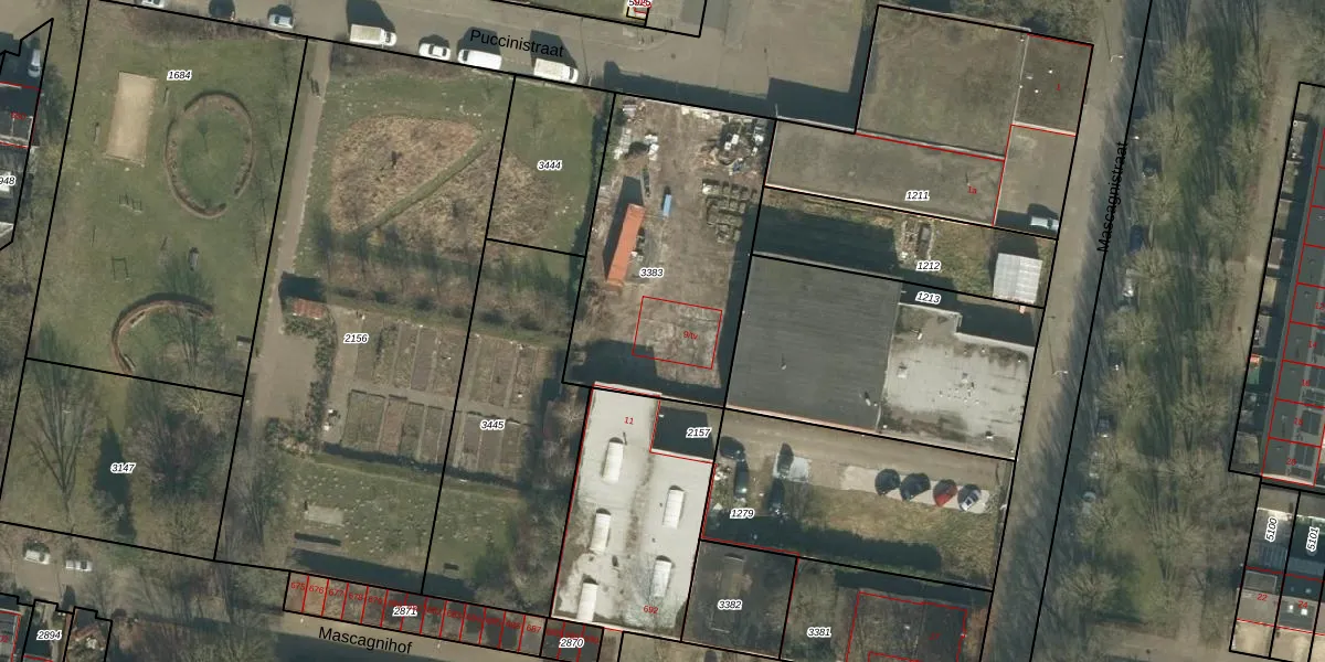
Het perceel waarop het adres ligt is TBG01-S-3383. De afkorting 'TBG01' staat voor kadastrale gemeente Tilburg. Het perceel is 1086 m² groot. Dat is kleiner dan de gemiddelde perceeloppervlakte in Tilburg, dat op 1264,33 m² ligt. Het kleinste perceel in de kadastrale gemeente is 0 m² groot. De grootste perceeloppervlakte is 87,4 ha. Op het perceel bevinden zich geen andere adressen. In de Basisregistratie Kadaster (BRK) werden de grenzen van het perceel geregistreerd op 16-06-2011.
Er is geen energielabel geregistreerd voor het adres. Het hoogste energielabel in de straat is A++; het laagste is G. Het gemiddelde energielabel is er B. Het adres Mascagnistraat 9-tv heeft als status: 'verblijfsobject in gebruik'. Het pand waarin dit adres ligt heeft als status: 'pand in gebruik'.
Mascagnistraat 9-tv is een adres gelegen in de gemeente Tilburg, provincie Noord-Brabant. Dit adres is geregistreerd in de Basisregistratie Adressen en Gebouwen (BAG) met als unieke identificatie 0855010000324782.
Het pand op Mascagnistraat 9-tv is gebouwd in 2025, wat betekent dat het 1 jaar oud is. Dit is een vrij nieuw pand. Het pand is dus waarschijnlijk goed geïsoleerd, geluidsdicht en voldoet aan de huidige bouwstandaarden. Op korte termijn zijn er waarschijnlijk weinig onderhoudskosten.
De woning op Mascagnistraat 9-tv heeft een gebruiksoppervlakte van 103 m². Dit is onder het gemiddelde vergeleken met de gemiddelde Nederlandse woning, die een oppervlakte heeft van ongeveer 119 m². De gebruiksoppervlakte is de maat die wordt gebruikt in de BAG-registratie, de landelijke registratie van de Nederlandse overheid.
Mascagnistraat 9-tv heeft als functie: bijeenkomsten. Deze gebruiksfunctie(s) zijn vastgelegd in de BAG-registratie en geven aan waarvoor het adres officieel mag worden gebruikt.
Mascagnistraat 9-tv is gelegen op kadastraal perceel TBG01S3383. Deze kadastrale aanduiding is uniek en wordt gebruikt door het Kadaster om eigendomsrechten en andere zakelijke rechten vast te leggen. Het perceel maakt onderdeel uit van de kadastrale gemeente Tilburg.
Het perceel waarop Mascagnistraat 9-tv staat heeft een oppervlakte van 1086 m². Dit is een zeer groot perceel. De perceeloppervlakte wordt geregistreerd door het Kadaster. Gedetailleerde informatie over de maten van dit perceel kunt u vinden in het rapport Kadastrale kaart met maatvoering van Mascagnistraat 9-tv.
De eigenaar van Mascagnistraat 9-tv is op te vragen op deze pagina.
De informatie over dit adres is afkomstig uit officiële overheidsregistraties, voornamelijk de Basisregistratie Adressen en Gebouwen (BAG) en de Basisregistratie Kadaster (BRK). Deze gegevens worden beheerd door respectievelijk gemeenten en het Kadaster, en worden regelmatig bijgewerkt. Energielabelgegevens komen uit de database van de Rijksdienst voor Ondernemend Nederland (RVO).
