
Fazantendrift 4 is gelegen in de plaats Tollebeek, de gemeente Noordoostpolder en de provincie Flevoland. Het object heeft een oppervlakte van 588 m², wat relatief groot is. Het perceel waarop het adres ligt is 4154 m² groot. Vergeleken met de andere verblijfsobjecten in de straat is dit object groot. De oppervlakte van het grootste object in de straat is 1076 m², die van het kleinste bedraagt 25 m². Het gebouw waarin Fazantendrift 4 ligt komt uit het jaar 1957. Objecten die gebouwd zijn vóór 1965 classificeren we hier als oud. Het gemiddelde bouwjaar in de straat is 1960 en dat van het nieuwste object 1962. In de straat is dit het oudste pand. De volgende gebruiksdoelen zijn geregistreerd voor dit adres: 'onderwijsfunctie'.
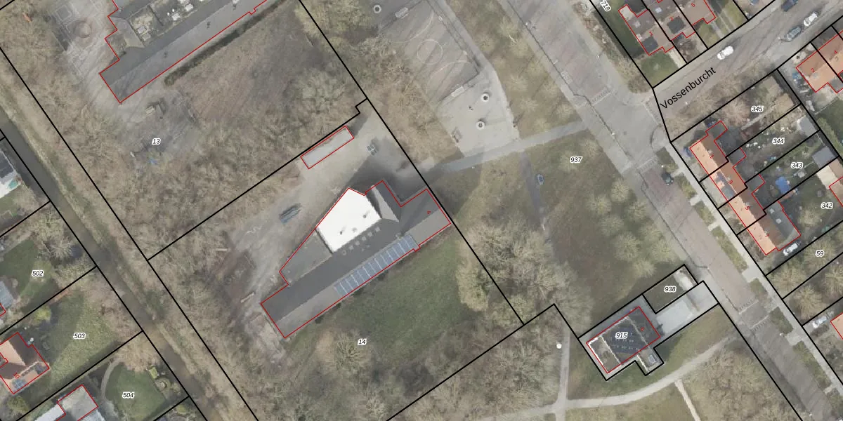
Het adres is gelegen op perceel 14 in de sectie EX en de kadastrale gemeente Noordoostpolder. De kadastrale aanduiding is aldus NOP00-EX-14. Het perceel is 4154 m² groot. Dat is kleiner dan de gemiddelde perceeloppervlakte in Noordoostpolder, dat op 2,1 ha ligt. Het kleinste perceel in de kadastrale gemeente is 0 m² groot. De grootste perceeloppervlakte is 47,42 km². Dit is het enige adres dat aanwezig is op het perceel. De laatste wijziging in het de Basisregistratie Kadaster (BRK) was op 12-02-2009.
Er is geen energielabel geregistreerd voor het adres. Het hoogste energielabel in de straat is A; het laagste is G. Het gemiddelde energielabel is er B. Het adres Fazantendrift 4 heeft als status: 'verblijfsobject in gebruik'. Het pand waarin dit adres ligt heeft als status: 'pand in gebruik'.
Fazantendrift 4 is een adres gelegen in de gemeente Noordoostpolder, provincie Flevoland. Dit adres is geregistreerd in de Basisregistratie Adressen en Gebouwen (BAG) met als unieke identificatie 0171010000024675.
Het pand op Fazantendrift 4 is gebouwd in 1957, wat betekent dat het 69 jaar oud is. Dit is een ouder pand. Het pand heeft mogelijk aanzienlijke renovaties nodig om aan de huidige standaarden te voldoen.
De woning op Fazantendrift 4 heeft een gebruiksoppervlakte van 588 m². Dit is ruim vergeleken met de gemiddelde Nederlandse woning, die een oppervlakte heeft van ongeveer 119 m². De gebruiksoppervlakte is de maat die wordt gebruikt in de BAG-registratie, de landelijke registratie van de Nederlandse overheid.
Fazantendrift 4 heeft als functie: onderwijs. Deze gebruiksfunctie(s) zijn vastgelegd in de BAG-registratie en geven aan waarvoor het adres officieel mag worden gebruikt.
Fazantendrift 4 is gelegen op kadastraal perceel NOP00EX14. Deze kadastrale aanduiding is uniek en wordt gebruikt door het Kadaster om eigendomsrechten en andere zakelijke rechten vast te leggen. Het perceel maakt onderdeel uit van de kadastrale gemeente Noordoostpolder.
Het perceel waarop Fazantendrift 4 staat heeft een oppervlakte van 4154 m². Dit is een zeer groot perceel. De perceeloppervlakte wordt geregistreerd door het Kadaster. Gedetailleerde informatie over de maten van dit perceel kunt u vinden in het rapport Kadastrale kaart met maatvoering van Fazantendrift 4.
De eigenaar van Fazantendrift 4 is op te vragen op deze pagina
De informatie over dit adres is afkomstig uit officiële overheidsregistraties, voornamelijk de Basisregistratie Adressen en Gebouwen (BAG) en de Basisregistratie Kadaster (BRK). Deze gegevens worden beheerd door respectievelijk gemeenten en het Kadaster, en worden regelmatig bijgewerkt. Energielabelgegevens komen uit de database van de Rijksdienst voor Ondernemend Nederland (RVO).
