
Het adres Scheperweg 2 bevindt zich in de plaats Tynaarlo, in de gemeente Tynaarlo en de provincie Drenthe. Het perceel waarop het verblijfsobject staat is 4850 m² groot. De oppervlakte van het adres is 126 m², wat zich rond het Nederlandse gemiddelde van 119 m² bevindt. In de straat is dit het adres met de grootste oppervlakte. De objecten in de straat zijn gemiddeld 126 m² groot. Het kleinste verblijfsobject heeft een oppervlakte van 126 m². Het adres Scheperweg 2 ligt in een relatief oud pand uit het jaar 1856. Panden van vóór het jaar 1965 hebben we hier geclassificeerd als oud. In de straat is dit het nieuwste pand en stamt het oudste object uit het jaar 1856. Het gemiddelde bouwjaar in de straat is 1856. Het verblijfsobject heeft de volgende gebruiksdoelen: 'woonfunctie'.
Deze woning is voor het laatst verkocht op 1 september 2008. Meer informatie over deze transactie? Bestel het Woningtransactierapport om de verkoopprijs en andere informatie te zien.
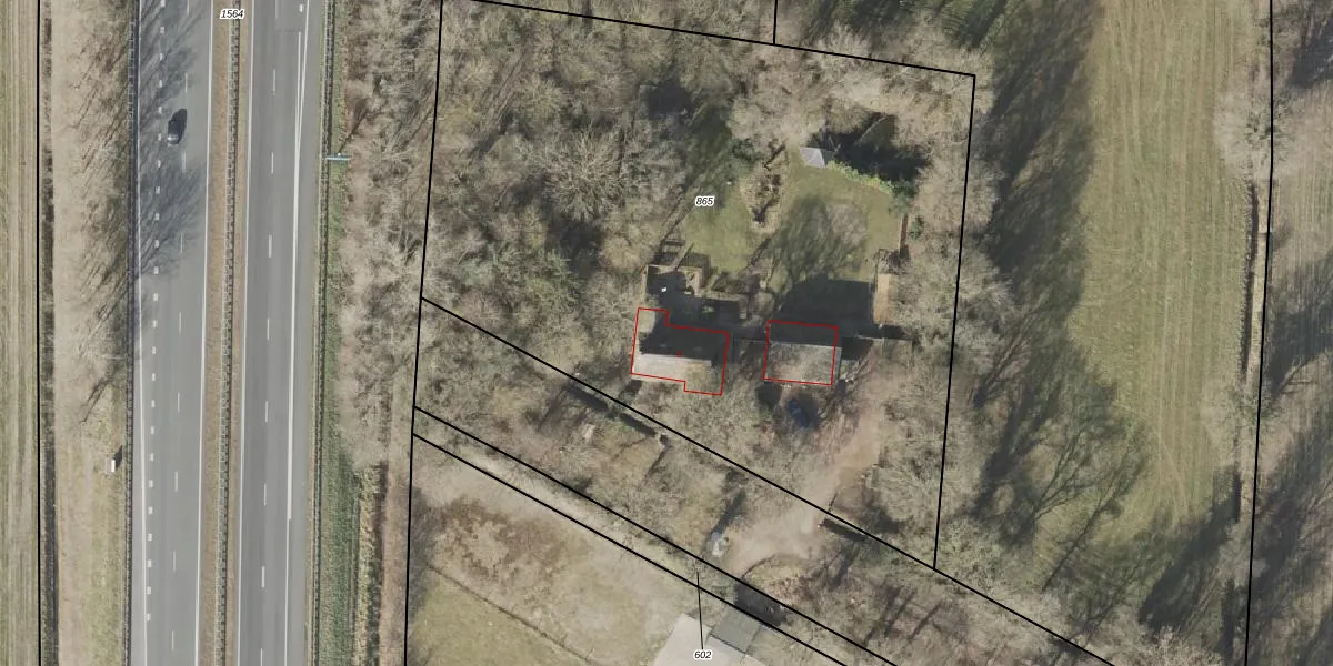
Het perceel waarop het adres ligt is VRI00-V-865. De afkorting 'VRI00' staat voor kadastrale gemeente Vries. Het perceel is kleiner dan gemiddeld in Vries. Het perceel is 4850 m² groot, terwijl het gemiddelde ligt op 8860,38 m². De grootste perceeloppervlakte in de kadastrale gemeente is 53,3 ha. De kleinste oppervlakte bedraagt 1 m². Er zijn geen andere adressen aanwezig op het perceel. In de Basisregistratie Kadaster (BRK) werden de grenzen van het perceel geregistreerd op 26-11-2003.
Het adres ligt in een gebouw van het type 'vrijstaande woning'. Bij de laatste meting is voor het adres het energielabel D geregistreerd. Het hoogste energielabel in de straat is D; het laagste is G. Het gemiddelde energielabel is er D. Het adres Scheperweg 2 heeft als status: 'verblijfsobject in gebruik'. Het pand waarin dit adres ligt heeft als status: 'pand in gebruik'.
Scheperweg 2 is een adres gelegen in de gemeente Tynaarlo, provincie Drenthe. Dit adres is geregistreerd in de Basisregistratie Adressen en Gebouwen (BAG) met als unieke identificatie 1730010000007230.
Het pand op Scheperweg 2 is gebouwd in 1856, wat betekent dat het 170 jaar oud is. Dit is een ouder pand. Het pand heeft mogelijk aanzienlijke renovaties nodig om aan de huidige standaarden te voldoen.
De woning op Scheperweg 2 heeft een gebruiksoppervlakte van 126 m². Dit is gemiddeld vergeleken met de gemiddelde Nederlandse woning, die een oppervlakte heeft van ongeveer 119 m². De gebruiksoppervlakte is de maat die wordt gebruikt in de BAG-registratie, de landelijke registratie van de Nederlandse overheid.
Scheperweg 2 heeft als functie: wonen. Deze gebruiksfunctie(s) zijn vastgelegd in de BAG-registratie en geven aan waarvoor het adres officieel mag worden gebruikt.
Scheperweg 2 is gelegen op kadastraal perceel VRI00V865. Deze kadastrale aanduiding is uniek en wordt gebruikt door het Kadaster om eigendomsrechten en andere zakelijke rechten vast te leggen. Het perceel maakt onderdeel uit van de kadastrale gemeente Vries.
Het perceel waarop Scheperweg 2 staat heeft een oppervlakte van 4850 m². Dit is een zeer groot perceel. De perceeloppervlakte wordt geregistreerd door het Kadaster. Gedetailleerde informatie over de maten van dit perceel kunt u vinden in het rapport Kadastrale kaart met maatvoering van Scheperweg 2.
De eigenaar van Scheperweg 2 is op te vragen op deze pagina.
De informatie over dit adres is afkomstig uit officiële overheidsregistraties, voornamelijk de Basisregistratie Adressen en Gebouwen (BAG) en de Basisregistratie Kadaster (BRK). Deze gegevens worden beheerd door respectievelijk gemeenten en het Kadaster, en worden regelmatig bijgewerkt. Energielabelgegevens komen uit de database van de Rijksdienst voor Ondernemend Nederland (RVO).
