
Asseldonkweg 18-A is gelegen in de plaats Uden, de gemeente Maashorst en de provincie Noord-Brabant. De oppervlakte van het object bedraagt 83 m². Dat is klein vergeleken met het Nederlandse gemiddelde. Het perceel waarop het adres ligt is 5517 m² groot. Er zijn geen kleinere objecten in deze straat. De gemiddelde oppervlakte is er 229 m². Het grootste verblijfsobject is 466 m². Het pand waarin Asseldonkweg 18-A ligt is gebouwd in het jaar 2025. Panden die gebouwd zijn na het jaar 1984 noemen we hier relatief nieuw. In de straat is dit het nieuwste pand en stamt het oudste object uit het jaar 1800. Het gemiddelde bouwjaar in de straat is 1943. De volgende gebruiksdoelen zijn geregistreerd voor dit adres: 'woonfunctie' en 'gezondheidszorgfunctie'.
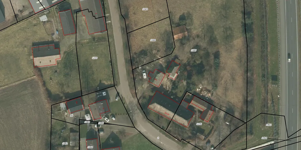
Het adres ligt op het perceel UDN00-Q-1585, dat zich in de kadastrale gemeente Uden bevindt. De oppervlakte van het perceel is 5517 m². Dat is groter dan gemiddeld in Uden, waar de gemiddelde perceeloppervlakte op 3255,64 m² ligt. Het kleinste perceel in de kadastrale gemeente is 0 m² groot. De grootste perceeloppervlakte is 1,06 km². Op het perceel zijn 2 adressen aanwezig. De laatste wijziging in het de Basisregistratie Kadaster (BRK) was op 09-07-2009.
Er is geen energielabel geregistreerd voor het adres. Het hoogste energielabel in de straat is F; het laagste is G. Het gemiddelde energielabel is er F. Het adres Asseldonkweg 18-A heeft als status: 'verblijfsobject in gebruik (niet ingemeten)'. Het pand waarin dit adres ligt heeft als status: 'pand in gebruik (niet ingemeten)'.
Asseldonkweg 18-A is een adres gelegen in de gemeente Maashorst, provincie Noord-Brabant. Dit adres is geregistreerd in de Basisregistratie Adressen en Gebouwen (BAG) met als unieke identificatie 1991010000421982.
Het pand op Asseldonkweg 18-A is gebouwd in 2025, wat betekent dat het 1 jaar oud is. Dit is een vrij nieuw pand. Het pand is dus waarschijnlijk goed geïsoleerd, geluidsdicht en voldoet aan de huidige bouwstandaarden. Op korte termijn zijn er waarschijnlijk weinig onderhoudskosten.
De woning op Asseldonkweg 18-A heeft een gebruiksoppervlakte van 83 m². Dit is onder het gemiddelde vergeleken met de gemiddelde Nederlandse woning, die een oppervlakte heeft van ongeveer 119 m². De gebruiksoppervlakte is de maat die wordt gebruikt in de BAG-registratie, de landelijke registratie van de Nederlandse overheid.
Asseldonkweg 18-A heeft als functie: wonen en gezondheidszorg. Deze gebruiksfunctie(s) zijn vastgelegd in de BAG-registratie en geven aan waarvoor het adres officieel mag worden gebruikt.
Asseldonkweg 18-A is gelegen op kadastraal perceel UDN00Q1585. Deze kadastrale aanduiding is uniek en wordt gebruikt door het Kadaster om eigendomsrechten en andere zakelijke rechten vast te leggen. Het perceel maakt onderdeel uit van de kadastrale gemeente Uden.
Het perceel waarop Asseldonkweg 18-A staat heeft een oppervlakte van 5517 m². Dit is een zeer groot perceel. De perceeloppervlakte wordt geregistreerd door het Kadaster. Gedetailleerde informatie over de maten van dit perceel kunt u vinden in het rapport Kadastrale kaart met maatvoering van Asseldonkweg 18-A.
De eigenaar van Asseldonkweg 18-A is op te vragen op deze pagina
De informatie over dit adres is afkomstig uit officiële overheidsregistraties, voornamelijk de Basisregistratie Adressen en Gebouwen (BAG) en de Basisregistratie Kadaster (BRK). Deze gegevens worden beheerd door respectievelijk gemeenten en het Kadaster, en worden regelmatig bijgewerkt. Energielabelgegevens komen uit de database van de Rijksdienst voor Ondernemend Nederland (RVO).
