
Het adres Perweide 19 bevindt zich in de plaats Udenhout, in de gemeente Udenhout en de provincie Noord-Brabant. De oppervlakte van het object bedraagt 80 m². Dat is klein vergeleken met het Nederlandse gemiddelde. Het perceel waarop het adres ligt is 944 m² groot. De oppervlakte van het adres is klein vergeleken met de andere objecten in de straat. De oppervlakte van het kleinste object in de straat bedraagt 39 m², terwijl het grootste object 2237 m² groot is. In Nederland komt het grootste deel van de gebouwen uit de periode 1965-1984. Ook het bouwjaar van Perweide 19 is afkomstig uit die periode: het betreft namelijk een pand uit 1972. Dit is het oudste object in de straat. Het nieuwste pand komt uit 2004 en het gemiddelde bouwjaar in de straat is 1979. Voor het verblijfsobject gelden deze gebruiksdoelen: 'woonfunctie'.
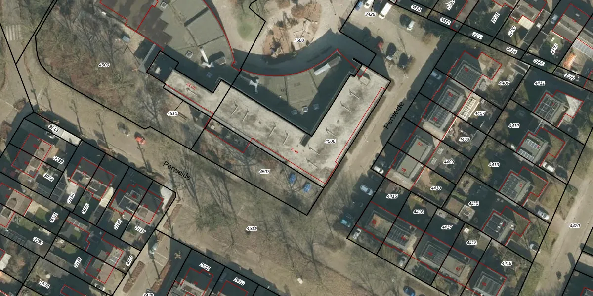
Het adres is gelegen op perceel 4506 in de sectie E en de kadastrale gemeente Udenhout. De kadastrale aanduiding is aldus UDH00-E-4506. De gemiddelde perceelgrootte in Udenhout is 4176,21 m². Dit perceel is kleiner: de perceeloppervlakte bedraagt 944 m². Het grootste perceel in de kadastrale gemeente is 38,7 ha. Het kleinste perceel heeft een oppervlakte van 1 m². Op het perceel zijn 19 adressen aanwezig. In de Basisregistratie Kadaster (BRK) werden de grenzen van het perceel geregistreerd op 26-11-2008.
Het adres ligt in een gebouw van het type 'flatwoning (overig) met het subtype tussenmidden'. Bij de laatste meting is voor het adres het energielabel B geregistreerd. Het hoogste energielabel in de straat is A+++; het laagste is G. Het gemiddelde energielabel is er B. Het adres Perweide 19 heeft als status: 'verblijfsobject in gebruik'. Het pand waarin dit adres ligt heeft als status: 'pand in gebruik'.
Perweide 19 is een adres gelegen in de gemeente Tilburg, provincie Noord-Brabant. Dit adres is geregistreerd in de Basisregistratie Adressen en Gebouwen (BAG) met als unieke identificatie 0855010000099611.
Het pand op Perweide 19 is gebouwd in 1972, wat betekent dat het 54 jaar oud is. Dit is een ouder pand. Het pand heeft mogelijk aanzienlijke renovaties nodig om aan de huidige standaarden te voldoen.
De woning op Perweide 19 heeft een gebruiksoppervlakte van 80 m². Dit is onder het gemiddelde vergeleken met de gemiddelde Nederlandse woning, die een oppervlakte heeft van ongeveer 119 m². De gebruiksoppervlakte is de maat die wordt gebruikt in de BAG-registratie, de landelijke registratie van de Nederlandse overheid.
Perweide 19 heeft als functie: wonen. Deze gebruiksfunctie(s) zijn vastgelegd in de BAG-registratie en geven aan waarvoor het adres officieel mag worden gebruikt.
Perweide 19 is gelegen op kadastraal perceel UDH00E4506. Deze kadastrale aanduiding is uniek en wordt gebruikt door het Kadaster om eigendomsrechten en andere zakelijke rechten vast te leggen. Het perceel maakt onderdeel uit van de kadastrale gemeente Udenhout.
Het perceel waarop Perweide 19 staat heeft een oppervlakte van 944 m². Dit is een groot perceel. De perceeloppervlakte wordt geregistreerd door het Kadaster. Gedetailleerde informatie over de maten van dit perceel kunt u vinden in het rapport Kadastrale kaart met maatvoering van Perweide 19.
De eigenaar van Perweide 19 is op te vragen op deze pagina.
De informatie over dit adres is afkomstig uit officiële overheidsregistraties, voornamelijk de Basisregistratie Adressen en Gebouwen (BAG) en de Basisregistratie Kadaster (BRK). Deze gegevens worden beheerd door respectievelijk gemeenten en het Kadaster, en worden regelmatig bijgewerkt. Energielabelgegevens komen uit de database van de Rijksdienst voor Ondernemend Nederland (RVO).
