
De Feart 10 is gelegen in de plaats Ureterp, de gemeente Opsterland en de provincie Friesland. De oppervlakte bedraagt 298 m², waarmee het adres groter dan gemiddeld is. De grootte van het perceel waarop het adres ligt is 7330 m². De oppervlakte van dit adres is groot vergeleken met de oppervlaktes van andere adressen in de straat. De kleinste oppervlakte bedraagt er 11 m², de grootste 1866 m². De Feart 10 bevindt zich in een pand uit het jaar 1916. Daarmee behoort het tot de groep relatief oude panden in Nederland die gebouwd zijn vóór 1965. In de straat komt het nieuwste gebouw uit het jaar 2025 en het oudste uit 1711. Het bouwjaar van dit object is relatief oud. Het verblijfsobject heeft de volgende gebruiksdoelen: 'woonfunctie'.
Deze woning is voor het laatst verkocht op 1 juli 2020. Meer informatie over deze transactie? Bestel het Woningtransactierapport om de verkoopprijs en andere informatie te zien.
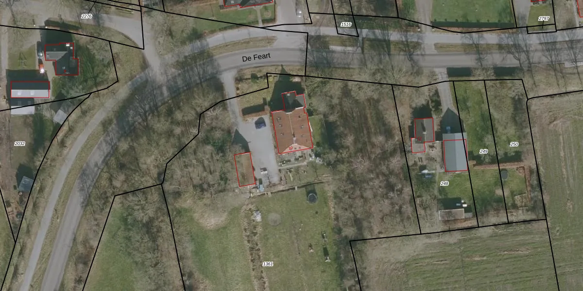
Het adres ligt op het perceel URT00-F-1361, dat zich in de kadastrale gemeente Ureterp bevindt. Het perceel is kleiner dan gemiddeld in Ureterp. Het perceel is 7330 m² groot, terwijl het gemiddelde ligt op 8886,33 m². Het grootste perceel in de kadastrale gemeente is 27,7 ha. Het kleinste perceel heeft een oppervlakte van 1 m². Er zijn geen andere adressen aanwezig op het perceel. De laatste wijziging in het de Basisregistratie Kadaster (BRK) was op 13-05-2008.
Het adres ligt in een gebouw van het type 'vrijstaande woning'. Bij de laatste meting is voor het adres het energielabel G geregistreerd. Het hoogste energielabel in de straat is A++; het laagste is G. Het gemiddelde energielabel is er D. Het adres De Feart 10 heeft als status: 'verblijfsobject in gebruik'. Het pand waarin dit adres ligt heeft als status: 'pand in gebruik'.
De Feart 10 is een adres gelegen in de gemeente Opsterland, provincie Friesland. Dit adres is geregistreerd in de Basisregistratie Adressen en Gebouwen (BAG) met als unieke identificatie 0086010000391504.
Het pand op De Feart 10 is gebouwd in 1916, wat betekent dat het 110 jaar oud is. Dit is een ouder pand. Het pand heeft mogelijk aanzienlijke renovaties nodig om aan de huidige standaarden te voldoen.
De woning op De Feart 10 heeft een gebruiksoppervlakte van 298 m². Dit is ruim vergeleken met de gemiddelde Nederlandse woning, die een oppervlakte heeft van ongeveer 119 m². De gebruiksoppervlakte is de maat die wordt gebruikt in de BAG-registratie, de landelijke registratie van de Nederlandse overheid.
De Feart 10 heeft als functie: wonen. Deze gebruiksfunctie(s) zijn vastgelegd in de BAG-registratie en geven aan waarvoor het adres officieel mag worden gebruikt.
De Feart 10 is gelegen op kadastraal perceel URT00F1361. Deze kadastrale aanduiding is uniek en wordt gebruikt door het Kadaster om eigendomsrechten en andere zakelijke rechten vast te leggen. Het perceel maakt onderdeel uit van de kadastrale gemeente Ureterp.
Het perceel waarop De Feart 10 staat heeft een oppervlakte van 7330 m². Dit is een zeer groot perceel. De perceeloppervlakte wordt geregistreerd door het Kadaster. Gedetailleerde informatie over de maten van dit perceel kunt u vinden in het rapport Kadastrale kaart met maatvoering van De Feart 10.
De eigenaar van De Feart 10 is op te vragen op deze pagina.
De informatie over dit adres is afkomstig uit officiële overheidsregistraties, voornamelijk de Basisregistratie Adressen en Gebouwen (BAG) en de Basisregistratie Kadaster (BRK). Deze gegevens worden beheerd door respectievelijk gemeenten en het Kadaster, en worden regelmatig bijgewerkt. Energielabelgegevens komen uit de database van de Rijksdienst voor Ondernemend Nederland (RVO).
