
De Feart 37 is een adres in Ureterp, dat zich bevindt binnen de gemeentegrenzen van Ureterp en de grenzen van de provincie Friesland. De oppervlakte van het verblijfsobject is met 272 m² aan de grote kant. Het perceel heeft een oppervlakte van 1465 m². In vergelijking met de andere adressen in de straat is de oppervlakte van dit object relatief groot. Het grootste verblijfsobject heeft een oppervlakte van 1866 m², de oppervlakte van het kleinste object bedraagt 11 m². Het adres De Feart 37 ligt in een relatief oud pand uit het jaar 1952. Panden van vóór het jaar 1965 hebben we hier geclassificeerd als oud. Dit object is relatief nieuw in de straat. Het nieuwste gebouw komt er uit het jaar 2025 en het oudste uit het jaar 1711. Voor het verblijfsobject gelden deze gebruiksdoelen: 'woonfunctie'.
Deze woning is voor het laatst verkocht op 1 april 2018. Meer informatie over deze transactie? Bestel het Woningtransactierapport om de verkoopprijs en andere informatie te zien.
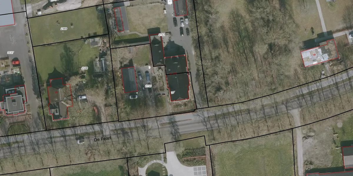
Het perceel waarop het adres ligt is URT00-F-2710. De afkorting 'URT00' staat voor kadastrale gemeente Ureterp. De gemiddelde perceelgrootte in Ureterp is 8888,12 m². Dit perceel is kleiner: de perceeloppervlakte bedraagt 1465 m². De grootste perceeloppervlakte in de kadastrale gemeente is 27,7 ha. De kleinste oppervlakte bedraagt 1 m². Op het perceel bevinden zich geen andere adressen. De huidige grenzen van het perceel zijn digitaal in de Basisregistratie Kadaster (BRK) geregistreerd op 28-03-2018.
Er is geen energielabel geregistreerd voor het adres. Het hoogste energielabel in de straat is A++; het laagste is G. Het gemiddelde energielabel is er D. Het adres De Feart 37 heeft als status: 'verblijfsobject in gebruik'. Het pand waarin dit adres ligt heeft als status: 'pand in gebruik'.
De Feart 37 is een adres gelegen in de gemeente Opsterland, provincie Friesland. Dit adres is geregistreerd in de Basisregistratie Adressen en Gebouwen (BAG) met als unieke identificatie 0086010000402612.
Het pand op De Feart 37 is gebouwd in 1952, wat betekent dat het 74 jaar oud is. Dit is een ouder pand. Het pand heeft mogelijk aanzienlijke renovaties nodig om aan de huidige standaarden te voldoen.
De woning op De Feart 37 heeft een gebruiksoppervlakte van 272 m². Dit is ruim vergeleken met de gemiddelde Nederlandse woning, die een oppervlakte heeft van ongeveer 119 m². De gebruiksoppervlakte is de maat die wordt gebruikt in de BAG-registratie, de landelijke registratie van de Nederlandse overheid.
De Feart 37 heeft als functie: wonen. Deze gebruiksfunctie(s) zijn vastgelegd in de BAG-registratie en geven aan waarvoor het adres officieel mag worden gebruikt.
De Feart 37 is gelegen op kadastraal perceel URT00F2710. Deze kadastrale aanduiding is uniek en wordt gebruikt door het Kadaster om eigendomsrechten en andere zakelijke rechten vast te leggen. Het perceel maakt onderdeel uit van de kadastrale gemeente Ureterp.
Het perceel waarop De Feart 37 staat heeft een oppervlakte van 1465 m². Dit is een zeer groot perceel. De perceeloppervlakte wordt geregistreerd door het Kadaster. Gedetailleerde informatie over de maten van dit perceel kunt u vinden in het rapport Kadastrale kaart met maatvoering van De Feart 37.
De eigenaar van De Feart 37 is op te vragen op deze pagina.
De informatie over dit adres is afkomstig uit officiële overheidsregistraties, voornamelijk de Basisregistratie Adressen en Gebouwen (BAG) en de Basisregistratie Kadaster (BRK). Deze gegevens worden beheerd door respectievelijk gemeenten en het Kadaster, en worden regelmatig bijgewerkt. Energielabelgegevens komen uit de database van de Rijksdienst voor Ondernemend Nederland (RVO).
