
Het adres Oude Sluisweg 11 bevindt zich in de plaats Vaassen, in de gemeente Vaassen en de provincie Gelderland. De oppervlakte bedraagt 253 m², waarmee het adres groter dan gemiddeld is. De grootte van het perceel waarop het adres ligt is 1,1 ha. In vergelijking met de andere adressen in de straat is de oppervlakte van dit object relatief groot. Het grootste verblijfsobject heeft een oppervlakte van 871 m², de oppervlakte van het kleinste object bedraagt 20 m². Oude Sluisweg 11 bevindt zich in een pand uit het jaar 1900. Daarmee behoort het tot de groep relatief oude panden in Nederland die gebouwd zijn vóór 1965. Dit is het oudste object in de straat. Het nieuwste pand komt uit 2008 en het gemiddelde bouwjaar in de straat is 1943. Het verblijfsobject heeft de volgende gebruiksdoelen: 'woonfunctie' en 'industriefunctie'.
Deze woning is voor het laatst verkocht op 1 februari 2024. Meer informatie over deze transactie? Bestel het Woningtransactierapport om de verkoopprijs en andere informatie te zien.
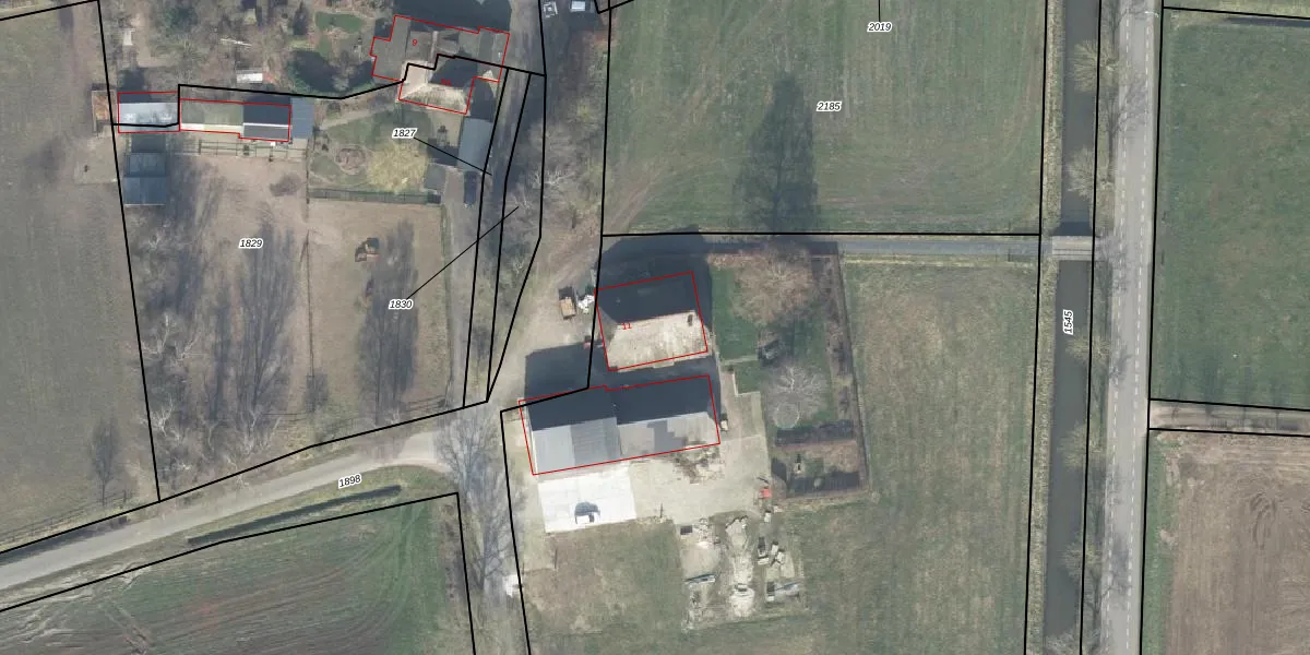
Het perceel waarop het adres ligt is VSN02-B-2186. De afkorting 'VSN02' staat voor kadastrale gemeente Vaassen. De gemiddelde perceeloppervlakte in de kadastrale gemeente Vaassen is 5562,72 m². Dit perceel is met zijn 1,1 ha dus groter dan gemiddeld. Het grootste perceel in de kadastrale gemeente is 1,98 km². Het kleinste perceel heeft een oppervlakte van 0 m². Er zijn geen andere adressen aanwezig op het perceel. In de Basisregistratie Kadaster (BRK) werden de grenzen van het perceel geregistreerd op 08-01-2024.
Het adres ligt in een gebouw van het type 'vrijstaande woning'. Bij de laatste meting is voor het adres het energielabel G geregistreerd. Het hoogste energielabel in de straat is B; het laagste is G. Het gemiddelde energielabel is er E. Het adres Oude Sluisweg 11 heeft als status: 'verblijfsobject in gebruik'. Het pand waarin dit adres ligt heeft als status: 'pand in gebruik'.
Oude Sluisweg 11 is een adres gelegen in de gemeente Epe, provincie Gelderland. Dit adres is geregistreerd in de Basisregistratie Adressen en Gebouwen (BAG) met als unieke identificatie 0232010000010955.
Het pand op Oude Sluisweg 11 is gebouwd in 1900, wat betekent dat het 126 jaar oud is. Dit is een ouder pand. Het pand heeft mogelijk aanzienlijke renovaties nodig om aan de huidige standaarden te voldoen.
De woning op Oude Sluisweg 11 heeft een gebruiksoppervlakte van 253 m². Dit is ruim vergeleken met de gemiddelde Nederlandse woning, die een oppervlakte heeft van ongeveer 119 m². De gebruiksoppervlakte is de maat die wordt gebruikt in de BAG-registratie, de landelijke registratie van de Nederlandse overheid.
Oude Sluisweg 11 heeft als functie: wonen en industrie. Deze gebruiksfunctie(s) zijn vastgelegd in de BAG-registratie en geven aan waarvoor het adres officieel mag worden gebruikt.
Oude Sluisweg 11 is gelegen op kadastraal perceel VSN02B2186. Deze kadastrale aanduiding is uniek en wordt gebruikt door het Kadaster om eigendomsrechten en andere zakelijke rechten vast te leggen. Het perceel maakt onderdeel uit van de kadastrale gemeente Vaassen.
Het perceel waarop Oude Sluisweg 11 staat heeft een oppervlakte van 1,1 ha. Dit is een zeer groot perceel. De perceeloppervlakte wordt geregistreerd door het Kadaster. Gedetailleerde informatie over de maten van dit perceel kunt u vinden in het rapport Kadastrale kaart met maatvoering van Oude Sluisweg 11.
De eigenaar van Oude Sluisweg 11 is op te vragen op deze pagina.
De informatie over dit adres is afkomstig uit officiële overheidsregistraties, voornamelijk de Basisregistratie Adressen en Gebouwen (BAG) en de Basisregistratie Kadaster (BRK). Deze gegevens worden beheerd door respectievelijk gemeenten en het Kadaster, en worden regelmatig bijgewerkt. Energielabelgegevens komen uit de database van de Rijksdienst voor Ondernemend Nederland (RVO).
