
Peppelweg 4 is gelegen in de plaats Vaassen, de gemeente Epe en de provincie Gelderland. De oppervlakte van het verblijfsobject is met 278 m² aan de grote kant. Het perceel heeft een oppervlakte van 3740 m². In de straat is dit het adres met de grootste oppervlakte. De objecten in de straat zijn gemiddeld 165 m² groot. Het kleinste verblijfsobject heeft een oppervlakte van 3 m². Peppelweg 4 bevindt zich in een pand uit het jaar 1900. Daarmee behoort het tot de groep relatief oude panden in Nederland die gebouwd zijn vóór 1965. Gemiddeld zijn de gebouwen in de straat gebouwd in 1957. Dit is het oudste pand in de straat. Het meest recente komt uit het jaar 2007. Het verblijfsobject heeft de volgende gebruiksdoelen: 'woonfunctie' en 'industriefunctie'.
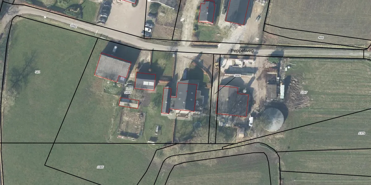
Het perceel waarop het adres ligt is VSN02-B-1693. De afkorting 'VSN02' staat voor kadastrale gemeente Vaassen. Het perceel is kleiner dan gemiddeld in Vaassen. Het perceel is 3740 m² groot, terwijl het gemiddelde ligt op 5564,22 m². Het grootste perceel in de kadastrale gemeente is 1,98 km². Het kleinste perceel heeft een oppervlakte van 0 m². Op het perceel bevinden zich geen andere adressen. De laatste wijziging in het de Basisregistratie Kadaster (BRK) was op 13-03-2002.
Er is geen energielabel geregistreerd voor het adres. Het hoogste energielabel in de straat is A; het laagste is G. Het gemiddelde energielabel is er D. Het adres Peppelweg 4 heeft als status: 'verblijfsobject in gebruik'. Het pand waarin dit adres ligt heeft als status: 'pand in gebruik'.
Peppelweg 4 is een adres gelegen in de gemeente Epe, provincie Gelderland. Dit adres is geregistreerd in de Basisregistratie Adressen en Gebouwen (BAG) met als unieke identificatie 0232010000010936.
Het pand op Peppelweg 4 is gebouwd in 1900, wat betekent dat het 126 jaar oud is. Dit is een ouder pand. Het pand heeft mogelijk aanzienlijke renovaties nodig om aan de huidige standaarden te voldoen.
De woning op Peppelweg 4 heeft een gebruiksoppervlakte van 278 m². Dit is ruim vergeleken met de gemiddelde Nederlandse woning, die een oppervlakte heeft van ongeveer 119 m². De gebruiksoppervlakte is de maat die wordt gebruikt in de BAG-registratie, de landelijke registratie van de Nederlandse overheid.
Peppelweg 4 heeft als functie: wonen en industrie. Deze gebruiksfunctie(s) zijn vastgelegd in de BAG-registratie en geven aan waarvoor het adres officieel mag worden gebruikt.
Peppelweg 4 is gelegen op kadastraal perceel VSN02B1693. Deze kadastrale aanduiding is uniek en wordt gebruikt door het Kadaster om eigendomsrechten en andere zakelijke rechten vast te leggen. Het perceel maakt onderdeel uit van de kadastrale gemeente Vaassen.
Het perceel waarop Peppelweg 4 staat heeft een oppervlakte van 3740 m². Dit is een zeer groot perceel. De perceeloppervlakte wordt geregistreerd door het Kadaster. Gedetailleerde informatie over de maten van dit perceel kunt u vinden in het rapport Kadastrale kaart met maatvoering van Peppelweg 4.
De eigenaar van Peppelweg 4 is op te vragen op deze pagina.
De informatie over dit adres is afkomstig uit officiële overheidsregistraties, voornamelijk de Basisregistratie Adressen en Gebouwen (BAG) en de Basisregistratie Kadaster (BRK). Deze gegevens worden beheerd door respectievelijk gemeenten en het Kadaster, en worden regelmatig bijgewerkt. Energielabelgegevens komen uit de database van de Rijksdienst voor Ondernemend Nederland (RVO).
