
Het adres Veensepolder 7-C bevindt zich in de plaats Veen, in de gemeente Veen en de provincie Noord-Brabant. De oppervlakte van het verblijfsobject is met 328 m² aan de grote kant. Het perceel heeft een oppervlakte van 1015 m². De oppervlakte van het adres is klein vergeleken met de andere objecten in de straat. De oppervlakte van het kleinste object in de straat bedraagt 123 m², terwijl het grootste object 2354 m² groot is. Het pand waarin Veensepolder 7-C ligt is gebouwd in het jaar 2021. Panden die gebouwd zijn na het jaar 1984 noemen we hier relatief nieuw. Het nieuwste gebouw in de straat komt uit 2024 en het oudste uit 2018. Dit object is relatief oud. Voor het verblijfsobject gelden deze gebruiksdoelen: 'industriefunctie'.
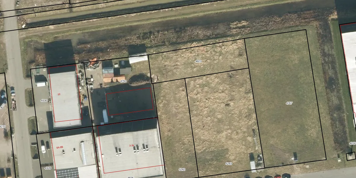
Het adres is gelegen op perceel 5242 in de sectie E en de kadastrale gemeente Aalburg. De kadastrale aanduiding is aldus ABG00-E-5242. De gemiddelde perceelgrootte in Aalburg is 5305,2 m². Dit perceel is kleiner: de perceeloppervlakte bedraagt 1015 m². Het kleinste perceel in de kadastrale gemeente is 0 m² groot. De grootste perceeloppervlakte is 72,4 ha. Op het perceel liggen in totaal 2 adressen. In de Basisregistratie Kadaster (BRK) werden de grenzen van het perceel geregistreerd op 08-05-2025.
Er is geen energielabel geregistreerd voor het adres. Het hoogste energielabel in de straat is A+++; het laagste is G. Het gemiddelde energielabel is er A+++. Het adres Veensepolder 7-C heeft als status: 'verblijfsobject gevormd'. Het pand waarin dit adres ligt heeft als status: 'bouw gestart'.
Veensepolder 7-C is een adres gelegen in de gemeente Altena, provincie Noord-Brabant. Dit adres is geregistreerd in de Basisregistratie Adressen en Gebouwen (BAG) met als unieke identificatie 1959010002126535.
Het pand op Veensepolder 7-C is gebouwd in 2021, wat betekent dat het 5 jaar oud is. Dit is een vrij nieuw pand. Het pand is dus waarschijnlijk goed geïsoleerd, geluidsdicht en voldoet aan de huidige bouwstandaarden. Op korte termijn zijn er waarschijnlijk weinig onderhoudskosten.
De woning op Veensepolder 7-C heeft een gebruiksoppervlakte van 328 m². Dit is ruim vergeleken met de gemiddelde Nederlandse woning, die een oppervlakte heeft van ongeveer 119 m². De gebruiksoppervlakte is de maat die wordt gebruikt in de BAG-registratie, de landelijke registratie van de Nederlandse overheid.
Veensepolder 7-C heeft als functie: industrie. Deze gebruiksfunctie(s) zijn vastgelegd in de BAG-registratie en geven aan waarvoor het adres officieel mag worden gebruikt.
Veensepolder 7-C is gelegen op kadastraal perceel ABG00E5242. Deze kadastrale aanduiding is uniek en wordt gebruikt door het Kadaster om eigendomsrechten en andere zakelijke rechten vast te leggen. Het perceel maakt onderdeel uit van de kadastrale gemeente Aalburg.
Het perceel waarop Veensepolder 7-C staat heeft een oppervlakte van 1015 m². Dit is een zeer groot perceel. De perceeloppervlakte wordt geregistreerd door het Kadaster. Gedetailleerde informatie over de maten van dit perceel kunt u vinden in het rapport Kadastrale kaart met maatvoering van Veensepolder 7-C.
De eigenaar van Veensepolder 7-C is op te vragen op deze pagina.
De informatie over dit adres is afkomstig uit officiële overheidsregistraties, voornamelijk de Basisregistratie Adressen en Gebouwen (BAG) en de Basisregistratie Kadaster (BRK). Deze gegevens worden beheerd door respectievelijk gemeenten en het Kadaster, en worden regelmatig bijgewerkt. Energielabelgegevens komen uit de database van de Rijksdienst voor Ondernemend Nederland (RVO).
