
De Hemel 5 is een adres in Veghel, dat zich bevindt binnen de gemeentegrenzen van Veghel en de grenzen van de provincie Noord-Brabant. De oppervlakte van het verblijfsobject is met 176 m² aan de grote kant. Het perceel heeft een oppervlakte van 1775 m². Het adres is klein vergeleken met andere objecten in de straat. Het grootste object in de straat heeft een oppervlakte van 3241 m², het kleinste is 159 m² groot. Het adres De Hemel 5 ligt in een relatief oud pand uit het jaar 1869. Panden van vóór het jaar 1965 hebben we hier geclassificeerd als oud. Gemiddeld zijn de gebouwen in de straat gebouwd in 1969. Dit is het oudste pand in de straat. Het meest recente komt uit het jaar 2017. Voor het verblijfsobject gelden deze gebruiksdoelen: 'woonfunctie'.
Deze woning is voor het laatst verkocht op 1 augustus 2005. Meer informatie over deze transactie? Bestel het Woningtransactierapport om de verkoopprijs en andere informatie te zien.
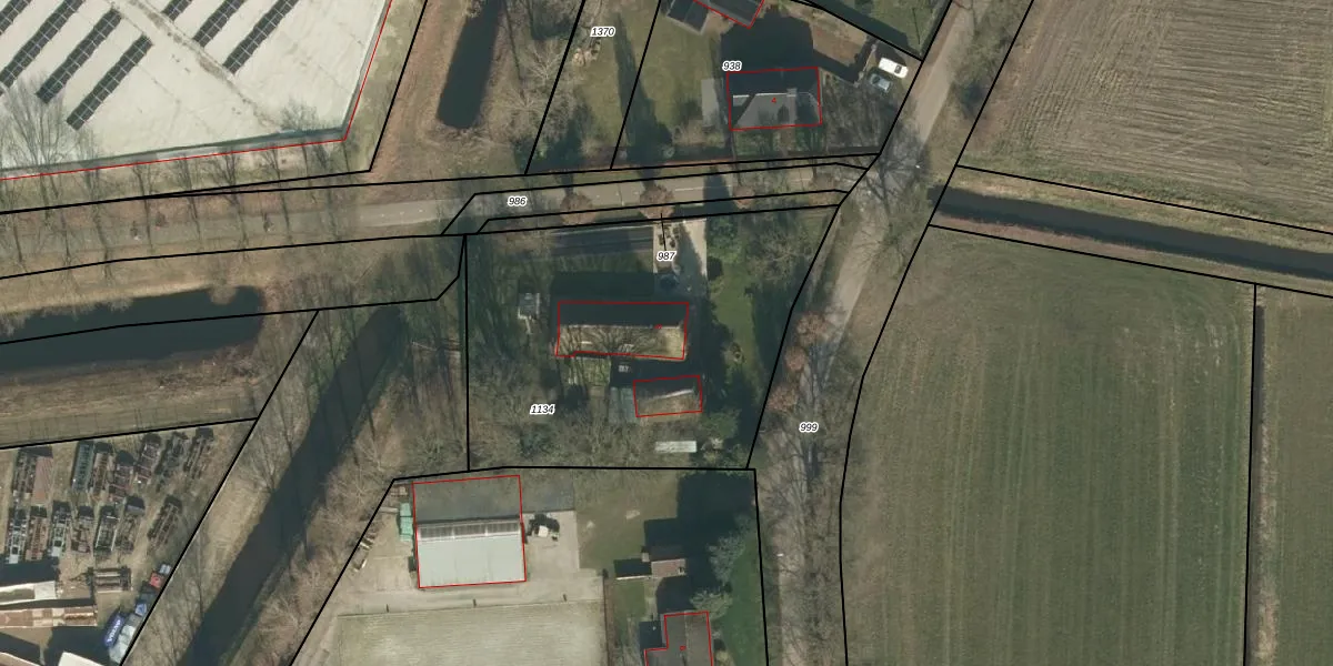
Het adres ligt op het perceel VHL00-P-1134, dat zich in de kadastrale gemeente Veghel bevindt. De gemiddelde perceelgrootte in Veghel is 2503,24 m². Dit perceel is kleiner: de perceeloppervlakte bedraagt 1775 m². De grootste perceeloppervlakte in de kadastrale gemeente is 27,6 ha. De kleinste oppervlakte bedraagt 0 m². Op het perceel bevinden zich geen andere adressen. De huidige grenzen van het perceel zijn digitaal in de Basisregistratie Kadaster (BRK) geregistreerd op 30-08-2010.
Het adres ligt in een gebouw van het type 'vrijstaande woning'. Bij de laatste meting is voor het adres het energielabel D geregistreerd. Het hoogste energielabel in de straat is A; het laagste is G. Het gemiddelde energielabel is er B. Het adres De Hemel 5 heeft als status: 'verblijfsobject in gebruik'. Het pand waarin dit adres ligt heeft als status: 'pand in gebruik'.
De Hemel 5 is een adres gelegen in de gemeente Meierijstad, provincie Noord-Brabant. Dit adres is geregistreerd in de Basisregistratie Adressen en Gebouwen (BAG) met als unieke identificatie 0860010000005856.
Het pand op De Hemel 5 is gebouwd in 1869, wat betekent dat het 157 jaar oud is. Dit is een ouder pand. Het pand heeft mogelijk aanzienlijke renovaties nodig om aan de huidige standaarden te voldoen.
De woning op De Hemel 5 heeft een gebruiksoppervlakte van 176 m². Dit is ruim vergeleken met de gemiddelde Nederlandse woning, die een oppervlakte heeft van ongeveer 119 m². De gebruiksoppervlakte is de maat die wordt gebruikt in de BAG-registratie, de landelijke registratie van de Nederlandse overheid.
De Hemel 5 heeft als functie: wonen. Deze gebruiksfunctie(s) zijn vastgelegd in de BAG-registratie en geven aan waarvoor het adres officieel mag worden gebruikt.
De Hemel 5 is gelegen op kadastraal perceel VHL00P1134. Deze kadastrale aanduiding is uniek en wordt gebruikt door het Kadaster om eigendomsrechten en andere zakelijke rechten vast te leggen. Het perceel maakt onderdeel uit van de kadastrale gemeente Veghel.
Het perceel waarop De Hemel 5 staat heeft een oppervlakte van 1775 m². Dit is een zeer groot perceel. De perceeloppervlakte wordt geregistreerd door het Kadaster. Gedetailleerde informatie over de maten van dit perceel kunt u vinden in het rapport Kadastrale kaart met maatvoering van De Hemel 5.
De eigenaar van De Hemel 5 is op te vragen op deze pagina.
De informatie over dit adres is afkomstig uit officiële overheidsregistraties, voornamelijk de Basisregistratie Adressen en Gebouwen (BAG) en de Basisregistratie Kadaster (BRK). Deze gegevens worden beheerd door respectievelijk gemeenten en het Kadaster, en worden regelmatig bijgewerkt. Energielabelgegevens komen uit de database van de Rijksdienst voor Ondernemend Nederland (RVO).
