
Straelseweg 35 is een adres in Velden, dat zich bevindt binnen de gemeentegrenzen van Velden en de grenzen van de provincie Limburg. De oppervlakte bedraagt 570 m², waarmee het adres groter dan gemiddeld is. De grootte van het perceel waarop het adres ligt is 1065 m². Het adres is klein vergeleken met andere objecten in de straat. Het grootste object in de straat heeft een oppervlakte van 5,7 ha, het kleinste is 49 m² groot. Het gebouw waarin Straelseweg 35 ligt komt uit het jaar 1960. Objecten die gebouwd zijn vóór 1965 classificeren we hier als oud. In de straat komt het nieuwste gebouw uit het jaar 2022 en het oudste uit 1850. Het bouwjaar van dit object is relatief oud. De volgende gebruiksdoelen zijn geregistreerd voor dit adres: 'woonfunctie' en 'bijeenkomstfunctie'.
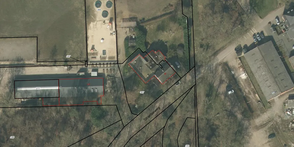
Het adres ligt op het perceel ACN00-I-397, dat zich in de kadastrale gemeente Arcen en Velden bevindt. Het perceel is 1065 m² groot. Dat is kleiner dan de gemiddelde perceeloppervlakte in Arcen en Velden, dat op 4167,17 m² ligt. Het kleinste perceel in de kadastrale gemeente is 0 m² groot. De grootste perceeloppervlakte is 41,8 ha. Er zijn geen andere adressen aanwezig op het perceel. De huidige grenzen van het perceel zijn digitaal in de Basisregistratie Kadaster (BRK) geregistreerd op 09-05-2023.
Bij de laatste meting is voor het adres het energielabel C geregistreerd. Het hoogste energielabel in de straat is A+++; het laagste is G. Het gemiddelde energielabel is er C. Het adres Straelseweg 35 heeft als status: 'verblijfsobject in gebruik'. Het pand waarin dit adres ligt heeft als status: 'pand in gebruik'.
Straelseweg 35 is een adres gelegen in de gemeente Venlo, provincie Limburg. Dit adres is geregistreerd in de Basisregistratie Adressen en Gebouwen (BAG) met als unieke identificatie 0983010000151326.
Het pand op Straelseweg 35 is gebouwd in 1960, wat betekent dat het 66 jaar oud is. Dit is een ouder pand. Het pand heeft mogelijk aanzienlijke renovaties nodig om aan de huidige standaarden te voldoen.
De woning op Straelseweg 35 heeft een gebruiksoppervlakte van 570 m². Dit is ruim vergeleken met de gemiddelde Nederlandse woning, die een oppervlakte heeft van ongeveer 119 m². De gebruiksoppervlakte is de maat die wordt gebruikt in de BAG-registratie, de landelijke registratie van de Nederlandse overheid.
Straelseweg 35 heeft als functie: wonen en bijeenkomsten. Deze gebruiksfunctie(s) zijn vastgelegd in de BAG-registratie en geven aan waarvoor het adres officieel mag worden gebruikt.
Straelseweg 35 is gelegen op kadastraal perceel ACN00I397. Deze kadastrale aanduiding is uniek en wordt gebruikt door het Kadaster om eigendomsrechten en andere zakelijke rechten vast te leggen. Het perceel maakt onderdeel uit van de kadastrale gemeente Arcen en Velden.
Het perceel waarop Straelseweg 35 staat heeft een oppervlakte van 1065 m². Dit is een zeer groot perceel. De perceeloppervlakte wordt geregistreerd door het Kadaster. Gedetailleerde informatie over de maten van dit perceel kunt u vinden in het rapport Kadastrale kaart met maatvoering van Straelseweg 35.
De eigenaar van Straelseweg 35 is op te vragen op deze pagina.
De informatie over dit adres is afkomstig uit officiële overheidsregistraties, voornamelijk de Basisregistratie Adressen en Gebouwen (BAG) en de Basisregistratie Kadaster (BRK). Deze gegevens worden beheerd door respectievelijk gemeenten en het Kadaster, en worden regelmatig bijgewerkt. Energielabelgegevens komen uit de database van de Rijksdienst voor Ondernemend Nederland (RVO).
