
Het adres Habraken 16 bevindt zich in de plaats Veldhoven, in de gemeente Veldhoven en de provincie Noord-Brabant. Het verblijfsobject is 145 m² groot en bevindt zich op een perceel met een oppervlakte van 2275 m². Gemiddeld hebben adressen in Nederland een oppervlakte van 119 m². Het object is klein ten opzichte van de andere adressen in de straat. Het grootste verblijfsobject is 2,2 ha groot en het kleinste is 6 m². De meeste Nederlandse gebouwen zijn gebouwd in de periode 1965-1984. Zo ook het pand waarin Habraken 16 ligt, dat gebouwd is in 1968. Het gemiddelde bouwjaar in de straat is 2016 en dat van het nieuwste object 2026. In de straat is dit het oudste pand. Voor het verblijfsobject gelden deze gebruiksdoelen: 'woonfunctie'.
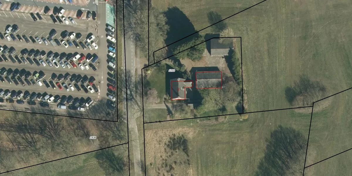
Het perceel waarop het adres ligt is VHV01-H-1233. De afkorting 'VHV01' staat voor kadastrale gemeente Veldhoven. Het perceel is met 2275 m² relatief groot. Het gemiddelde ligt in de kadastrale gemeente Veldhoven op 1485,05 m². De grootste perceeloppervlakte in de kadastrale gemeente is 78,9 ha. De kleinste oppervlakte bedraagt 0 m². Dit is het enige adres dat aanwezig is op het perceel. In de Basisregistratie Kadaster (BRK) werden de grenzen van het perceel geregistreerd op 02-02-2009.
Er is geen energielabel geregistreerd voor het adres. Het hoogste energielabel in de straat is A+++++; het laagste is G. Het gemiddelde energielabel is er A++. Het adres Habraken 16 heeft als status: 'verblijfsobject in gebruik'. Het pand waarin dit adres ligt heeft als status: 'pand in gebruik'.
Habraken 16 is een adres gelegen in de gemeente Veldhoven, provincie Noord-Brabant. Dit adres is geregistreerd in de Basisregistratie Adressen en Gebouwen (BAG) met als unieke identificatie 0861010000402974.
Het pand op Habraken 16 is gebouwd in 1968, wat betekent dat het 58 jaar oud is. Dit is een ouder pand. Het pand heeft mogelijk aanzienlijke renovaties nodig om aan de huidige standaarden te voldoen.
De woning op Habraken 16 heeft een gebruiksoppervlakte van 145 m². Dit is gemiddeld vergeleken met de gemiddelde Nederlandse woning, die een oppervlakte heeft van ongeveer 119 m². De gebruiksoppervlakte is de maat die wordt gebruikt in de BAG-registratie, de landelijke registratie van de Nederlandse overheid.
Habraken 16 heeft als functie: wonen. Deze gebruiksfunctie(s) zijn vastgelegd in de BAG-registratie en geven aan waarvoor het adres officieel mag worden gebruikt.
Habraken 16 is gelegen op kadastraal perceel VHV01H1233. Deze kadastrale aanduiding is uniek en wordt gebruikt door het Kadaster om eigendomsrechten en andere zakelijke rechten vast te leggen. Het perceel maakt onderdeel uit van de kadastrale gemeente Veldhoven.
Het perceel waarop Habraken 16 staat heeft een oppervlakte van 2275 m². Dit is een zeer groot perceel. De perceeloppervlakte wordt geregistreerd door het Kadaster. Gedetailleerde informatie over de maten van dit perceel kunt u vinden in het rapport Kadastrale kaart met maatvoering van Habraken 16.
De eigenaar van Habraken 16 is op te vragen op deze pagina.
De informatie over dit adres is afkomstig uit officiële overheidsregistraties, voornamelijk de Basisregistratie Adressen en Gebouwen (BAG) en de Basisregistratie Kadaster (BRK). Deze gegevens worden beheerd door respectievelijk gemeenten en het Kadaster, en worden regelmatig bijgewerkt. Energielabelgegevens komen uit de database van de Rijksdienst voor Ondernemend Nederland (RVO).
