
Het adres Genooyerweg 82 bevindt zich in de plaats Venlo, in de gemeente Venlo en de provincie Limburg. De oppervlakte bedraagt 252 m², waarmee het adres groter dan gemiddeld is. De grootte van het perceel waarop het adres ligt is 5223 m². Het adres is klein vergeleken met andere objecten in de straat. Het grootste object in de straat heeft een oppervlakte van 623 m², het kleinste is 84 m² groot. Het pand waarin Genooyerweg 82 ligt is gebouwd in het jaar 2017. Panden die gebouwd zijn na het jaar 1984 noemen we hier relatief nieuw. In de straat is dit het nieuwste pand en stamt het oudste object uit het jaar 1631. Het gemiddelde bouwjaar in de straat is 1927. Het verblijfsobject heeft de volgende gebruiksdoelen: 'woonfunctie'.
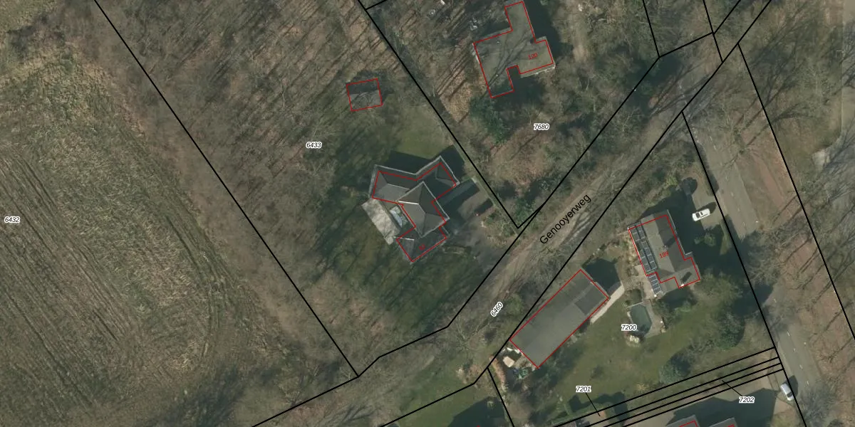
Het adres ligt op het perceel VLO00-A-6433, dat zich in de kadastrale gemeente Venlo bevindt. De gemiddelde perceeloppervlakte in de kadastrale gemeente Venlo is 1969,62 m². Dit perceel is met zijn 5223 m² dus groter dan gemiddeld. Het kleinste perceel in de kadastrale gemeente is 0 m² groot. De grootste perceeloppervlakte is 82,6 ha. Er zijn geen andere adressen aanwezig op het perceel. In de Basisregistratie Kadaster (BRK) werden de grenzen van het perceel geregistreerd op 15-04-2021.
Er is geen energielabel geregistreerd voor het adres. Het hoogste energielabel in de straat is B; het laagste is G. Het gemiddelde energielabel is er B. Het adres Genooyerweg 82 heeft als status: 'verblijfsobject in gebruik'. Het pand waarin dit adres ligt heeft als status: 'pand in gebruik'.
Genooyerweg 82 is een adres gelegen in de gemeente Venlo, provincie Limburg. Dit adres is geregistreerd in de Basisregistratie Adressen en Gebouwen (BAG) met als unieke identificatie 0983010000158276.
Het pand op Genooyerweg 82 is gebouwd in 2017, wat betekent dat het 9 jaar oud is. Dit is een vrij nieuw pand. Het pand is dus waarschijnlijk goed geïsoleerd, geluidsdicht en voldoet aan de huidige bouwstandaarden. Op korte termijn zijn er waarschijnlijk weinig onderhoudskosten.
De woning op Genooyerweg 82 heeft een gebruiksoppervlakte van 252 m². Dit is ruim vergeleken met de gemiddelde Nederlandse woning, die een oppervlakte heeft van ongeveer 119 m². De gebruiksoppervlakte is de maat die wordt gebruikt in de BAG-registratie, de landelijke registratie van de Nederlandse overheid.
Genooyerweg 82 heeft als functie: wonen. Deze gebruiksfunctie(s) zijn vastgelegd in de BAG-registratie en geven aan waarvoor het adres officieel mag worden gebruikt.
Genooyerweg 82 is gelegen op kadastraal perceel VLO00A6433. Deze kadastrale aanduiding is uniek en wordt gebruikt door het Kadaster om eigendomsrechten en andere zakelijke rechten vast te leggen. Het perceel maakt onderdeel uit van de kadastrale gemeente Venlo.
Het perceel waarop Genooyerweg 82 staat heeft een oppervlakte van 5223 m². Dit is een zeer groot perceel. De perceeloppervlakte wordt geregistreerd door het Kadaster. Gedetailleerde informatie over de maten van dit perceel kunt u vinden in het rapport Kadastrale kaart met maatvoering van Genooyerweg 82.
De eigenaar van Genooyerweg 82 is op te vragen op deze pagina.
De informatie over dit adres is afkomstig uit officiële overheidsregistraties, voornamelijk de Basisregistratie Adressen en Gebouwen (BAG) en de Basisregistratie Kadaster (BRK). Deze gegevens worden beheerd door respectievelijk gemeenten en het Kadaster, en worden regelmatig bijgewerkt. Energielabelgegevens komen uit de database van de Rijksdienst voor Ondernemend Nederland (RVO).
