
Het adres Kruisweg 5 bevindt zich in de plaats Voorst, in de gemeente Voorst en de provincie Gelderland. De oppervlakte bedraagt 281 m², waarmee het adres groter dan gemiddeld is. De grootte van het perceel waarop het adres ligt is 8940 m². Dit is het grootste verblijfsobject. Gemiddeld hebben de objecten in de straat een oppervlakte van 149 m². Het kleinste verblijfsobject is er 74 m². Kruisweg 5 ligt in een gebouw uit het jaar 2018. Daarmee behoort het tot de groep panden van na 1984, die we als relatief nieuw bestempelen. Veel andere gebouwen in de straat zijn ouder dan dit pand. Het oudste pand komt uit het jaar 1923 en het nieuwste uit 2021. Voor het verblijfsobject gelden deze gebruiksdoelen: 'woonfunctie'.
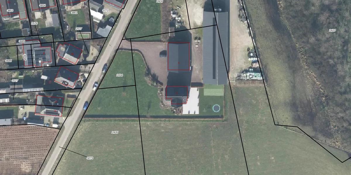
Het adres is gelegen op perceel 281 in de sectie E en de kadastrale gemeente Voorst. De kadastrale aanduiding is aldus VOO00-E-281. De gemiddelde perceelgrootte in Voorst is 1,0 ha. Dit perceel is kleiner: de perceeloppervlakte bedraagt 8940 m². Het grootste perceel in de kadastrale gemeente is 94,4 ha. Het kleinste perceel heeft een oppervlakte van 0 m². Op het perceel zijn 2 adressen aanwezig. In de Basisregistratie Kadaster (BRK) werden de grenzen van het perceel geregistreerd op 14-01-2002.
Er is geen energielabel geregistreerd voor het adres. Het hoogste energielabel in de straat is G; het laagste is G. Het gemiddelde energielabel is er G. Het adres Kruisweg 5 heeft als status: 'verblijfsobject in gebruik'. Het pand waarin dit adres ligt heeft als status: 'pand in gebruik'.
Kruisweg 5 is een adres gelegen in de gemeente Voorst, provincie Gelderland. Dit adres is geregistreerd in de Basisregistratie Adressen en Gebouwen (BAG) met als unieke identificatie 0285010000113531.
Het pand op Kruisweg 5 is gebouwd in 2018, wat betekent dat het 8 jaar oud is. Dit is een vrij nieuw pand. Het pand is dus waarschijnlijk goed geïsoleerd, geluidsdicht en voldoet aan de huidige bouwstandaarden. Op korte termijn zijn er waarschijnlijk weinig onderhoudskosten.
De woning op Kruisweg 5 heeft een gebruiksoppervlakte van 281 m². Dit is ruim vergeleken met de gemiddelde Nederlandse woning, die een oppervlakte heeft van ongeveer 119 m². De gebruiksoppervlakte is de maat die wordt gebruikt in de BAG-registratie, de landelijke registratie van de Nederlandse overheid.
Kruisweg 5 heeft als functie: wonen. Deze gebruiksfunctie(s) zijn vastgelegd in de BAG-registratie en geven aan waarvoor het adres officieel mag worden gebruikt.
Kruisweg 5 is gelegen op kadastraal perceel VOO00E281. Deze kadastrale aanduiding is uniek en wordt gebruikt door het Kadaster om eigendomsrechten en andere zakelijke rechten vast te leggen. Het perceel maakt onderdeel uit van de kadastrale gemeente Voorst.
Het perceel waarop Kruisweg 5 staat heeft een oppervlakte van 8940 m². Dit is een zeer groot perceel. De perceeloppervlakte wordt geregistreerd door het Kadaster. Gedetailleerde informatie over de maten van dit perceel kunt u vinden in het rapport Kadastrale kaart met maatvoering van Kruisweg 5.
De eigenaar van Kruisweg 5 is op te vragen op deze pagina.
De informatie over dit adres is afkomstig uit officiële overheidsregistraties, voornamelijk de Basisregistratie Adressen en Gebouwen (BAG) en de Basisregistratie Kadaster (BRK). Deze gegevens worden beheerd door respectievelijk gemeenten en het Kadaster, en worden regelmatig bijgewerkt. Energielabelgegevens komen uit de database van de Rijksdienst voor Ondernemend Nederland (RVO).
