
Van Sasse van Ysseltstraat 18 is een adres in Vught, dat zich bevindt binnen de gemeentegrenzen van Vught en de grenzen van de provincie Noord-Brabant. De oppervlakte van het object bedraagt 47 m². Dat is klein vergeleken met het Nederlandse gemiddelde. Het perceel waarop het adres ligt is 1371 m² groot. De oppervlakte van dit adres is groot vergeleken met de oppervlaktes van andere adressen in de straat. De kleinste oppervlakte bedraagt er 5 m², de grootste 81 m². In het jaar 2024 is het pand waarin Van Sasse van Ysseltstraat 18 ligt gebouwd. Dat is relatief recent: de meeste gebouwen in Nederland zijn gebouwd in de periode 1965-1984. In de straat is dit het nieuwste pand en stamt het oudste object uit het jaar 2024. Het gemiddelde bouwjaar in de straat is 2024. Voor het verblijfsobject gelden deze gebruiksdoelen: 'woonfunctie'.
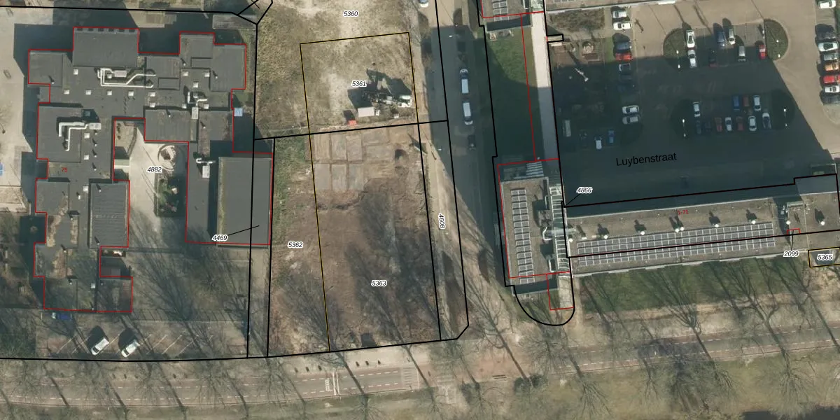
Het adres ligt op het perceel VUG00-D-5363, dat zich in de kadastrale gemeente Vught bevindt. De gemiddelde perceelgrootte in Vught is 2684,2 m². Dit perceel is kleiner: de perceeloppervlakte bedraagt 1371 m². De grootste perceeloppervlakte in de kadastrale gemeente is 65,7 ha. De kleinste oppervlakte bedraagt 0 m². Op het perceel zijn 53 adressen aanwezig. De huidige grenzen van het perceel zijn digitaal in de Basisregistratie Kadaster (BRK) geregistreerd op 03-04-2025.
Er is geen energielabel geregistreerd voor het adres. Het hoogste energielabel in de straat is G; het laagste is G. Het gemiddelde energielabel is er G. Het adres Van Sasse van Ysseltstraat 18 heeft als status: 'verblijfsobject gevormd'. Het pand waarin dit adres ligt heeft als status: 'bouw gestart'.
Van Sasse van Ysseltstraat 18 is een adres gelegen in de gemeente Vught, provincie Noord-Brabant. Dit adres is geregistreerd in de Basisregistratie Adressen en Gebouwen (BAG) met als unieke identificatie 0865010000120859.
Het pand op Van Sasse van Ysseltstraat 18 is gebouwd in 2024, wat betekent dat het 2 jaar oud is. Dit is een vrij nieuw pand. Het pand is dus waarschijnlijk goed geïsoleerd, geluidsdicht en voldoet aan de huidige bouwstandaarden. Op korte termijn zijn er waarschijnlijk weinig onderhoudskosten.
De woning op Van Sasse van Ysseltstraat 18 heeft een gebruiksoppervlakte van 47 m². Dit is relatief klein vergeleken met de gemiddelde Nederlandse woning, die een oppervlakte heeft van ongeveer 119 m². De gebruiksoppervlakte is de maat die wordt gebruikt in de BAG-registratie, de landelijke registratie van de Nederlandse overheid.
Van Sasse van Ysseltstraat 18 heeft als functie: wonen. Deze gebruiksfunctie(s) zijn vastgelegd in de BAG-registratie en geven aan waarvoor het adres officieel mag worden gebruikt.
Van Sasse van Ysseltstraat 18 is gelegen op kadastraal perceel VUG00D5363. Deze kadastrale aanduiding is uniek en wordt gebruikt door het Kadaster om eigendomsrechten en andere zakelijke rechten vast te leggen. Het perceel maakt onderdeel uit van de kadastrale gemeente Vught.
Het perceel waarop Van Sasse van Ysseltstraat 18 staat heeft een oppervlakte van 1371 m². Dit is een zeer groot perceel. De perceeloppervlakte wordt geregistreerd door het Kadaster. Gedetailleerde informatie over de maten van dit perceel kunt u vinden in het rapport Kadastrale kaart met maatvoering van Van Sasse van Ysseltstraat 18.
De eigenaar van Van Sasse van Ysseltstraat 18 is op te vragen op deze pagina.
De informatie over dit adres is afkomstig uit officiële overheidsregistraties, voornamelijk de Basisregistratie Adressen en Gebouwen (BAG) en de Basisregistratie Kadaster (BRK). Deze gegevens worden beheerd door respectievelijk gemeenten en het Kadaster, en worden regelmatig bijgewerkt. Energielabelgegevens komen uit de database van de Rijksdienst voor Ondernemend Nederland (RVO).
