
Middendorp 22 is een adres in Wachtum, dat zich bevindt binnen de gemeentegrenzen van Wachtum en de grenzen van de provincie Drenthe. De oppervlakte bedraagt 736 m², waarmee het adres groter dan gemiddeld is. De grootte van het perceel waarop het adres ligt is 2525 m². De oppervlakte van dit adres is groot vergeleken met de oppervlaktes van andere adressen in de straat. De kleinste oppervlakte bedraagt er 38 m², de grootste 1200 m². Middendorp 22 bevindt zich in een pand uit het jaar 1950. Daarmee behoort het tot de groep relatief oude panden in Nederland die gebouwd zijn vóór 1965. Veel andere gebouwen in de straat zijn ouder dan dit pand. Het oudste pand komt uit het jaar 1800 en het nieuwste uit 1975. De volgende gebruiksdoelen zijn geregistreerd voor dit adres: 'industriefunctie' en 'winkelfunctie'.
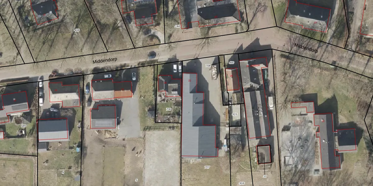
Het adres ligt op het perceel DLN00-H-707, dat zich in de kadastrale gemeente Dalen bevindt. Het perceel is 2525 m² groot. Dat is kleiner dan de gemiddelde perceeloppervlakte in Dalen, dat op 1,2 ha ligt. Het grootste perceel in de kadastrale gemeente is 66,8 ha. Het kleinste perceel heeft een oppervlakte van 0 m². Er zijn geen andere adressen aanwezig op het perceel. De huidige grenzen van het perceel zijn digitaal in de Basisregistratie Kadaster (BRK) geregistreerd op 25-10-2021.
Er is geen energielabel geregistreerd voor het adres. Het hoogste energielabel in de straat is B; het laagste is G. Het gemiddelde energielabel is er D. Het adres Middendorp 22 heeft als status: 'verblijfsobject in gebruik'. Het pand waarin dit adres ligt heeft als status: 'pand in gebruik'.
Middendorp 22 is een adres gelegen in de gemeente Coevorden, provincie Drenthe. Dit adres is geregistreerd in de Basisregistratie Adressen en Gebouwen (BAG) met als unieke identificatie 0109010000007519.
Het pand op Middendorp 22 is gebouwd in 1950, wat betekent dat het 76 jaar oud is. Dit is een ouder pand. Het pand heeft mogelijk aanzienlijke renovaties nodig om aan de huidige standaarden te voldoen.
De woning op Middendorp 22 heeft een gebruiksoppervlakte van 736 m². Dit is ruim vergeleken met de gemiddelde Nederlandse woning, die een oppervlakte heeft van ongeveer 119 m². De gebruiksoppervlakte is de maat die wordt gebruikt in de BAG-registratie, de landelijke registratie van de Nederlandse overheid.
Middendorp 22 heeft als functie: industrie en winkel/handel. Deze gebruiksfunctie(s) zijn vastgelegd in de BAG-registratie en geven aan waarvoor het adres officieel mag worden gebruikt.
Middendorp 22 is gelegen op kadastraal perceel DLN00H707. Deze kadastrale aanduiding is uniek en wordt gebruikt door het Kadaster om eigendomsrechten en andere zakelijke rechten vast te leggen. Het perceel maakt onderdeel uit van de kadastrale gemeente Dalen.
Het perceel waarop Middendorp 22 staat heeft een oppervlakte van 2525 m². Dit is een zeer groot perceel. De perceeloppervlakte wordt geregistreerd door het Kadaster. Gedetailleerde informatie over de maten van dit perceel kunt u vinden in het rapport Kadastrale kaart met maatvoering van Middendorp 22.
De eigenaar van Middendorp 22 is op te vragen op deze pagina.
De informatie over dit adres is afkomstig uit officiële overheidsregistraties, voornamelijk de Basisregistratie Adressen en Gebouwen (BAG) en de Basisregistratie Kadaster (BRK). Deze gegevens worden beheerd door respectievelijk gemeenten en het Kadaster, en worden regelmatig bijgewerkt. Energielabelgegevens komen uit de database van de Rijksdienst voor Ondernemend Nederland (RVO).
