Noordeinde 121 is gelegen in de plaats Waddinxveen, de gemeente Waddinxveen en de provincie Zuid-Holland. Het verblijfsobject is vergeleken met het Nederlandse gemiddelde aan de kleine kant: de oppervlakte is 82 m². Het perceel waarop het adres zich bevindt heeft een oppervlakte van 550 m². Het adres is klein vergeleken met andere objecten in de straat. Het grootste object in de straat heeft een oppervlakte van 1166 m², het kleinste is 62 m² groot. Het adres Noordeinde 121 ligt in een relatief oud pand uit het jaar 1899. Panden van vóór het jaar 1965 hebben we hier geclassificeerd als oud. Het nieuwste gebouw in de straat komt uit 2026 en het oudste uit 1765. Dit object is relatief oud. Voor het verblijfsobject gelden deze gebruiksdoelen: 'woonfunctie'.
Deze woning is voor het laatst verkocht op 1 mei 2024. Meer informatie over deze transactie? Bestel het Woningtransactierapport om de verkoopprijs en andere informatie te zien.
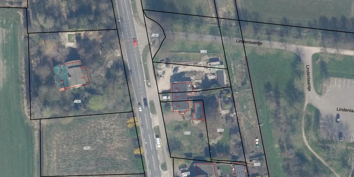
Het adres ligt op het perceel WDV01-B-6115, dat zich in de kadastrale gemeente Waddinxveen bevindt. De gemiddelde perceelgrootte in Waddinxveen is 2165,17 m². Dit perceel is kleiner: de perceeloppervlakte bedraagt 550 m². De grootste perceeloppervlakte in de kadastrale gemeente is 49,8 ha. De kleinste oppervlakte bedraagt 0 m². Op het perceel bevinden zich geen andere adressen. De laatste wijziging in het de Basisregistratie Kadaster (BRK) was op 05-02-1998.
Het adres ligt in een gebouw van het type 'rijwoning hoek'. Bij de laatste meting is voor het adres het energielabel E geregistreerd. Het hoogste energielabel in de straat is A+++; het laagste is G. Het gemiddelde energielabel is er D. Het adres Noordeinde 121 heeft als status: 'verblijfsobject in gebruik'. Het pand waarin dit adres ligt heeft als status: 'pand in gebruik'.
Noordeinde 121 is een adres gelegen in de gemeente Waddinxveen, provincie Zuid-Holland. Dit adres is geregistreerd in de Basisregistratie Adressen en Gebouwen (BAG) met als unieke identificatie 0627010000008909.
Het pand op Noordeinde 121 is gebouwd in 1899, wat betekent dat het 127 jaar oud is. Dit is een ouder pand. Het pand heeft mogelijk aanzienlijke renovaties nodig om aan de huidige standaarden te voldoen.
De woning op Noordeinde 121 heeft een gebruiksoppervlakte van 82 m². Dit is onder het gemiddelde vergeleken met de gemiddelde Nederlandse woning, die een oppervlakte heeft van ongeveer 119 m². De gebruiksoppervlakte is de maat die wordt gebruikt in de BAG-registratie, de landelijke registratie van de Nederlandse overheid.
Noordeinde 121 heeft als functie: wonen. Deze gebruiksfunctie(s) zijn vastgelegd in de BAG-registratie en geven aan waarvoor het adres officieel mag worden gebruikt.
Noordeinde 121 is gelegen op kadastraal perceel WDV01B6115. Deze kadastrale aanduiding is uniek en wordt gebruikt door het Kadaster om eigendomsrechten en andere zakelijke rechten vast te leggen. Het perceel maakt onderdeel uit van de kadastrale gemeente Waddinxveen.
Het perceel waarop Noordeinde 121 staat heeft een oppervlakte van 550 m². Dit is een groot perceel. De perceeloppervlakte wordt geregistreerd door het Kadaster. Gedetailleerde informatie over de maten van dit perceel kunt u vinden in het rapport Kadastrale kaart met maatvoering van Noordeinde 121.
De eigenaar van Noordeinde 121 is op te vragen op deze pagina
De informatie over dit adres is afkomstig uit officiële overheidsregistraties, voornamelijk de Basisregistratie Adressen en Gebouwen (BAG) en de Basisregistratie Kadaster (BRK). Deze gegevens worden beheerd door respectievelijk gemeenten en het Kadaster, en worden regelmatig bijgewerkt. Energielabelgegevens komen uit de database van de Rijksdienst voor Ondernemend Nederland (RVO).
