
Warder 170-a is een adres in Warder, dat zich bevindt binnen de gemeentegrenzen van Warder en de grenzen van de provincie Noord-Holland. De oppervlakte van het verblijfsobject is met 435 m² aan de grote kant. Het perceel heeft een oppervlakte van 1610 m². De oppervlakte van dit adres is groot vergeleken met de oppervlaktes van andere adressen in de straat. De kleinste oppervlakte bedraagt er 21 m², de grootste 2298 m². In het jaar 2005 is het pand waarin Warder 170-a ligt gebouwd. Dat is relatief recent: de meeste gebouwen in Nederland zijn gebouwd in de periode 1965-1984. Dit object is relatief nieuw in de straat. Het nieuwste gebouw komt er uit het jaar 2025 en het oudste uit het jaar 1811. De volgende gebruiksdoelen zijn geregistreerd voor dit adres: 'industriefunctie'.
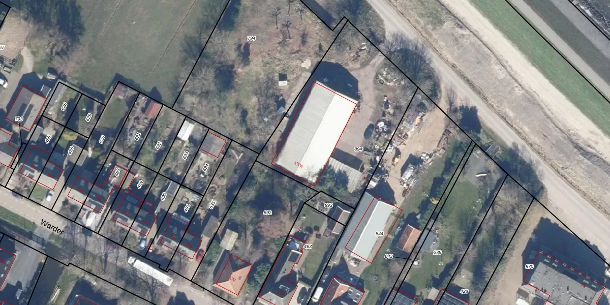
Het adres ligt op het perceel WDR01-C-894, dat zich in de kadastrale gemeente Warder bevindt. Het perceel is 1610 m² groot. Dat is kleiner dan de gemiddelde perceeloppervlakte in Warder, dat op 1,2 ha ligt. De grootste perceeloppervlakte in de kadastrale gemeente is 19,4 ha. De kleinste oppervlakte bedraagt 1 m². Op het perceel bevinden zich geen andere adressen. De huidige grenzen van het perceel zijn digitaal in de Basisregistratie Kadaster (BRK) geregistreerd op 06-08-2002.
Er is geen energielabel geregistreerd voor het adres. Het hoogste energielabel in de straat is A++++; het laagste is G. Het gemiddelde energielabel is er C. Het adres Warder 170-a heeft als status: 'verblijfsobject in gebruik'. Het pand waarin dit adres ligt heeft als status: 'pand in gebruik'.
Warder 170-a is een adres gelegen in de gemeente Edam-Volendam, provincie Noord-Holland. Dit adres is geregistreerd in de Basisregistratie Adressen en Gebouwen (BAG) met als unieke identificatie 0478010000001138.
Het pand op Warder 170-a is gebouwd in 2005, wat betekent dat het 21 jaar oud is. Dit is een relatief modern pand. Ten opzichte van de nationale woningvoorraad is het pand relatief modern, maar er kunnen enkele verouderde elementen zijn die aandacht nodig hebben.
De woning op Warder 170-a heeft een gebruiksoppervlakte van 435 m². Dit is ruim vergeleken met de gemiddelde Nederlandse woning, die een oppervlakte heeft van ongeveer 119 m². De gebruiksoppervlakte is de maat die wordt gebruikt in de BAG-registratie, de landelijke registratie van de Nederlandse overheid.
Warder 170-a heeft als functie: industrie. Deze gebruiksfunctie(s) zijn vastgelegd in de BAG-registratie en geven aan waarvoor het adres officieel mag worden gebruikt.
Warder 170-a is gelegen op kadastraal perceel WDR01C894. Deze kadastrale aanduiding is uniek en wordt gebruikt door het Kadaster om eigendomsrechten en andere zakelijke rechten vast te leggen. Het perceel maakt onderdeel uit van de kadastrale gemeente Warder.
Het perceel waarop Warder 170-a staat heeft een oppervlakte van 1610 m². Dit is een zeer groot perceel. De perceeloppervlakte wordt geregistreerd door het Kadaster. Gedetailleerde informatie over de maten van dit perceel kunt u vinden in het rapport Kadastrale kaart met maatvoering van Warder 170-a.
De eigenaar van Warder 170-a is op te vragen op deze pagina.
De informatie over dit adres is afkomstig uit officiële overheidsregistraties, voornamelijk de Basisregistratie Adressen en Gebouwen (BAG) en de Basisregistratie Kadaster (BRK). Deze gegevens worden beheerd door respectievelijk gemeenten en het Kadaster, en worden regelmatig bijgewerkt. Energielabelgegevens komen uit de database van de Rijksdienst voor Ondernemend Nederland (RVO).
