
Kerkhofweg 8 is gelegen in de plaats Warnsveld, de gemeente Zutphen en de provincie Gelderland. Het perceel waarop het adres gelegen is heeft een oppervlakte van 1030 m². Het verblijfsobject is met 97 m² relatief klein. Er zijn geen kleinere objecten in deze straat. De gemiddelde oppervlakte is er 252 m². Het grootste verblijfsobject is 695 m². Het gebouw waarin Kerkhofweg 8 ligt komt uit het jaar 1935. Objecten die gebouwd zijn vóór 1965 classificeren we hier als oud. Het bouwjaar is oud vergeleken met dat van de andere panden in de straat. Het oudste bouwjaar is er 1888 en de nieuwste is 2025. Het verblijfsobject heeft de volgende gebruiksdoelen: 'woonfunctie'.
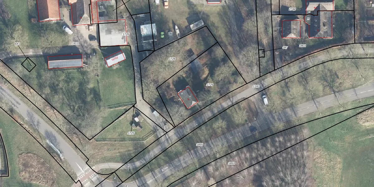
Het adres ligt op het perceel WVD00-L-1729, dat zich in de kadastrale gemeente Warnsveld bevindt. Het perceel is kleiner dan gemiddeld in Warnsveld. Het perceel is 1030 m² groot, terwijl het gemiddelde ligt op 3798,34 m². Het kleinste perceel in de kadastrale gemeente is 0 m² groot. De grootste perceeloppervlakte is 61,9 ha. Dit is het enige adres dat aanwezig is op het perceel. De laatste wijziging in het de Basisregistratie Kadaster (BRK) was op 17-08-2006.
Er is geen energielabel geregistreerd voor het adres. Het hoogste energielabel in de straat is A; het laagste is G. Het gemiddelde energielabel is er B. Het adres Kerkhofweg 8 heeft als status: 'verblijfsobject in gebruik'. Het pand waarin dit adres ligt heeft als status: 'pand in gebruik'.
Kerkhofweg 8 is een adres gelegen in de gemeente Zutphen, provincie Gelderland. Dit adres is geregistreerd in de Basisregistratie Adressen en Gebouwen (BAG) met als unieke identificatie 0301010000004675.
Het pand op Kerkhofweg 8 is gebouwd in 1935, wat betekent dat het 91 jaar oud is. Dit is een ouder pand. Het pand heeft mogelijk aanzienlijke renovaties nodig om aan de huidige standaarden te voldoen.
De woning op Kerkhofweg 8 heeft een gebruiksoppervlakte van 97 m². Dit is onder het gemiddelde vergeleken met de gemiddelde Nederlandse woning, die een oppervlakte heeft van ongeveer 119 m². De gebruiksoppervlakte is de maat die wordt gebruikt in de BAG-registratie, de landelijke registratie van de Nederlandse overheid.
Kerkhofweg 8 heeft als functie: wonen. Deze gebruiksfunctie(s) zijn vastgelegd in de BAG-registratie en geven aan waarvoor het adres officieel mag worden gebruikt.
Kerkhofweg 8 is gelegen op kadastraal perceel WVD00L1729. Deze kadastrale aanduiding is uniek en wordt gebruikt door het Kadaster om eigendomsrechten en andere zakelijke rechten vast te leggen. Het perceel maakt onderdeel uit van de kadastrale gemeente Warnsveld.
Het perceel waarop Kerkhofweg 8 staat heeft een oppervlakte van 1030 m². Dit is een zeer groot perceel. De perceeloppervlakte wordt geregistreerd door het Kadaster. Gedetailleerde informatie over de maten van dit perceel kunt u vinden in het rapport Kadastrale kaart met maatvoering van Kerkhofweg 8.
De eigenaar van Kerkhofweg 8 is op te vragen op deze pagina.
De informatie over dit adres is afkomstig uit officiële overheidsregistraties, voornamelijk de Basisregistratie Adressen en Gebouwen (BAG) en de Basisregistratie Kadaster (BRK). Deze gegevens worden beheerd door respectievelijk gemeenten en het Kadaster, en worden regelmatig bijgewerkt. Energielabelgegevens komen uit de database van de Rijksdienst voor Ondernemend Nederland (RVO).
