
Keenterstraat 29 is gelegen in de plaats Weert, de gemeente Weert en de provincie Limburg. De oppervlakte bedraagt 267 m², waarmee het adres groter dan gemiddeld is. De grootte van het perceel waarop het adres ligt is 4820 m². De oppervlakte van dit adres is groot vergeleken met de oppervlaktes van andere adressen in de straat. De kleinste oppervlakte bedraagt er 6 m², de grootste 1603 m². De meeste Nederlandse gebouwen zijn gebouwd in de periode 1965-1984. Zo ook het pand waarin Keenterstraat 29 ligt, dat gebouwd is in 1978. Veel andere gebouwen in de straat zijn ouder dan dit pand. Het oudste pand komt uit het jaar 1860 en het nieuwste uit 2020. Voor het verblijfsobject gelden deze gebruiksdoelen: 'woonfunctie'.
Deze woning is voor het laatst verkocht op 1 maart 2023. Meer informatie over deze transactie? Bestel het Woningtransactierapport om de verkoopprijs en andere informatie te zien.
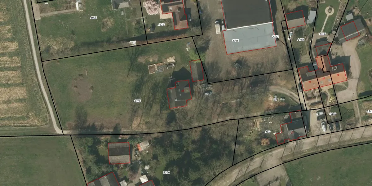
Het adres ligt op het perceel WEE01-R-3376, dat zich in de kadastrale gemeente Weert bevindt. Het perceel is met 4820 m² relatief groot. Het gemiddelde ligt in de kadastrale gemeente Weert op 3768,68 m². De grootste perceeloppervlakte in de kadastrale gemeente is 3,08 km². De kleinste oppervlakte bedraagt 0 m². Er zijn geen andere adressen aanwezig op het perceel. De laatste wijziging in het de Basisregistratie Kadaster (BRK) was op 24-07-2012.
Het adres ligt in een gebouw van het type 'vrijstaande woning'. Bij de laatste meting is voor het adres het energielabel C geregistreerd. Het hoogste energielabel in de straat is A++++; het laagste is G. Het gemiddelde energielabel is er D. Het adres Keenterstraat 29 heeft als status: 'verblijfsobject in gebruik'. Het pand waarin dit adres ligt heeft als status: 'pand in gebruik'.
Keenterstraat 29 is een adres gelegen in de gemeente Weert, provincie Limburg. Dit adres is geregistreerd in de Basisregistratie Adressen en Gebouwen (BAG) met als unieke identificatie 0988010000002083.
Het pand op Keenterstraat 29 is gebouwd in 1978, wat betekent dat het 48 jaar oud is. Dit is een pand van middelbare leeftijd. Het pand is van gemiddelde leeftijd en zal waarschijnlijk verouderde elementen bevatten.
De woning op Keenterstraat 29 heeft een gebruiksoppervlakte van 267 m². Dit is ruim vergeleken met de gemiddelde Nederlandse woning, die een oppervlakte heeft van ongeveer 119 m². De gebruiksoppervlakte is de maat die wordt gebruikt in de BAG-registratie, de landelijke registratie van de Nederlandse overheid.
Keenterstraat 29 heeft als functie: wonen. Deze gebruiksfunctie(s) zijn vastgelegd in de BAG-registratie en geven aan waarvoor het adres officieel mag worden gebruikt.
Keenterstraat 29 is gelegen op kadastraal perceel WEE01R3376. Deze kadastrale aanduiding is uniek en wordt gebruikt door het Kadaster om eigendomsrechten en andere zakelijke rechten vast te leggen. Het perceel maakt onderdeel uit van de kadastrale gemeente Weert.
Het perceel waarop Keenterstraat 29 staat heeft een oppervlakte van 4820 m². Dit is een zeer groot perceel. De perceeloppervlakte wordt geregistreerd door het Kadaster. Gedetailleerde informatie over de maten van dit perceel kunt u vinden in het rapport Kadastrale kaart met maatvoering van Keenterstraat 29.
De eigenaar van Keenterstraat 29 is op te vragen op deze pagina
De informatie over dit adres is afkomstig uit officiële overheidsregistraties, voornamelijk de Basisregistratie Adressen en Gebouwen (BAG) en de Basisregistratie Kadaster (BRK). Deze gegevens worden beheerd door respectievelijk gemeenten en het Kadaster, en worden regelmatig bijgewerkt. Energielabelgegevens komen uit de database van de Rijksdienst voor Ondernemend Nederland (RVO).
