
Louise de Colignystraat 76 is een adres in Weert, dat zich bevindt binnen de gemeentegrenzen van Weert en de grenzen van de provincie Limburg. De oppervlakte van het object bedraagt 72 m². Dat is klein vergeleken met het Nederlandse gemiddelde. Het perceel waarop het adres ligt is 4188 m² groot. In de straat is dit het kleinste object. Het grootste verblijfsobject heeft een oppervlakte van 136 m². De gemiddelde grootte is er 76 m². Louise de Colignystraat 76 bevindt zich in een pand uit het jaar 1963. Daarmee behoort het tot de groep relatief oude panden in Nederland die gebouwd zijn vóór 1965. Dit is het oudste object in de straat. Het nieuwste pand komt uit 1964 en het gemiddelde bouwjaar in de straat is 1963. Voor het verblijfsobject gelden deze gebruiksdoelen: 'woonfunctie'.
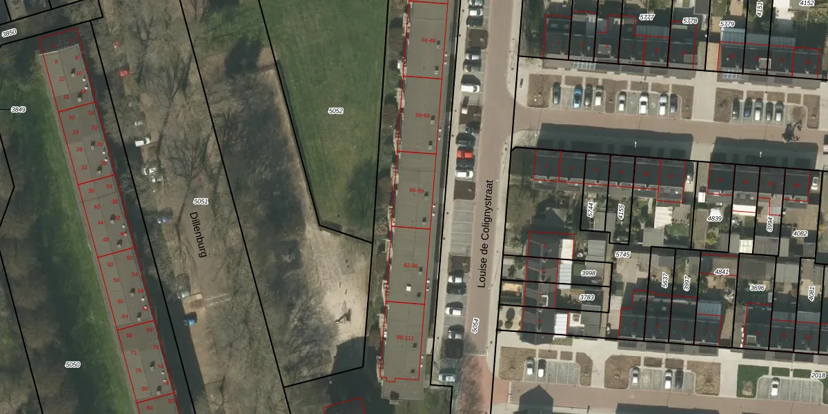
Het perceel waarop het adres ligt is WEE01-S-5053. De afkorting 'WEE01' staat voor kadastrale gemeente Weert. Het perceel is met 4188 m² relatief groot. Het gemiddelde ligt in de kadastrale gemeente Weert op 3764,43 m². Het grootste perceel in de kadastrale gemeente is 3,08 km². Het kleinste perceel heeft een oppervlakte van 0 m². Op het perceel zijn 80 adressen aanwezig. De huidige grenzen van het perceel zijn digitaal in de Basisregistratie Kadaster (BRK) geregistreerd op 22-05-2007.
Het adres ligt in een gebouw van het type 'flatwoning (overig) met het subtype tussenmidden'. Bij de laatste meting is voor het adres het energielabel B geregistreerd. Het hoogste energielabel in de straat is A; het laagste is G. Het gemiddelde energielabel is er B. Het adres Louise de Colignystraat 76 heeft als status: 'verblijfsobject in gebruik'. Het pand waarin dit adres ligt heeft als status: 'pand in gebruik'.
Louise de Colignystraat 76 is een adres gelegen in de gemeente Weert, provincie Limburg. Dit adres is geregistreerd in de Basisregistratie Adressen en Gebouwen (BAG) met als unieke identificatie 0988010000004137.
Het pand op Louise de Colignystraat 76 is gebouwd in 1963, wat betekent dat het 63 jaar oud is. Dit is een ouder pand. Het pand heeft mogelijk aanzienlijke renovaties nodig om aan de huidige standaarden te voldoen.
De woning op Louise de Colignystraat 76 heeft een gebruiksoppervlakte van 72 m². Dit is relatief klein vergeleken met de gemiddelde Nederlandse woning, die een oppervlakte heeft van ongeveer 119 m². De gebruiksoppervlakte is de maat die wordt gebruikt in de BAG-registratie, de landelijke registratie van de Nederlandse overheid.
Louise de Colignystraat 76 heeft als functie: wonen. Deze gebruiksfunctie(s) zijn vastgelegd in de BAG-registratie en geven aan waarvoor het adres officieel mag worden gebruikt.
Louise de Colignystraat 76 is gelegen op kadastraal perceel WEE01S5053. Deze kadastrale aanduiding is uniek en wordt gebruikt door het Kadaster om eigendomsrechten en andere zakelijke rechten vast te leggen. Het perceel maakt onderdeel uit van de kadastrale gemeente Weert.
Het perceel waarop Louise de Colignystraat 76 staat heeft een oppervlakte van 4188 m². Dit is een zeer groot perceel. De perceeloppervlakte wordt geregistreerd door het Kadaster. Gedetailleerde informatie over de maten van dit perceel kunt u vinden in het rapport Kadastrale kaart met maatvoering van Louise de Colignystraat 76.
De eigenaar van Louise de Colignystraat 76 is op te vragen op deze pagina.
De informatie over dit adres is afkomstig uit officiële overheidsregistraties, voornamelijk de Basisregistratie Adressen en Gebouwen (BAG) en de Basisregistratie Kadaster (BRK). Deze gegevens worden beheerd door respectievelijk gemeenten en het Kadaster, en worden regelmatig bijgewerkt. Energielabelgegevens komen uit de database van de Rijksdienst voor Ondernemend Nederland (RVO).
