
Slachterijstraat 11 is een adres in Weert, dat zich bevindt binnen de gemeentegrenzen van Weert en de grenzen van de provincie Limburg. De oppervlakte bedraagt 588 m², waarmee het adres groter dan gemiddeld is. De grootte van het perceel waarop het adres ligt is 2316 m². In de straat is dit het adres met de grootste oppervlakte. De objecten in de straat zijn gemiddeld 302 m² groot. Het kleinste verblijfsobject heeft een oppervlakte van 16 m². Het pand waarin Slachterijstraat 11 ligt is gebouwd in het jaar 1992. Panden die gebouwd zijn na het jaar 1984 noemen we hier relatief nieuw. In de straat is dit het nieuwste pand en stamt het oudste object uit het jaar 1991. Het gemiddelde bouwjaar in de straat is 1992. Voor het verblijfsobject gelden deze gebruiksdoelen: 'industriefunctie'.
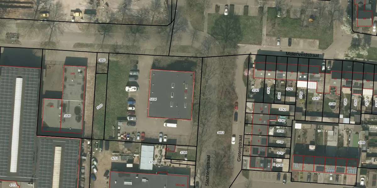
Het perceel waarop het adres ligt is WEE01-R-5334. De afkorting 'WEE01' staat voor kadastrale gemeente Weert. De gemiddelde perceelgrootte in Weert is 3764,43 m². Dit perceel is kleiner: de perceeloppervlakte bedraagt 2316 m². Het kleinste perceel in de kadastrale gemeente is 0 m² groot. De grootste perceeloppervlakte is 3,08 km². Er zijn geen andere adressen aanwezig op het perceel. De huidige grenzen van het perceel zijn digitaal in de Basisregistratie Kadaster (BRK) geregistreerd op 02-02-2023.
Er is geen energielabel geregistreerd voor het adres. Het hoogste energielabel in de straat is G; het laagste is G. Het gemiddelde energielabel is er G. Het adres Slachterijstraat 11 heeft als status: 'verblijfsobject in gebruik'. Het pand waarin dit adres ligt heeft als status: 'pand in gebruik'.
Slachterijstraat 11 is een adres gelegen in de gemeente Weert, provincie Limburg. Dit adres is geregistreerd in de Basisregistratie Adressen en Gebouwen (BAG) met als unieke identificatie 0988010000017647.
Het pand op Slachterijstraat 11 is gebouwd in 1992, wat betekent dat het 34 jaar oud is. Dit is een pand van middelbare leeftijd. Het pand is van gemiddelde leeftijd en zal waarschijnlijk verouderde elementen bevatten.
De woning op Slachterijstraat 11 heeft een gebruiksoppervlakte van 588 m². Dit is ruim vergeleken met de gemiddelde Nederlandse woning, die een oppervlakte heeft van ongeveer 119 m². De gebruiksoppervlakte is de maat die wordt gebruikt in de BAG-registratie, de landelijke registratie van de Nederlandse overheid.
Slachterijstraat 11 heeft als functie: industrie. Deze gebruiksfunctie(s) zijn vastgelegd in de BAG-registratie en geven aan waarvoor het adres officieel mag worden gebruikt.
Slachterijstraat 11 is gelegen op kadastraal perceel WEE01R5334. Deze kadastrale aanduiding is uniek en wordt gebruikt door het Kadaster om eigendomsrechten en andere zakelijke rechten vast te leggen. Het perceel maakt onderdeel uit van de kadastrale gemeente Weert.
Het perceel waarop Slachterijstraat 11 staat heeft een oppervlakte van 2316 m². Dit is een zeer groot perceel. De perceeloppervlakte wordt geregistreerd door het Kadaster. Gedetailleerde informatie over de maten van dit perceel kunt u vinden in het rapport Kadastrale kaart met maatvoering van Slachterijstraat 11.
De eigenaar van Slachterijstraat 11 is op te vragen op deze pagina.
De informatie over dit adres is afkomstig uit officiële overheidsregistraties, voornamelijk de Basisregistratie Adressen en Gebouwen (BAG) en de Basisregistratie Kadaster (BRK). Deze gegevens worden beheerd door respectievelijk gemeenten en het Kadaster, en worden regelmatig bijgewerkt. Energielabelgegevens komen uit de database van de Rijksdienst voor Ondernemend Nederland (RVO).
