
Heust 20 is een adres in Well, dat zich bevindt binnen de gemeentegrenzen van Well en de grenzen van de provincie Gelderland. Het object heeft een oppervlakte van 239 m², wat relatief groot is. Het perceel waarop het adres ligt is 1250 m² groot. Het adres is klein vergeleken met andere objecten in de straat. Het grootste object in de straat heeft een oppervlakte van 862 m², het kleinste is 21 m² groot. Heust 20 ligt in een gebouw uit het jaar 2024. Daarmee behoort het tot de groep panden van na 1984, die we als relatief nieuw bestempelen. Vergeleken met de andere panden in de straat is dit gebouw nieuw. Het vroegste bouwjaar is er 1650 en het laatste is 2026. De volgende gebruiksdoelen zijn geregistreerd voor dit adres: 'woonfunctie'.
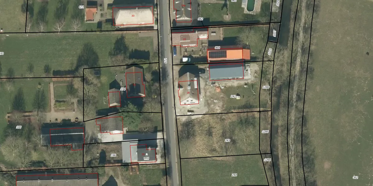
Het adres ligt op het perceel AMZ00-H-242, dat zich in de kadastrale gemeente Ammerzoden bevindt. Het perceel is 1250 m² groot. Dat is kleiner dan de gemiddelde perceeloppervlakte in Ammerzoden, dat op 3007,59 m² ligt. Het grootste perceel in de kadastrale gemeente is 20,4 ha. Het kleinste perceel heeft een oppervlakte van 0 m². Dit is het enige adres dat aanwezig is op het perceel. De huidige grenzen van het perceel zijn digitaal in de Basisregistratie Kadaster (BRK) geregistreerd op 21-01-2002.
Er is geen energielabel geregistreerd voor het adres. Het hoogste energielabel in de straat is A+; het laagste is G. Het gemiddelde energielabel is er C. Het adres Heust 20 heeft als status: 'verblijfsobject in gebruik'. Het pand waarin dit adres ligt heeft als status: 'pand in gebruik'.
Heust 20 is een adres gelegen in de gemeente Maasdriel, provincie Gelderland. Dit adres is geregistreerd in de Basisregistratie Adressen en Gebouwen (BAG) met als unieke identificatie 0263010000013488.
Het pand op Heust 20 is gebouwd in 2024, wat betekent dat het 2 jaar oud is. Dit is een vrij nieuw pand. Het pand is dus waarschijnlijk goed geïsoleerd, geluidsdicht en voldoet aan de huidige bouwstandaarden. Op korte termijn zijn er waarschijnlijk weinig onderhoudskosten.
De woning op Heust 20 heeft een gebruiksoppervlakte van 239 m². Dit is ruim vergeleken met de gemiddelde Nederlandse woning, die een oppervlakte heeft van ongeveer 119 m². De gebruiksoppervlakte is de maat die wordt gebruikt in de BAG-registratie, de landelijke registratie van de Nederlandse overheid.
Heust 20 heeft als functie: wonen. Deze gebruiksfunctie(s) zijn vastgelegd in de BAG-registratie en geven aan waarvoor het adres officieel mag worden gebruikt.
Heust 20 is gelegen op kadastraal perceel AMZ00H242. Deze kadastrale aanduiding is uniek en wordt gebruikt door het Kadaster om eigendomsrechten en andere zakelijke rechten vast te leggen. Het perceel maakt onderdeel uit van de kadastrale gemeente Ammerzoden.
Het perceel waarop Heust 20 staat heeft een oppervlakte van 1250 m². Dit is een zeer groot perceel. De perceeloppervlakte wordt geregistreerd door het Kadaster. Gedetailleerde informatie over de maten van dit perceel kunt u vinden in het rapport Kadastrale kaart met maatvoering van Heust 20.
De eigenaar van Heust 20 is op te vragen op deze pagina.
De informatie over dit adres is afkomstig uit officiële overheidsregistraties, voornamelijk de Basisregistratie Adressen en Gebouwen (BAG) en de Basisregistratie Kadaster (BRK). Deze gegevens worden beheerd door respectievelijk gemeenten en het Kadaster, en worden regelmatig bijgewerkt. Energielabelgegevens komen uit de database van de Rijksdienst voor Ondernemend Nederland (RVO).
