
Het adres Schilderinklaan 5 bevindt zich in de plaats Westendorp, in de gemeente Westendorp en de provincie Gelderland. Het perceel waarop het adres gelegen is heeft een oppervlakte van 1740 m². Het verblijfsobject is met 68 m² relatief klein. De oppervlakte van het adres is klein vergeleken met de andere objecten in de straat. De oppervlakte van het kleinste object in de straat bedraagt 63 m², terwijl het grootste object 553 m² groot is. De meeste Nederlandse gebouwen zijn gebouwd in de periode 1965-1984. Zo ook het pand waarin Schilderinklaan 5 ligt, dat gebouwd is in 1970. Vergeleken met de andere panden in de straat is dit gebouw nieuw. Het vroegste bouwjaar is er 1928 en het laatste is 2018. Het verblijfsobject heeft de volgende gebruiksdoelen: 'logiesfunctie'.
Deze woning is voor het laatst verkocht op 1 juli 2009. Meer informatie over deze transactie? Bestel het Woningtransactierapport om de verkoopprijs en andere informatie te zien.
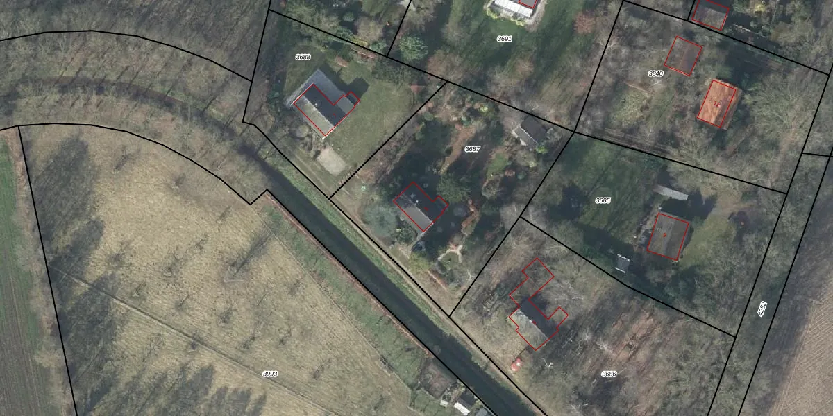
Het adres is gelegen op perceel 3687 in de sectie E en de kadastrale gemeente Varsseveld. De kadastrale aanduiding is aldus VSV00-E-3687. Het perceel is kleiner dan gemiddeld in Varsseveld. Het perceel is 1740 m² groot, terwijl het gemiddelde ligt op 5715,81 m². De grootste perceeloppervlakte in de kadastrale gemeente is 29,0 ha. De kleinste oppervlakte bedraagt 0 m². Dit is het enige adres dat aanwezig is op het perceel. In de Basisregistratie Kadaster (BRK) werden de grenzen van het perceel geregistreerd op 02-03-2001.
Er is geen energielabel geregistreerd voor het adres. Het hoogste energielabel in de straat is D; het laagste is G. Het gemiddelde energielabel is er E. Het adres Schilderinklaan 5 heeft als status: 'verblijfsobject in gebruik'. Het pand waarin dit adres ligt heeft als status: 'pand in gebruik'.
Schilderinklaan 5 is een adres gelegen in de gemeente Oude IJsselstreek, provincie Gelderland. Dit adres is geregistreerd in de Basisregistratie Adressen en Gebouwen (BAG) met als unieke identificatie 1509010000231132.
Het pand op Schilderinklaan 5 is gebouwd in 1970, wat betekent dat het 56 jaar oud is. Dit is een ouder pand. Het pand heeft mogelijk aanzienlijke renovaties nodig om aan de huidige standaarden te voldoen.
De woning op Schilderinklaan 5 heeft een gebruiksoppervlakte van 68 m². Dit is relatief klein vergeleken met de gemiddelde Nederlandse woning, die een oppervlakte heeft van ongeveer 119 m². De gebruiksoppervlakte is de maat die wordt gebruikt in de BAG-registratie, de landelijke registratie van de Nederlandse overheid.
Schilderinklaan 5 heeft als functie: logies/verblijf. Deze gebruiksfunctie(s) zijn vastgelegd in de BAG-registratie en geven aan waarvoor het adres officieel mag worden gebruikt.
Schilderinklaan 5 is gelegen op kadastraal perceel VSV00E3687. Deze kadastrale aanduiding is uniek en wordt gebruikt door het Kadaster om eigendomsrechten en andere zakelijke rechten vast te leggen. Het perceel maakt onderdeel uit van de kadastrale gemeente Varsseveld.
Het perceel waarop Schilderinklaan 5 staat heeft een oppervlakte van 1740 m². Dit is een zeer groot perceel. De perceeloppervlakte wordt geregistreerd door het Kadaster. Gedetailleerde informatie over de maten van dit perceel kunt u vinden in het rapport Kadastrale kaart met maatvoering van Schilderinklaan 5.
De eigenaar van Schilderinklaan 5 is op te vragen op deze pagina.
De informatie over dit adres is afkomstig uit officiële overheidsregistraties, voornamelijk de Basisregistratie Adressen en Gebouwen (BAG) en de Basisregistratie Kadaster (BRK). Deze gegevens worden beheerd door respectievelijk gemeenten en het Kadaster, en worden regelmatig bijgewerkt. Energielabelgegevens komen uit de database van de Rijksdienst voor Ondernemend Nederland (RVO).
