
Hexelseweg 48 is een adres in Wierden, dat zich bevindt binnen de gemeentegrenzen van Wierden en de grenzen van de provincie Overijssel. De oppervlakte van het verblijfsobject is met 587 m² aan de grote kant. Het perceel heeft een oppervlakte van 1,0 ha. Vergeleken met de andere verblijfsobjecten in de straat is dit object groot. De oppervlakte van het grootste object in de straat is 1411 m², die van het kleinste bedraagt 8 m². Hexelseweg 48 bevindt zich in een pand uit het jaar 1963. Daarmee behoort het tot de groep relatief oude panden in Nederland die gebouwd zijn vóór 1965. Dit object is relatief nieuw in de straat. Het nieuwste gebouw komt er uit het jaar 2025 en het oudste uit het jaar 1920. Het verblijfsobject heeft de volgende gebruiksdoelen: 'woonfunctie'.
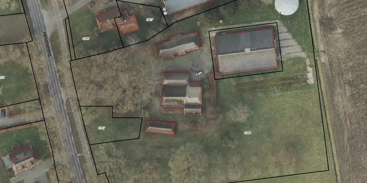
Het adres is gelegen op perceel 2396 in de sectie N en de kadastrale gemeente Wierden. De kadastrale aanduiding is aldus WDN02-N-2396. De gemiddelde perceeloppervlakte in de kadastrale gemeente Wierden is 5336,12 m². Dit perceel is met zijn 1,0 ha dus groter dan gemiddeld. Het grootste perceel in de kadastrale gemeente is 1,19 km². Het kleinste perceel heeft een oppervlakte van 0 m². Op het perceel bevinden zich geen andere adressen. De huidige grenzen van het perceel zijn digitaal in de Basisregistratie Kadaster (BRK) geregistreerd op 08-12-2014.
Er is geen energielabel geregistreerd voor het adres. Het hoogste energielabel in de straat is A+++; het laagste is G. Het gemiddelde energielabel is er C. Het adres Hexelseweg 48 heeft als status: 'verblijfsobject in gebruik'. Het pand waarin dit adres ligt heeft als status: 'pand in gebruik'.
Hexelseweg 48 is een adres gelegen in de gemeente Wierden, provincie Overijssel. Dit adres is geregistreerd in de Basisregistratie Adressen en Gebouwen (BAG) met als unieke identificatie 0189010000000028.
Het pand op Hexelseweg 48 is gebouwd in 1963, wat betekent dat het 63 jaar oud is. Dit is een ouder pand. Het pand heeft mogelijk aanzienlijke renovaties nodig om aan de huidige standaarden te voldoen.
De woning op Hexelseweg 48 heeft een gebruiksoppervlakte van 587 m². Dit is ruim vergeleken met de gemiddelde Nederlandse woning, die een oppervlakte heeft van ongeveer 119 m². De gebruiksoppervlakte is de maat die wordt gebruikt in de BAG-registratie, de landelijke registratie van de Nederlandse overheid.
Hexelseweg 48 heeft als functie: wonen. Deze gebruiksfunctie(s) zijn vastgelegd in de BAG-registratie en geven aan waarvoor het adres officieel mag worden gebruikt.
Hexelseweg 48 is gelegen op kadastraal perceel WDN02N2396. Deze kadastrale aanduiding is uniek en wordt gebruikt door het Kadaster om eigendomsrechten en andere zakelijke rechten vast te leggen. Het perceel maakt onderdeel uit van de kadastrale gemeente Wierden.
Het perceel waarop Hexelseweg 48 staat heeft een oppervlakte van 1,0 ha. Dit is een zeer groot perceel. De perceeloppervlakte wordt geregistreerd door het Kadaster. Gedetailleerde informatie over de maten van dit perceel kunt u vinden in het rapport Kadastrale kaart met maatvoering van Hexelseweg 48.
De eigenaar van Hexelseweg 48 is op te vragen op deze pagina.
De informatie over dit adres is afkomstig uit officiële overheidsregistraties, voornamelijk de Basisregistratie Adressen en Gebouwen (BAG) en de Basisregistratie Kadaster (BRK). Deze gegevens worden beheerd door respectievelijk gemeenten en het Kadaster, en worden regelmatig bijgewerkt. Energielabelgegevens komen uit de database van de Rijksdienst voor Ondernemend Nederland (RVO).
