
Ypeloweg 14-b is gelegen in de plaats Wierden, de gemeente Wierden en de provincie Overijssel. De oppervlakte van het adres is 118 m². Dat is vergelijkbaar met het gemiddelde Nederlandse oppervlakte van 119 m². De oppervlakte van het perceel waarin het adres ligt is 5718 m². Het adres is klein vergeleken met andere objecten in de straat. Het grootste object in de straat heeft een oppervlakte van 480 m², het kleinste is 8 m² groot. Ypeloweg 14-b bevindt zich in een pand uit het jaar 1962. Daarmee behoort het tot de groep relatief oude panden in Nederland die gebouwd zijn vóór 1965. Het nieuwste gebouw in de straat komt uit 2019 en het oudste uit 1924. Dit object is relatief oud. Voor het verblijfsobject gelden deze gebruiksdoelen: 'woonfunctie'.
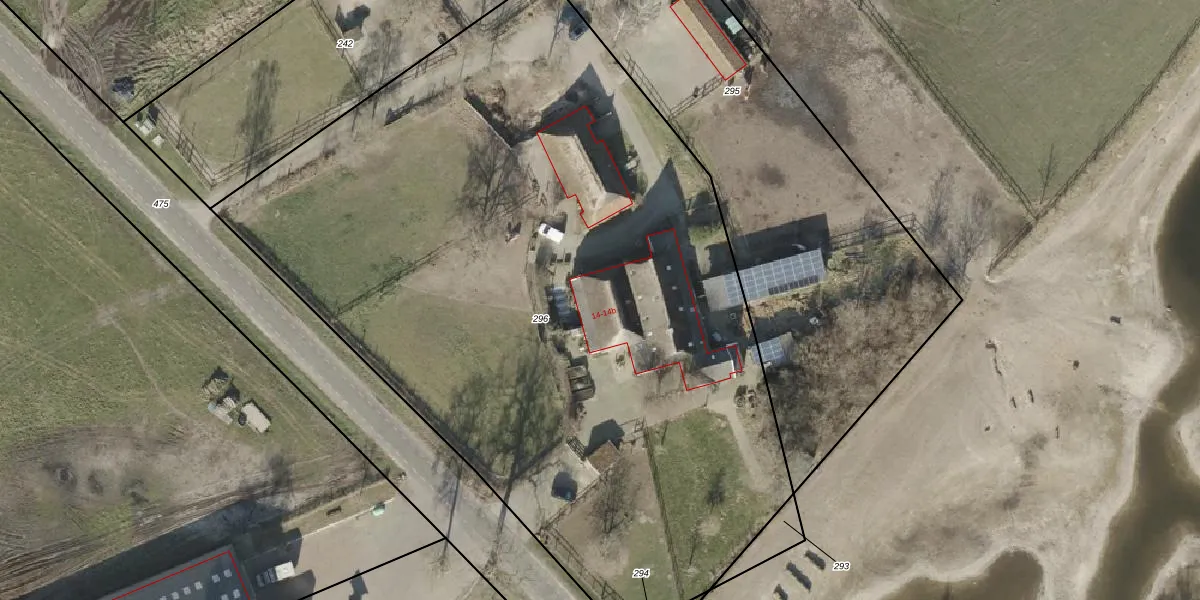
Het adres ligt op het perceel WDN02-P-296, dat zich in de kadastrale gemeente Wierden bevindt. Het perceel is met 5718 m² relatief groot. Het gemiddelde ligt in de kadastrale gemeente Wierden op 5345,69 m². Het grootste perceel in de kadastrale gemeente is 1,19 km². Het kleinste perceel heeft een oppervlakte van 0 m². Op het perceel liggen in totaal 3 adressen. De laatste wijziging in het de Basisregistratie Kadaster (BRK) was op 24-01-2007.
Er is geen energielabel geregistreerd voor het adres. Het hoogste energielabel in de straat is A; het laagste is G. Het gemiddelde energielabel is er B. Het adres Ypeloweg 14-b heeft als status: 'verblijfsobject in gebruik'. Het pand waarin dit adres ligt heeft als status: 'pand in gebruik'.
Ypeloweg 14-b is een adres gelegen in de gemeente Wierden, provincie Overijssel. Dit adres is geregistreerd in de Basisregistratie Adressen en Gebouwen (BAG) met als unieke identificatie 0189010000043321.
Het pand op Ypeloweg 14-b is gebouwd in 1962, wat betekent dat het 64 jaar oud is. Dit is een ouder pand. Het pand heeft mogelijk aanzienlijke renovaties nodig om aan de huidige standaarden te voldoen.
De woning op Ypeloweg 14-b heeft een gebruiksoppervlakte van 118 m². Dit is onder het gemiddelde vergeleken met de gemiddelde Nederlandse woning, die een oppervlakte heeft van ongeveer 119 m². De gebruiksoppervlakte is de maat die wordt gebruikt in de BAG-registratie, de landelijke registratie van de Nederlandse overheid.
Ypeloweg 14-b heeft als functie: wonen. Deze gebruiksfunctie(s) zijn vastgelegd in de BAG-registratie en geven aan waarvoor het adres officieel mag worden gebruikt.
Ypeloweg 14-b is gelegen op kadastraal perceel WDN02P296. Deze kadastrale aanduiding is uniek en wordt gebruikt door het Kadaster om eigendomsrechten en andere zakelijke rechten vast te leggen. Het perceel maakt onderdeel uit van de kadastrale gemeente Wierden.
Het perceel waarop Ypeloweg 14-b staat heeft een oppervlakte van 5718 m². Dit is een zeer groot perceel. De perceeloppervlakte wordt geregistreerd door het Kadaster. Gedetailleerde informatie over de maten van dit perceel kunt u vinden in het rapport Kadastrale kaart met maatvoering van Ypeloweg 14-b.
De eigenaar van Ypeloweg 14-b is op te vragen op deze pagina.
De informatie over dit adres is afkomstig uit officiële overheidsregistraties, voornamelijk de Basisregistratie Adressen en Gebouwen (BAG) en de Basisregistratie Kadaster (BRK). Deze gegevens worden beheerd door respectievelijk gemeenten en het Kadaster, en worden regelmatig bijgewerkt. Energielabelgegevens komen uit de database van de Rijksdienst voor Ondernemend Nederland (RVO).
