Product Functies Prijzen Meer

Adressen

Gebruik de zoekbalk of klik op een perceel voor informatie over de adressen binnen dit perceel.
Locatie
Meten
Lagen
Download

Oostermiddenmeerweg 18

1771RR, Wieringerwerf

1519312 Wat moet ik bieden voor deze woning?
704 m²
woonfunctie +1
1.720 m² perceeloppervlakte
G

Oostermiddenmeerweg 18 is een adres in Wieringerwerf, dat zich bevindt binnen de gemeentegrenzen van Wieringerwerf en de grenzen van de provincie Noord-Holland. Het object heeft een oppervlakte van 704 m², wat relatief groot is. Het perceel waarop het adres ligt is 1720 m² groot. De oppervlakte van dit adres is groot vergeleken met de oppervlaktes van andere adressen in de straat. De kleinste oppervlakte bedraagt er 12 m², de grootste 840 m². Oostermiddenmeerweg 18 bevindt zich in een pand uit het jaar 1936. Daarmee behoort het tot de groep relatief oude panden in Nederland die gebouwd zijn vóór 1965. Het bouwjaar is oud vergeleken met dat van de andere panden in de straat. Het oudste bouwjaar is er 1935 en de nieuwste is 2020. De volgende gebruiksdoelen zijn geregistreerd voor dit adres: 'woonfunctie' en 'industriefunctie'.

Verkoopdata beschikbaar

Deze woning is voor het laatst verkocht op 1 oktober 2018. Meer informatie over deze transactie? Bestel het Woningtransactierapport om de verkoopprijs en andere informatie te zien.

Perceel

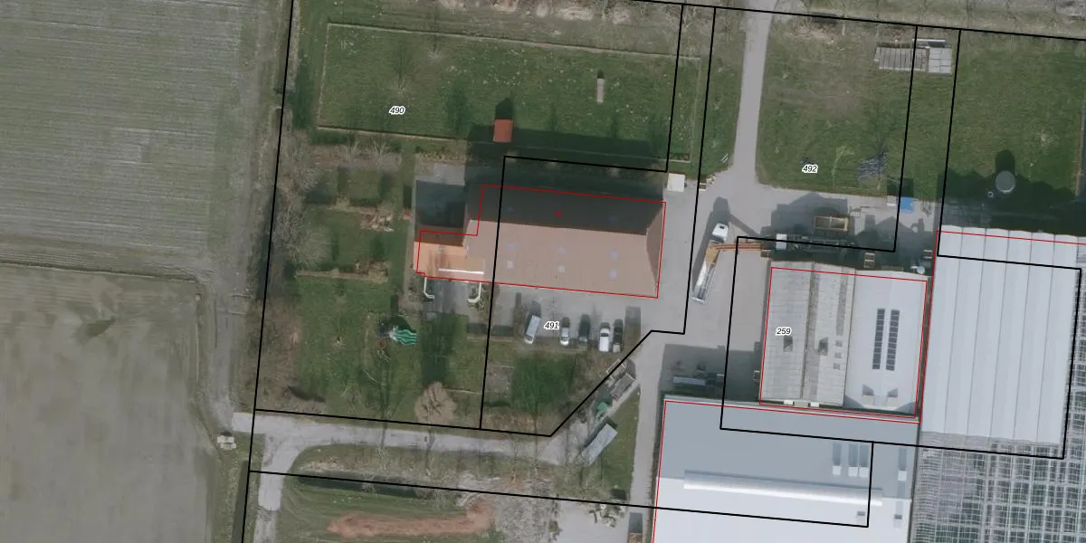
Het adres ligt op het perceel WRG03-K-491, dat zich in de kadastrale gemeente Wieringermeer bevindt. Het perceel is 1720 m² groot. Dat is kleiner dan de gemiddelde perceeloppervlakte in Wieringermeer, dat op 3,1 ha ligt. Het grootste perceel in de kadastrale gemeente is 57,62 km². Het kleinste perceel heeft een oppervlakte van 0 m². Dit is het enige adres dat aanwezig is op het perceel. De huidige grenzen van het perceel zijn digitaal in de Basisregistratie Kadaster (BRK) geregistreerd op 18-09-2018.

Energielabel en status

Het adres ligt in een gebouw van het type 'vrijstaande woning'. Bij de laatste meting is voor het adres het energielabel G geregistreerd. Het hoogste energielabel in de straat is A+; het laagste is G. Het gemiddelde energielabel is er D. Het adres Oostermiddenmeerweg 18 heeft als status: 'verblijfsobject in gebruik'. Het pand waarin dit adres ligt heeft als status: 'pand in gebruik'.

Meer lezen

Adres

Gebruiksoppervlakte
704 m²
Bruto vloeroppervlakte
huq tr l255DhLErhNUpgrade naar KadastraleKaart Pro
Gebruiksdoel(en)
Woonfunctie, Industriefunctie
Status
Verblijfsobject in gebruik
Type
Vrijstaande woning
Gasloos
Qh1CSSL4kgfJVkDC6Upgrade naar KadastraleKaart Pro
Gebeurtenissen
Appartementsrechten
jHPTwDhFnpVB4NhUpgrade naar KadastraleKaart Pro
Eigenaar
Eigendomsinformatie 12,95
Adresinformatie bestellen
Adrespakket 34,95
VBO ID
0463010000000344
Woning laatst verkocht in
2018 -
Verkoopprijs opvragen 8,95

Pand

Bouwjaar pand
1936
Aantal adressen in dit gebouw
1 adres
Hoogte pand
NzFWvoqepjyfMUwuLwEWUpgrade naar KadastraleKaart Pro
Aantal bouwlagen (schatting)
3zf vDI4PF1yaKUpgrade naar KadastraleKaart Pro
Volume
aNCADIvPZPve v7TubQ0Upgrade naar KadastraleKaart Pro
Oppervlakte dak
JB AyVuIUpgrade naar KadastraleKaart Pro
Oppervlakte buitenmuur
NzM2o3 0wQTIZ tSmyiEUpgrade naar KadastraleKaart Pro
Status pand
Pand in gebruik
Pand ID
0463100000007289

Perceel Toon alle percelen   Pro

Kadastrale aanduiding
Wieringermeer K 491 (WRG03 K 491)
Oppervlakte
1.720 m²
Maatvoering
Kadastrale kaart met maatvoering 59,95
Omtrek
224 meter
Datum laatst gewijzigd
18/09/2018
Aantal adressen op perceel
1
Hoogte boven N.A.P.
sDNFHtpjctThNEyUpgrade naar KadastraleKaart Pro

Veelgestelde vragen

Oostermiddenmeerweg 18 is een adres gelegen in de gemeente Hollands Kroon, provincie Noord-Holland. Dit adres is geregistreerd in de Basisregistratie Adressen en Gebouwen (BAG) met als unieke identificatie 0463010000000344.

Het pand op Oostermiddenmeerweg 18 is gebouwd in 1936, wat betekent dat het 90 jaar oud is. Dit is een ouder pand. Het pand heeft mogelijk aanzienlijke renovaties nodig om aan de huidige standaarden te voldoen.

De woning op Oostermiddenmeerweg 18 heeft een gebruiksoppervlakte van 704 m². Dit is ruim vergeleken met de gemiddelde Nederlandse woning, die een oppervlakte heeft van ongeveer 119 m². De gebruiksoppervlakte is de maat die wordt gebruikt in de BAG-registratie, de landelijke registratie van de Nederlandse overheid.

Oostermiddenmeerweg 18 heeft als functie: wonen en industrie. Deze gebruiksfunctie(s) zijn vastgelegd in de BAG-registratie en geven aan waarvoor het adres officieel mag worden gebruikt.

Oostermiddenmeerweg 18 is gelegen op kadastraal perceel WRG03K491. Deze kadastrale aanduiding is uniek en wordt gebruikt door het Kadaster om eigendomsrechten en andere zakelijke rechten vast te leggen. Het perceel maakt onderdeel uit van de kadastrale gemeente Wieringermeer.

Het perceel waarop Oostermiddenmeerweg 18 staat heeft een oppervlakte van 1720 m². Dit is een zeer groot perceel. De perceeloppervlakte wordt geregistreerd door het Kadaster. Gedetailleerde informatie over de maten van dit perceel kunt u vinden in het rapport Kadastrale kaart met maatvoering van Oostermiddenmeerweg 18.

De eigenaar van Oostermiddenmeerweg 18 is op te vragen op deze pagina

De informatie over dit adres is afkomstig uit officiële overheidsregistraties, voornamelijk de Basisregistratie Adressen en Gebouwen (BAG) en de Basisregistratie Kadaster (BRK). Deze gegevens worden beheerd door respectievelijk gemeenten en het Kadaster, en worden regelmatig bijgewerkt. Energielabelgegevens komen uit de database van de Rijksdienst voor Ondernemend Nederland (RVO).

Maatvoeringsrapport

Biedadvies

Loop uw droomhuis niet mis met ons biedadvies.
Loop uw droomhuis niet mis met ons biedadvies.
Maatvoeringsrapport

Bestel het adrespakket

Kom alles te weten over Oostermiddenmeerweg 18 met het adrespakket.
Kom alles te weten over Oostermiddenmeerweg 18 met het adrespakket.

360°-foto's van de omgeving

Google Street View
Upgrade nu voor 360° Street View foto's

Zon en schaduw rondom adres

Buurt
Buitengebied Wieringerwerf
Inwoners: 695
Woningen: 230
Wijk
Wieringerwerf
Inwoners: 6.080
Woningen: 2.734
Gemeente
Hollands Kroon
Inwoners: 49.522
Woningen: 21.208