
Caterspolder 1 is een adres in Woensdrecht, dat zich bevindt binnen de gemeentegrenzen van Woensdrecht en de grenzen van de provincie Noord-Brabant. De oppervlakte van het verblijfsobject is met 196 m² aan de grote kant. Het perceel heeft een oppervlakte van 632 m². Er zijn geen kleinere objecten in deze straat. De gemiddelde oppervlakte is er 551 m². Het grootste verblijfsobject is 1580 m². Het gebouw waarin Caterspolder 1 ligt komt uit het jaar 1889. Objecten die gebouwd zijn vóór 1965 classificeren we hier als oud. Het nieuwste gebouw in de straat komt uit 1977 en het oudste uit 1850. Dit object is relatief oud. De volgende gebruiksdoelen zijn geregistreerd voor dit adres: 'woonfunctie'.
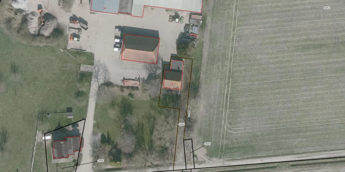
Het adres ligt op het perceel WDT00-G-5454, dat zich in de kadastrale gemeente Woensdrecht bevindt. Het perceel is 632 m² groot. Dat is kleiner dan de gemiddelde perceeloppervlakte in Woensdrecht, dat op 4403,78 m² ligt. Het kleinste perceel in de kadastrale gemeente is 0 m² groot. De grootste perceeloppervlakte is 2,12 km². Op het perceel bevinden zich geen andere adressen. De huidige grenzen van het perceel zijn digitaal in de Basisregistratie Kadaster (BRK) geregistreerd op 23-12-2025.
Er is geen energielabel geregistreerd voor het adres. Het hoogste energielabel in de straat is G; het laagste is G. Het gemiddelde energielabel is er G. Het adres Caterspolder 1 heeft als status: 'verblijfsobject in gebruik'. Het pand waarin dit adres ligt heeft als status: 'pand in gebruik'.
Caterspolder 1 is een adres gelegen in de gemeente Woensdrecht, provincie Noord-Brabant. Dit adres is geregistreerd in de Basisregistratie Adressen en Gebouwen (BAG) met als unieke identificatie 0873010000454691.
Het pand op Caterspolder 1 is gebouwd in 1889, wat betekent dat het 137 jaar oud is. Dit is een ouder pand. Het pand heeft mogelijk aanzienlijke renovaties nodig om aan de huidige standaarden te voldoen.
De woning op Caterspolder 1 heeft een gebruiksoppervlakte van 196 m². Dit is ruim vergeleken met de gemiddelde Nederlandse woning, die een oppervlakte heeft van ongeveer 119 m². De gebruiksoppervlakte is de maat die wordt gebruikt in de BAG-registratie, de landelijke registratie van de Nederlandse overheid.
Caterspolder 1 heeft als functie: wonen. Deze gebruiksfunctie(s) zijn vastgelegd in de BAG-registratie en geven aan waarvoor het adres officieel mag worden gebruikt.
Caterspolder 1 is gelegen op kadastraal perceel WDT00G5454. Deze kadastrale aanduiding is uniek en wordt gebruikt door het Kadaster om eigendomsrechten en andere zakelijke rechten vast te leggen. Het perceel maakt onderdeel uit van de kadastrale gemeente Woensdrecht.
Het perceel waarop Caterspolder 1 staat heeft een oppervlakte van 632 m². Dit is een groot perceel. De perceeloppervlakte wordt geregistreerd door het Kadaster. Gedetailleerde informatie over de maten van dit perceel kunt u vinden in het rapport Kadastrale kaart met maatvoering van Caterspolder 1.
De eigenaar van Caterspolder 1 is op te vragen op deze pagina.
De informatie over dit adres is afkomstig uit officiële overheidsregistraties, voornamelijk de Basisregistratie Adressen en Gebouwen (BAG) en de Basisregistratie Kadaster (BRK). Deze gegevens worden beheerd door respectievelijk gemeenten en het Kadaster, en worden regelmatig bijgewerkt. Energielabelgegevens komen uit de database van de Rijksdienst voor Ondernemend Nederland (RVO).
