
Rietveld 36 is een adres in Woerden, dat zich bevindt binnen de gemeentegrenzen van Woerden en de grenzen van de provincie Utrecht. De oppervlakte bedraagt 555 m², waarmee het adres groter dan gemiddeld is. De grootte van het perceel waarop het adres ligt is 2940 m². De oppervlakte van dit adres is groot vergeleken met de oppervlaktes van andere adressen in de straat. De kleinste oppervlakte bedraagt er 6 m², de grootste 4814 m². Het adres Rietveld 36 ligt in een relatief oud pand uit het jaar 1857. Panden van vóór het jaar 1965 hebben we hier geclassificeerd als oud. In de straat komt het nieuwste gebouw uit het jaar 2024 en het oudste uit 1649. Het bouwjaar van dit object is relatief oud. De volgende gebruiksdoelen zijn geregistreerd voor dit adres: 'woonfunctie'.
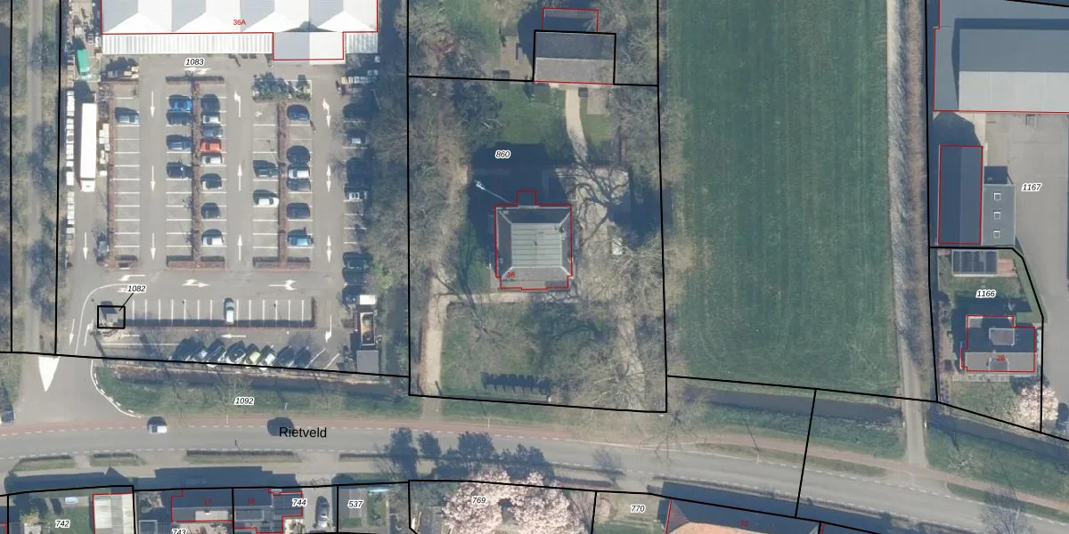
Het adres ligt op het perceel RVD00-B-860, dat zich in de kadastrale gemeente Rietveld bevindt. Het perceel is 2940 m² groot. Dat is kleiner dan de gemiddelde perceeloppervlakte in Rietveld, dat op 7286,37 m² ligt. De grootste perceeloppervlakte in de kadastrale gemeente is 17,8 ha. De kleinste oppervlakte bedraagt 0 m². Er zijn geen andere adressen aanwezig op het perceel. De huidige grenzen van het perceel zijn digitaal in de Basisregistratie Kadaster (BRK) geregistreerd op 22-06-1999.
Er is geen energielabel geregistreerd voor het adres. Het hoogste energielabel in de straat is A++; het laagste is G. Het gemiddelde energielabel is er C. Het adres Rietveld 36 heeft als status: 'verblijfsobject in gebruik'. Het pand waarin dit adres ligt heeft als status: 'pand in gebruik'.
Rietveld 36 is een adres gelegen in de gemeente Woerden, provincie Utrecht. Dit adres is geregistreerd in de Basisregistratie Adressen en Gebouwen (BAG) met als unieke identificatie 0632010000006808.
Het pand op Rietveld 36 is gebouwd in 1857, wat betekent dat het 169 jaar oud is. Dit is een ouder pand. Het pand heeft mogelijk aanzienlijke renovaties nodig om aan de huidige standaarden te voldoen.
De woning op Rietveld 36 heeft een gebruiksoppervlakte van 555 m². Dit is ruim vergeleken met de gemiddelde Nederlandse woning, die een oppervlakte heeft van ongeveer 119 m². De gebruiksoppervlakte is de maat die wordt gebruikt in de BAG-registratie, de landelijke registratie van de Nederlandse overheid.
Rietveld 36 heeft als functie: wonen. Deze gebruiksfunctie(s) zijn vastgelegd in de BAG-registratie en geven aan waarvoor het adres officieel mag worden gebruikt.
Rietveld 36 is gelegen op kadastraal perceel RVD00B860. Deze kadastrale aanduiding is uniek en wordt gebruikt door het Kadaster om eigendomsrechten en andere zakelijke rechten vast te leggen. Het perceel maakt onderdeel uit van de kadastrale gemeente Rietveld.
Het perceel waarop Rietveld 36 staat heeft een oppervlakte van 2940 m². Dit is een zeer groot perceel. De perceeloppervlakte wordt geregistreerd door het Kadaster. Gedetailleerde informatie over de maten van dit perceel kunt u vinden in het rapport Kadastrale kaart met maatvoering van Rietveld 36.
De eigenaar van Rietveld 36 is op te vragen op deze pagina.
De informatie over dit adres is afkomstig uit officiële overheidsregistraties, voornamelijk de Basisregistratie Adressen en Gebouwen (BAG) en de Basisregistratie Kadaster (BRK). Deze gegevens worden beheerd door respectievelijk gemeenten en het Kadaster, en worden regelmatig bijgewerkt. Energielabelgegevens komen uit de database van de Rijksdienst voor Ondernemend Nederland (RVO).
