
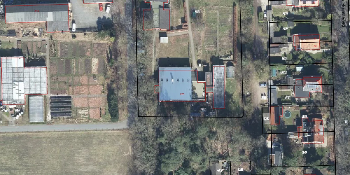
Wolfheze 27-D is een adres in Wolfheze, dat zich bevindt binnen de gemeentegrenzen van Wolfheze en de grenzen van de provincie Gelderland. De oppervlakte van het verblijfsobject is met 425 m² aan de grote kant. Het perceel heeft een oppervlakte van 7625 m². Het adres is klein vergeleken met andere objecten in de straat. Het grootste object in de straat heeft een oppervlakte van 4660 m², het kleinste is 28 m² groot. In het jaar 2008 is het pand waarin Wolfheze 27-D ligt gebouwd. Dat is relatief recent: de meeste gebouwen in Nederland zijn gebouwd in de periode 1965-1984. Dit object is relatief nieuw in de straat. Het nieuwste gebouw komt er uit het jaar 2012 en het oudste uit het jaar 1909. De volgende gebruiksdoelen zijn geregistreerd voor dit adres: 'woonfunctie'.
Het adres ligt op het perceel DWH00-A-500, dat zich in de kadastrale gemeente Doorwerth bevindt. De oppervlakte van het perceel is 7625 m². Dat is groter dan gemiddeld in Doorwerth, waar de gemiddelde perceeloppervlakte op 6253,68 m² ligt. De grootste perceeloppervlakte in de kadastrale gemeente is 80,8 ha. De kleinste oppervlakte bedraagt 0 m². Op het perceel liggen in totaal 3 adressen. De huidige grenzen van het perceel zijn digitaal in de Basisregistratie Kadaster (BRK) geregistreerd op 04-12-2006.
Bij de laatste meting is voor het adres het energielabel A geregistreerd. Het hoogste energielabel in de straat is A+; het laagste is G. Het gemiddelde energielabel is er C. Het adres Wolfheze 27-D heeft als status: 'verblijfsobject in gebruik'. Het pand waarin dit adres ligt heeft als status: 'pand in gebruik'.
Wolfheze 27-D is een adres gelegen in de gemeente Renkum, provincie Gelderland. Dit adres is geregistreerd in de Basisregistratie Adressen en Gebouwen (BAG) met als unieke identificatie 0274010000263417.
Het pand op Wolfheze 27-D is gebouwd in 2008, wat betekent dat het 18 jaar oud is. Dit is een relatief modern pand. Ten opzichte van de nationale woningvoorraad is het pand relatief modern, maar er kunnen enkele verouderde elementen zijn die aandacht nodig hebben.
De woning op Wolfheze 27-D heeft een gebruiksoppervlakte van 425 m². Dit is ruim vergeleken met de gemiddelde Nederlandse woning, die een oppervlakte heeft van ongeveer 119 m². De gebruiksoppervlakte is de maat die wordt gebruikt in de BAG-registratie, de landelijke registratie van de Nederlandse overheid.
Wolfheze 27-D heeft als functie: wonen. Deze gebruiksfunctie(s) zijn vastgelegd in de BAG-registratie en geven aan waarvoor het adres officieel mag worden gebruikt.
Wolfheze 27-D is gelegen op kadastraal perceel DWH00A500. Deze kadastrale aanduiding is uniek en wordt gebruikt door het Kadaster om eigendomsrechten en andere zakelijke rechten vast te leggen. Het perceel maakt onderdeel uit van de kadastrale gemeente Doorwerth.
Het perceel waarop Wolfheze 27-D staat heeft een oppervlakte van 7625 m². Dit is een zeer groot perceel. De perceeloppervlakte wordt geregistreerd door het Kadaster. Gedetailleerde informatie over de maten van dit perceel kunt u vinden in het rapport Kadastrale kaart met maatvoering van Wolfheze 27-D.
De eigenaar van Wolfheze 27-D is op te vragen op deze pagina.
De informatie over dit adres is afkomstig uit officiële overheidsregistraties, voornamelijk de Basisregistratie Adressen en Gebouwen (BAG) en de Basisregistratie Kadaster (BRK). Deze gegevens worden beheerd door respectievelijk gemeenten en het Kadaster, en worden regelmatig bijgewerkt. Energielabelgegevens komen uit de database van de Rijksdienst voor Ondernemend Nederland (RVO).
