
Het adres Wyns 28-D bevindt zich in de plaats Wyns, in de gemeente Wyns en de provincie Friesland. De oppervlakte van het verblijfsobject is met 197 m² aan de grote kant. Het perceel heeft een oppervlakte van 530 m². Het object is klein ten opzichte van de andere adressen in de straat. Het grootste verblijfsobject is 1793 m² groot en het kleinste is 4 m². Wyns 28-D bevindt zich in een pand uit het jaar 1956. Daarmee behoort het tot de groep relatief oude panden in Nederland die gebouwd zijn vóór 1965. Dit object is relatief nieuw in de straat. Het nieuwste gebouw komt er uit het jaar 2026 en het oudste uit het jaar 1300. Het verblijfsobject heeft de volgende gebruiksdoelen: 'woonfunctie'.
Deze woning is voor het laatst verkocht op 1 augustus 2021. Meer informatie over deze transactie? Bestel het Woningtransactierapport om de verkoopprijs en andere informatie te zien.
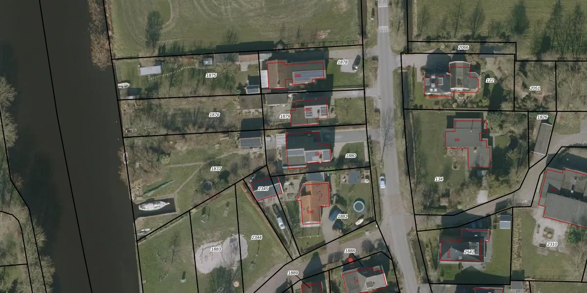
Het perceel waarop het adres ligt is GKK02-F-1880. De afkorting 'GKK02' staat voor kadastrale gemeente Giekerk. Het perceel is kleiner dan gemiddeld in Giekerk. Het perceel is 530 m² groot, terwijl het gemiddelde ligt op 6141,58 m². Het grootste perceel in de kadastrale gemeente is 14,6 ha. Het kleinste perceel heeft een oppervlakte van 0 m². Op het perceel bevinden zich geen andere adressen. In de Basisregistratie Kadaster (BRK) werden de grenzen van het perceel geregistreerd op 12-07-2000.
Het adres ligt in een gebouw van het type 'vrijstaande woning'. Bij de laatste meting is voor het adres het energielabel E geregistreerd. Het hoogste energielabel in de straat is A+++; het laagste is G. Het gemiddelde energielabel is er C. Het adres Wyns 28-D heeft als status: 'verblijfsobject in gebruik'. Het pand waarin dit adres ligt heeft als status: 'pand in gebruik'.
Wyns 28-D is een adres gelegen in de gemeente Tytsjerksteradiel, provincie Friesland. Dit adres is geregistreerd in de Basisregistratie Adressen en Gebouwen (BAG) met als unieke identificatie 0737010000012521.
Het pand op Wyns 28-D is gebouwd in 1956, wat betekent dat het 70 jaar oud is. Dit is een ouder pand. Het pand heeft mogelijk aanzienlijke renovaties nodig om aan de huidige standaarden te voldoen.
De woning op Wyns 28-D heeft een gebruiksoppervlakte van 197 m². Dit is ruim vergeleken met de gemiddelde Nederlandse woning, die een oppervlakte heeft van ongeveer 119 m². De gebruiksoppervlakte is de maat die wordt gebruikt in de BAG-registratie, de landelijke registratie van de Nederlandse overheid.
Wyns 28-D heeft als functie: wonen. Deze gebruiksfunctie(s) zijn vastgelegd in de BAG-registratie en geven aan waarvoor het adres officieel mag worden gebruikt.
Wyns 28-D is gelegen op kadastraal perceel GKK02F1880. Deze kadastrale aanduiding is uniek en wordt gebruikt door het Kadaster om eigendomsrechten en andere zakelijke rechten vast te leggen. Het perceel maakt onderdeel uit van de kadastrale gemeente Giekerk.
Het perceel waarop Wyns 28-D staat heeft een oppervlakte van 530 m². Dit is een groot perceel. De perceeloppervlakte wordt geregistreerd door het Kadaster. Gedetailleerde informatie over de maten van dit perceel kunt u vinden in het rapport Kadastrale kaart met maatvoering van Wyns 28-D.
De eigenaar van Wyns 28-D is op te vragen op deze pagina.
De informatie over dit adres is afkomstig uit officiële overheidsregistraties, voornamelijk de Basisregistratie Adressen en Gebouwen (BAG) en de Basisregistratie Kadaster (BRK). Deze gegevens worden beheerd door respectievelijk gemeenten en het Kadaster, en worden regelmatig bijgewerkt. Energielabelgegevens komen uit de database van de Rijksdienst voor Ondernemend Nederland (RVO).
