
Kennemerweg 6 is gelegen in de plaats Zandvoort, de gemeente Zandvoort en de provincie Noord-Holland. De oppervlakte bedraagt 305 m², waarmee het adres groter dan gemiddeld is. De grootte van het perceel waarop het adres ligt is 1977 m². Het adres is klein vergeleken met andere objecten in de straat. Het grootste object in de straat heeft een oppervlakte van 951 m², het kleinste is 81 m² groot. Het gebouw waarin Kennemerweg 6 ligt komt uit het jaar 1954. Objecten die gebouwd zijn vóór 1965 classificeren we hier als oud. In de straat komt het nieuwste gebouw uit het jaar 2010 en het oudste uit 1927. Het bouwjaar van dit object is relatief oud. Het verblijfsobject heeft de volgende gebruiksdoelen: 'bijeenkomstfunctie'.
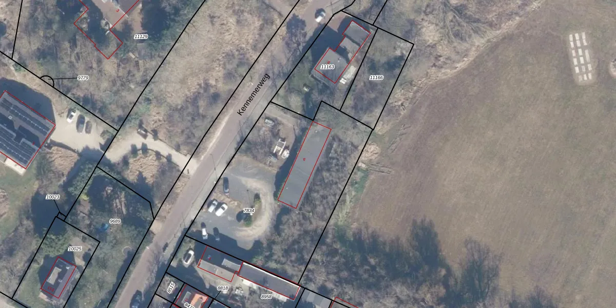
Het adres ligt op het perceel ZVT00-B-7834, dat zich in de kadastrale gemeente Zandvoort bevindt. Het perceel is kleiner dan gemiddeld in Zandvoort. Het perceel is 1977 m² groot, terwijl het gemiddelde ligt op 6691,63 m². Het kleinste perceel in de kadastrale gemeente is 0 m² groot. De grootste perceeloppervlakte is 10,69 km². Er zijn geen andere adressen aanwezig op het perceel. De laatste wijziging in het de Basisregistratie Kadaster (BRK) was op 17-01-2022.
Er is geen energielabel geregistreerd voor het adres. Het hoogste energielabel in de straat is A; het laagste is G. Het gemiddelde energielabel is er D. Het adres Kennemerweg 6 heeft als status: 'verblijfsobject in gebruik'. Het pand waarin dit adres ligt heeft als status: 'sloopvergunning verleend'.
Kennemerweg 6 is een adres gelegen in de gemeente Zandvoort, provincie Noord-Holland. Dit adres is geregistreerd in de Basisregistratie Adressen en Gebouwen (BAG) met als unieke identificatie 0473010000005486.
Het pand op Kennemerweg 6 is gebouwd in 1954, wat betekent dat het 72 jaar oud is. Dit is een ouder pand. Het pand heeft mogelijk aanzienlijke renovaties nodig om aan de huidige standaarden te voldoen.
De woning op Kennemerweg 6 heeft een gebruiksoppervlakte van 305 m². Dit is ruim vergeleken met de gemiddelde Nederlandse woning, die een oppervlakte heeft van ongeveer 119 m². De gebruiksoppervlakte is de maat die wordt gebruikt in de BAG-registratie, de landelijke registratie van de Nederlandse overheid.
Kennemerweg 6 heeft als functie: bijeenkomsten. Deze gebruiksfunctie(s) zijn vastgelegd in de BAG-registratie en geven aan waarvoor het adres officieel mag worden gebruikt.
Kennemerweg 6 is gelegen op kadastraal perceel ZVT00B7834. Deze kadastrale aanduiding is uniek en wordt gebruikt door het Kadaster om eigendomsrechten en andere zakelijke rechten vast te leggen. Het perceel maakt onderdeel uit van de kadastrale gemeente Zandvoort.
Het perceel waarop Kennemerweg 6 staat heeft een oppervlakte van 1977 m². Dit is een zeer groot perceel. De perceeloppervlakte wordt geregistreerd door het Kadaster. Gedetailleerde informatie over de maten van dit perceel kunt u vinden in het rapport Kadastrale kaart met maatvoering van Kennemerweg 6.
De eigenaar van Kennemerweg 6 is op te vragen op deze pagina.
De informatie over dit adres is afkomstig uit officiële overheidsregistraties, voornamelijk de Basisregistratie Adressen en Gebouwen (BAG) en de Basisregistratie Kadaster (BRK). Deze gegevens worden beheerd door respectievelijk gemeenten en het Kadaster, en worden regelmatig bijgewerkt. Energielabelgegevens komen uit de database van de Rijksdienst voor Ondernemend Nederland (RVO).
