
Hoofdstraat 25 is gelegen in de plaats Zeijen, de gemeente Tynaarlo en de provincie Drenthe. Het object heeft een oppervlakte van 183 m², wat relatief groot is. Het perceel waarop het adres ligt is 1160 m² groot. Het object is klein ten opzichte van de andere adressen in de straat. Het grootste verblijfsobject is 953 m² groot en het kleinste is 8 m². De meeste Nederlandse gebouwen zijn gebouwd in de periode 1965-1984. Zo ook het pand waarin Hoofdstraat 25 ligt, dat gebouwd is in 1980. Vergeleken met de andere panden in de straat is dit gebouw nieuw. Het vroegste bouwjaar is er 1850 en het laatste is 2023. Voor het verblijfsobject gelden deze gebruiksdoelen: 'woonfunctie'.
Deze woning is voor het laatst verkocht op 1 november 2005. Meer informatie over deze transactie? Bestel het Woningtransactierapport om de verkoopprijs en andere informatie te zien.
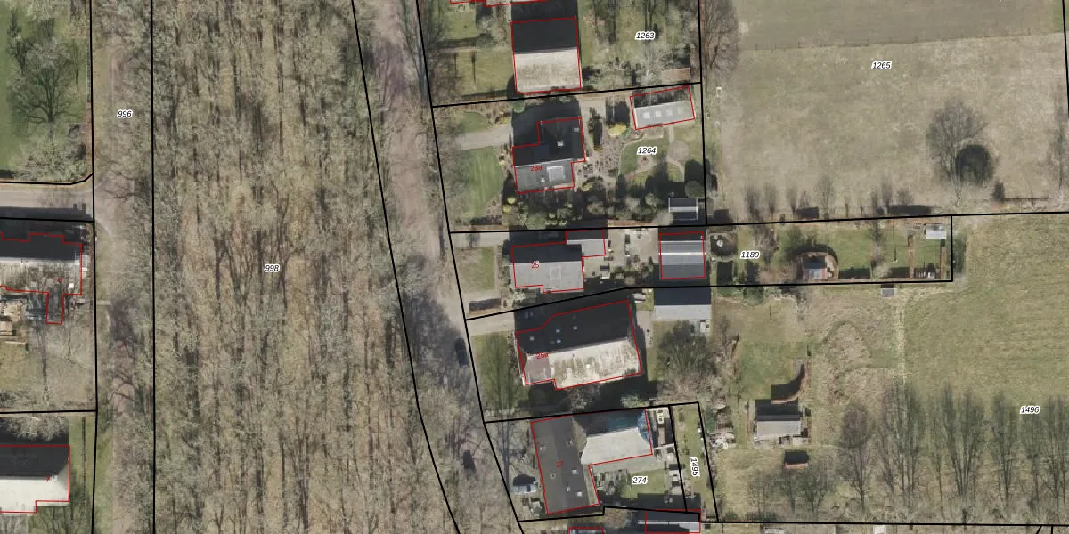
Het perceel waarop het adres ligt is VRI00-U-1180. De afkorting 'VRI00' staat voor kadastrale gemeente Vries. De gemiddelde perceelgrootte in Vries is 8855,88 m². Dit perceel is kleiner: de perceeloppervlakte bedraagt 1160 m². De grootste perceeloppervlakte in de kadastrale gemeente is 53,3 ha. De kleinste oppervlakte bedraagt 1 m². Dit is het enige adres dat aanwezig is op het perceel. De laatste wijziging in het de Basisregistratie Kadaster (BRK) was op 13-05-2003.
Er is geen energielabel geregistreerd voor het adres. Het hoogste energielabel in de straat is A+++; het laagste is G. Het gemiddelde energielabel is er C. Het adres Hoofdstraat 25 heeft als status: 'verblijfsobject in gebruik'. Het pand waarin dit adres ligt heeft als status: 'pand in gebruik'.
Hoofdstraat 25 is een adres gelegen in de gemeente Tynaarlo, provincie Drenthe. Dit adres is geregistreerd in de Basisregistratie Adressen en Gebouwen (BAG) met als unieke identificatie 1730010000007871.
Het pand op Hoofdstraat 25 is gebouwd in 1980, wat betekent dat het 46 jaar oud is. Dit is een pand van middelbare leeftijd. Het pand is van gemiddelde leeftijd en zal waarschijnlijk verouderde elementen bevatten.
De woning op Hoofdstraat 25 heeft een gebruiksoppervlakte van 183 m². Dit is ruim vergeleken met de gemiddelde Nederlandse woning, die een oppervlakte heeft van ongeveer 119 m². De gebruiksoppervlakte is de maat die wordt gebruikt in de BAG-registratie, de landelijke registratie van de Nederlandse overheid.
Hoofdstraat 25 heeft als functie: wonen. Deze gebruiksfunctie(s) zijn vastgelegd in de BAG-registratie en geven aan waarvoor het adres officieel mag worden gebruikt.
Hoofdstraat 25 is gelegen op kadastraal perceel VRI00U1180. Deze kadastrale aanduiding is uniek en wordt gebruikt door het Kadaster om eigendomsrechten en andere zakelijke rechten vast te leggen. Het perceel maakt onderdeel uit van de kadastrale gemeente Vries.
Het perceel waarop Hoofdstraat 25 staat heeft een oppervlakte van 1160 m². Dit is een zeer groot perceel. De perceeloppervlakte wordt geregistreerd door het Kadaster. Gedetailleerde informatie over de maten van dit perceel kunt u vinden in het rapport Kadastrale kaart met maatvoering van Hoofdstraat 25.
De eigenaar van Hoofdstraat 25 is op te vragen op deze pagina.
De informatie over dit adres is afkomstig uit officiële overheidsregistraties, voornamelijk de Basisregistratie Adressen en Gebouwen (BAG) en de Basisregistratie Kadaster (BRK). Deze gegevens worden beheerd door respectievelijk gemeenten en het Kadaster, en worden regelmatig bijgewerkt. Energielabelgegevens komen uit de database van de Rijksdienst voor Ondernemend Nederland (RVO).
