
Het adres Stationsweg 37 bevindt zich in de plaats Zuidlaren, in de gemeente Zuidlaren en de provincie Drenthe. Het object heeft een oppervlakte van 158 m², wat relatief groot is. Het perceel waarop het adres ligt is 525 m² groot. Het adres is klein vergeleken met andere objecten in de straat. Het grootste object in de straat heeft een oppervlakte van 1506 m², het kleinste is 5 m² groot. Stationsweg 37 bevindt zich in een pand uit het jaar 1922. Daarmee behoort het tot de groep relatief oude panden in Nederland die gebouwd zijn vóór 1965. Het bouwjaar is oud vergeleken met dat van de andere panden in de straat. Het oudste bouwjaar is er 1832 en de nieuwste is 2023. Het verblijfsobject heeft de volgende gebruiksdoelen: 'woonfunctie'.
Deze woning is voor het laatst verkocht op 1 november 2015. Meer informatie over deze transactie? Bestel het Woningtransactierapport om de verkoopprijs en andere informatie te zien.
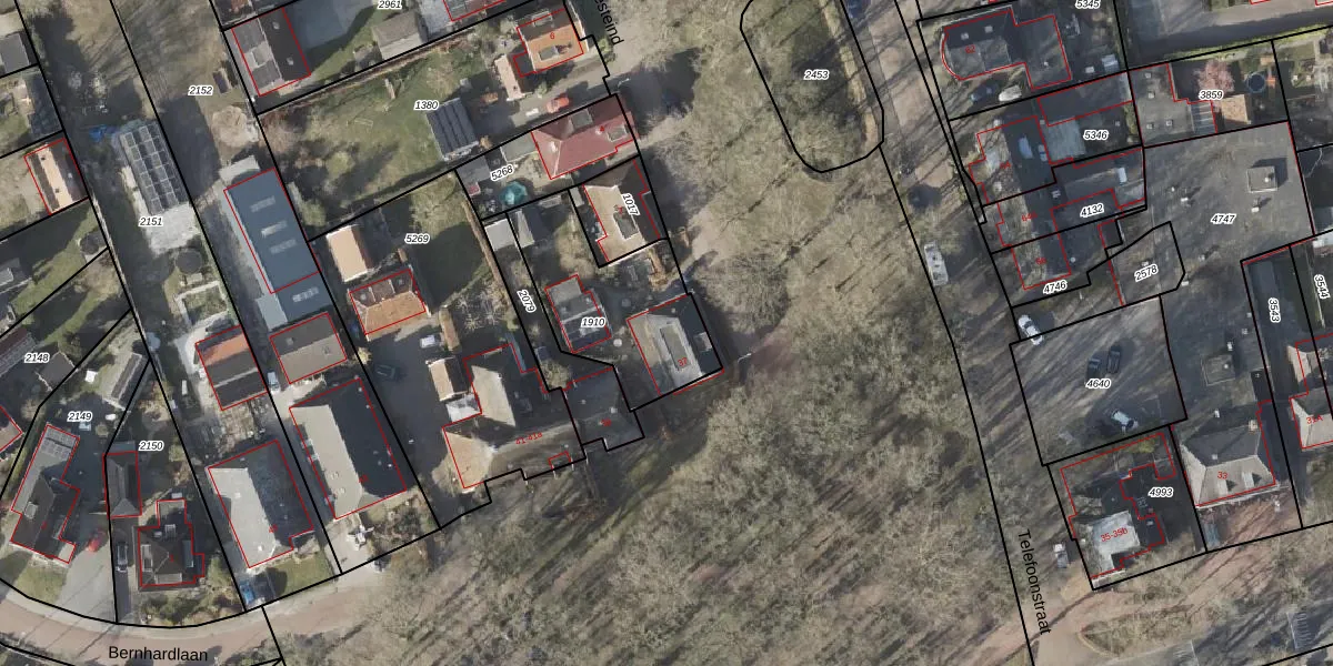
Het adres ligt op het perceel ZLR00-G-1910, dat zich in de kadastrale gemeente Zuidlaren bevindt. Het perceel is kleiner dan gemiddeld in Zuidlaren. Het perceel is 525 m² groot, terwijl het gemiddelde ligt op 4880,19 m². Het grootste perceel in de kadastrale gemeente is 1,46 km². Het kleinste perceel heeft een oppervlakte van 0 m². Dit is het enige adres dat aanwezig is op het perceel. In de Basisregistratie Kadaster (BRK) werden de grenzen van het perceel geregistreerd op 19-08-2003.
Het adres ligt in een gebouw van het type 'vrijstaande woning'. Bij de laatste meting is voor het adres het energielabel D geregistreerd. Het hoogste energielabel in de straat is A++++; het laagste is G. Het gemiddelde energielabel is er B. Het adres Stationsweg 37 heeft als status: 'verblijfsobject in gebruik'. Het pand waarin dit adres ligt heeft als status: 'pand in gebruik'.
Stationsweg 37 is een adres gelegen in de gemeente Tynaarlo, provincie Drenthe. Dit adres is geregistreerd in de Basisregistratie Adressen en Gebouwen (BAG) met als unieke identificatie 1730010000012639.
Het pand op Stationsweg 37 is gebouwd in 1922, wat betekent dat het 104 jaar oud is. Dit is een ouder pand. Het pand heeft mogelijk aanzienlijke renovaties nodig om aan de huidige standaarden te voldoen.
De woning op Stationsweg 37 heeft een gebruiksoppervlakte van 158 m². Dit is ruim vergeleken met de gemiddelde Nederlandse woning, die een oppervlakte heeft van ongeveer 119 m². De gebruiksoppervlakte is de maat die wordt gebruikt in de BAG-registratie, de landelijke registratie van de Nederlandse overheid.
Stationsweg 37 heeft als functie: wonen. Deze gebruiksfunctie(s) zijn vastgelegd in de BAG-registratie en geven aan waarvoor het adres officieel mag worden gebruikt.
Stationsweg 37 is gelegen op kadastraal perceel ZLR00G1910. Deze kadastrale aanduiding is uniek en wordt gebruikt door het Kadaster om eigendomsrechten en andere zakelijke rechten vast te leggen. Het perceel maakt onderdeel uit van de kadastrale gemeente Zuidlaren.
Het perceel waarop Stationsweg 37 staat heeft een oppervlakte van 525 m². Dit is een groot perceel. De perceeloppervlakte wordt geregistreerd door het Kadaster. Gedetailleerde informatie over de maten van dit perceel kunt u vinden in het rapport Kadastrale kaart met maatvoering van Stationsweg 37.
De eigenaar van Stationsweg 37 is op te vragen op deze pagina.
De informatie over dit adres is afkomstig uit officiële overheidsregistraties, voornamelijk de Basisregistratie Adressen en Gebouwen (BAG) en de Basisregistratie Kadaster (BRK). Deze gegevens worden beheerd door respectievelijk gemeenten en het Kadaster, en worden regelmatig bijgewerkt. Energielabelgegevens komen uit de database van de Rijksdienst voor Ondernemend Nederland (RVO).
