
Het adres Hoofdstraat 149 bevindt zich in de plaats Zuidwolde, in de gemeente Zuidwolde en de provincie Drenthe. De oppervlakte van het verblijfsobject is met 930 m² aan de grote kant. Het perceel heeft een oppervlakte van 4133 m². De oppervlakte van dit adres is groot vergeleken met de oppervlaktes van andere adressen in de straat. De kleinste oppervlakte bedraagt er 16 m², de grootste 1279 m². Hoofdstraat 149 bevindt zich in een pand uit het jaar 1960. Daarmee behoort het tot de groep relatief oude panden in Nederland die gebouwd zijn vóór 1965. Het nieuwste gebouw in de straat komt uit 2025 en het oudste uit 1502. Dit object is relatief oud. De volgende gebruiksdoelen zijn geregistreerd voor dit adres: 'bijeenkomstfunctie'.
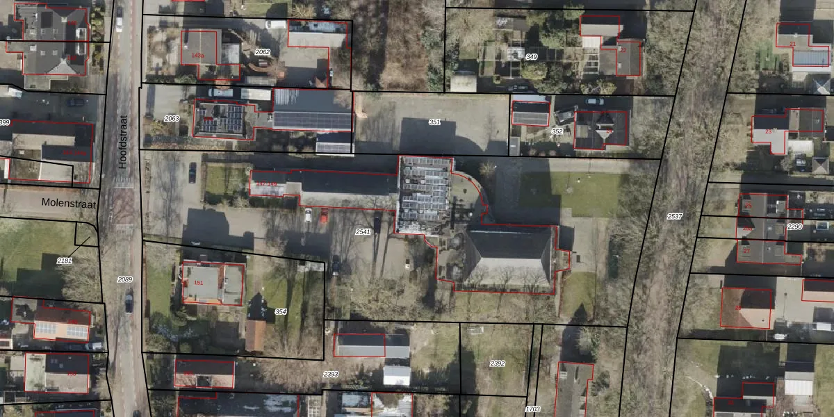
Het adres ligt op het perceel ZWD02-I-2541, dat zich in de kadastrale gemeente Zuidwolde bevindt. Het perceel is 4133 m² groot. Dat is kleiner dan de gemiddelde perceeloppervlakte in Zuidwolde, dat op 1,0 ha ligt. Het grootste perceel in de kadastrale gemeente is 1,26 km². Het kleinste perceel heeft een oppervlakte van 0 m². Op het perceel liggen in totaal 2 adressen. In de Basisregistratie Kadaster (BRK) werden de grenzen van het perceel geregistreerd op 03-12-2025.
Er is geen energielabel geregistreerd voor het adres. Het hoogste energielabel in de straat is A+++; het laagste is G. Het gemiddelde energielabel is er C. Het adres Hoofdstraat 149 heeft als status: 'verblijfsobject in gebruik'. Het pand waarin dit adres ligt heeft als status: 'pand in gebruik'.
Hoofdstraat 149 is een adres gelegen in de gemeente De Wolden, provincie Drenthe. Dit adres is geregistreerd in de Basisregistratie Adressen en Gebouwen (BAG) met als unieke identificatie 1690010000009091.
Het pand op Hoofdstraat 149 is gebouwd in 1960, wat betekent dat het 66 jaar oud is. Dit is een ouder pand. Het pand heeft mogelijk aanzienlijke renovaties nodig om aan de huidige standaarden te voldoen.
De woning op Hoofdstraat 149 heeft een gebruiksoppervlakte van 930 m². Dit is ruim vergeleken met de gemiddelde Nederlandse woning, die een oppervlakte heeft van ongeveer 119 m². De gebruiksoppervlakte is de maat die wordt gebruikt in de BAG-registratie, de landelijke registratie van de Nederlandse overheid.
Hoofdstraat 149 heeft als functie: bijeenkomsten. Deze gebruiksfunctie(s) zijn vastgelegd in de BAG-registratie en geven aan waarvoor het adres officieel mag worden gebruikt.
Hoofdstraat 149 is gelegen op kadastraal perceel ZWD02I2541. Deze kadastrale aanduiding is uniek en wordt gebruikt door het Kadaster om eigendomsrechten en andere zakelijke rechten vast te leggen. Het perceel maakt onderdeel uit van de kadastrale gemeente Zuidwolde.
Het perceel waarop Hoofdstraat 149 staat heeft een oppervlakte van 4133 m². Dit is een zeer groot perceel. De perceeloppervlakte wordt geregistreerd door het Kadaster. Gedetailleerde informatie over de maten van dit perceel kunt u vinden in het rapport Kadastrale kaart met maatvoering van Hoofdstraat 149.
De eigenaar van Hoofdstraat 149 is op te vragen op deze pagina.
De informatie over dit adres is afkomstig uit officiële overheidsregistraties, voornamelijk de Basisregistratie Adressen en Gebouwen (BAG) en de Basisregistratie Kadaster (BRK). Deze gegevens worden beheerd door respectievelijk gemeenten en het Kadaster, en worden regelmatig bijgewerkt. Energielabelgegevens komen uit de database van de Rijksdienst voor Ondernemend Nederland (RVO).
