
Het adres Marsweg 49 bevindt zich in de plaats Zutphen, in de gemeente Zutphen en de provincie Gelderland. De oppervlakte van het object bedraagt 43 m². Dat is klein vergeleken met het Nederlandse gemiddelde. Het perceel waarop het adres ligt is 1972 m² groot. Het adres is klein vergeleken met andere objecten in de straat. Het grootste object in de straat heeft een oppervlakte van 2330 m², het kleinste is 15 m² groot. Het pand waarin Marsweg 49 ligt is gebouwd in het jaar 2022. Panden die gebouwd zijn na het jaar 1984 noemen we hier relatief nieuw. Veel andere gebouwen in de straat zijn ouder dan dit pand. Het oudste pand komt uit het jaar 1931 en het nieuwste uit 2025. Voor het verblijfsobject gelden deze gebruiksdoelen: 'industriefunctie'.
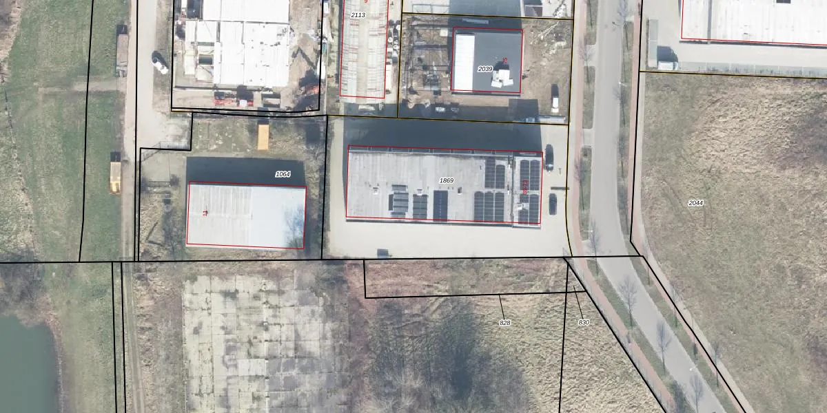
Het adres ligt op het perceel ZPN00-K-1869, dat zich in de kadastrale gemeente Zutphen bevindt. Het perceel is met 1972 m² relatief groot. Het gemiddelde ligt in de kadastrale gemeente Zutphen op 1485,46 m². Het kleinste perceel in de kadastrale gemeente is 0 m² groot. De grootste perceeloppervlakte is 37,1 ha. Op het perceel zijn 18 adressen aanwezig. In de Basisregistratie Kadaster (BRK) werden de grenzen van het perceel geregistreerd op 09-06-2022.
Er is geen energielabel geregistreerd voor het adres. Het hoogste energielabel in de straat is A+++; het laagste is G. Het gemiddelde energielabel is er A. Het adres Marsweg 49 heeft als status: 'verblijfsobject in gebruik'. Het pand waarin dit adres ligt heeft als status: 'pand in gebruik'.
Marsweg 49 is een adres gelegen in de gemeente Zutphen, provincie Gelderland. Dit adres is geregistreerd in de Basisregistratie Adressen en Gebouwen (BAG) met als unieke identificatie 0301010000036903.
Het pand op Marsweg 49 is gebouwd in 2022, wat betekent dat het 4 jaar oud is. Dit is een vrij nieuw pand. Het pand is dus waarschijnlijk goed geïsoleerd, geluidsdicht en voldoet aan de huidige bouwstandaarden. Op korte termijn zijn er waarschijnlijk weinig onderhoudskosten.
De woning op Marsweg 49 heeft een gebruiksoppervlakte van 43 m². Dit is relatief klein vergeleken met de gemiddelde Nederlandse woning, die een oppervlakte heeft van ongeveer 119 m². De gebruiksoppervlakte is de maat die wordt gebruikt in de BAG-registratie, de landelijke registratie van de Nederlandse overheid.
Marsweg 49 heeft als functie: industrie. Deze gebruiksfunctie(s) zijn vastgelegd in de BAG-registratie en geven aan waarvoor het adres officieel mag worden gebruikt.
Marsweg 49 is gelegen op kadastraal perceel ZPN00K1869. Deze kadastrale aanduiding is uniek en wordt gebruikt door het Kadaster om eigendomsrechten en andere zakelijke rechten vast te leggen. Het perceel maakt onderdeel uit van de kadastrale gemeente Zutphen.
Het perceel waarop Marsweg 49 staat heeft een oppervlakte van 1972 m². Dit is een zeer groot perceel. De perceeloppervlakte wordt geregistreerd door het Kadaster. Gedetailleerde informatie over de maten van dit perceel kunt u vinden in het rapport Kadastrale kaart met maatvoering van Marsweg 49.
De eigenaar van Marsweg 49 is op te vragen op deze pagina.
De informatie over dit adres is afkomstig uit officiële overheidsregistraties, voornamelijk de Basisregistratie Adressen en Gebouwen (BAG) en de Basisregistratie Kadaster (BRK). Deze gegevens worden beheerd door respectievelijk gemeenten en het Kadaster, en worden regelmatig bijgewerkt. Energielabelgegevens komen uit de database van de Rijksdienst voor Ondernemend Nederland (RVO).
