
Ripkampenweg 3 is een adres in Zwiggelte, dat zich bevindt binnen de gemeentegrenzen van Zwiggelte en de grenzen van de provincie Drenthe. De oppervlakte bedraagt 177 m², waarmee het adres groter dan gemiddeld is. De grootte van het perceel waarop het adres ligt is 1570 m². Het object is klein ten opzichte van de andere adressen in de straat. Het grootste verblijfsobject is 384 m² groot en het kleinste is 106 m². Ripkampenweg 3 bevindt zich in een pand uit het jaar 1951. Daarmee behoort het tot de groep relatief oude panden in Nederland die gebouwd zijn vóór 1965. In de straat komt het nieuwste gebouw uit het jaar 2022 en het oudste uit 1932. Het bouwjaar van dit object is relatief oud. Voor het verblijfsobject gelden deze gebruiksdoelen: 'woonfunctie'.
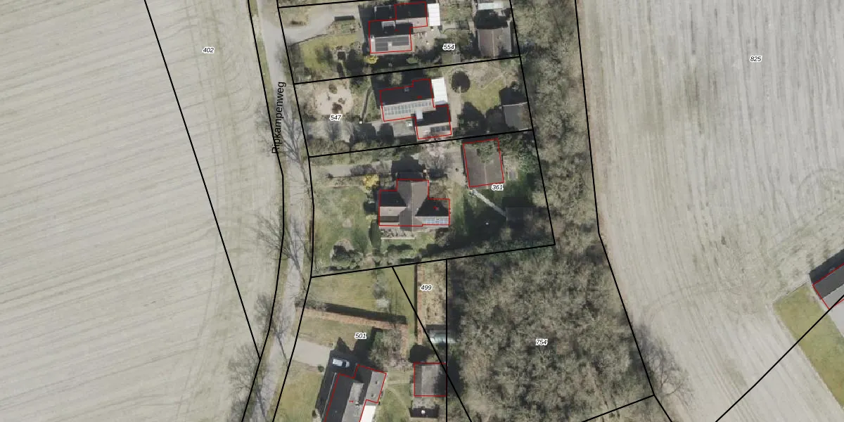
Het perceel waarop het adres ligt is WTB00-U-361. De afkorting 'WTB00' staat voor kadastrale gemeente Westerbork. De gemiddelde perceelgrootte in Westerbork is 1,6 ha. Dit perceel is kleiner: de perceeloppervlakte bedraagt 1570 m². Het grootste perceel in de kadastrale gemeente is 5,08 km². Het kleinste perceel heeft een oppervlakte van 1 m². Er zijn geen andere adressen aanwezig op het perceel. De huidige grenzen van het perceel zijn digitaal in de Basisregistratie Kadaster (BRK) geregistreerd op 05-09-2003.
Er is geen energielabel geregistreerd voor het adres. Het hoogste energielabel in de straat is A; het laagste is G. Het gemiddelde energielabel is er B. Het adres Ripkampenweg 3 heeft als status: 'verblijfsobject in gebruik'. Het pand waarin dit adres ligt heeft als status: 'pand in gebruik'.
Ripkampenweg 3 is een adres gelegen in de gemeente Midden-Drenthe, provincie Drenthe. Dit adres is geregistreerd in de Basisregistratie Adressen en Gebouwen (BAG) met als unieke identificatie 1731010000014563.
Het pand op Ripkampenweg 3 is gebouwd in 1951, wat betekent dat het 75 jaar oud is. Dit is een ouder pand. Het pand heeft mogelijk aanzienlijke renovaties nodig om aan de huidige standaarden te voldoen.
De woning op Ripkampenweg 3 heeft een gebruiksoppervlakte van 177 m². Dit is ruim vergeleken met de gemiddelde Nederlandse woning, die een oppervlakte heeft van ongeveer 119 m². De gebruiksoppervlakte is de maat die wordt gebruikt in de BAG-registratie, de landelijke registratie van de Nederlandse overheid.
Ripkampenweg 3 heeft als functie: wonen. Deze gebruiksfunctie(s) zijn vastgelegd in de BAG-registratie en geven aan waarvoor het adres officieel mag worden gebruikt.
Ripkampenweg 3 is gelegen op kadastraal perceel WTB00U361. Deze kadastrale aanduiding is uniek en wordt gebruikt door het Kadaster om eigendomsrechten en andere zakelijke rechten vast te leggen. Het perceel maakt onderdeel uit van de kadastrale gemeente Westerbork.
Het perceel waarop Ripkampenweg 3 staat heeft een oppervlakte van 1570 m². Dit is een zeer groot perceel. De perceeloppervlakte wordt geregistreerd door het Kadaster. Gedetailleerde informatie over de maten van dit perceel kunt u vinden in het rapport Kadastrale kaart met maatvoering van Ripkampenweg 3.
De eigenaar van Ripkampenweg 3 is op te vragen op deze pagina.
De informatie over dit adres is afkomstig uit officiële overheidsregistraties, voornamelijk de Basisregistratie Adressen en Gebouwen (BAG) en de Basisregistratie Kadaster (BRK). Deze gegevens worden beheerd door respectievelijk gemeenten en het Kadaster, en worden regelmatig bijgewerkt. Energielabelgegevens komen uit de database van de Rijksdienst voor Ondernemend Nederland (RVO).
