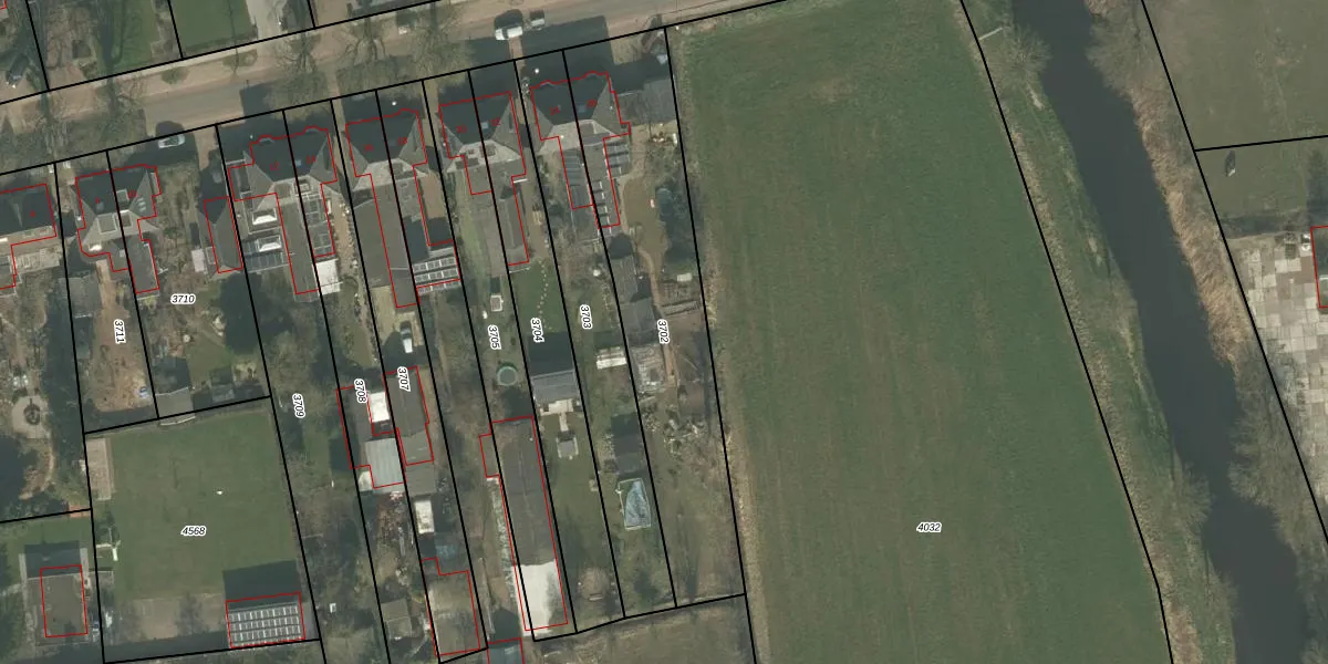
Perceel: ALE00-C-3702
KadastraleKaart.com kan meer dan je denktOntdek meer ›
Filter op bestemming 50+ datasets Eigendomsdata in één klik Percelen CRM
1.140 m2 - 198 m
Eigenaar opvragen
ALE00-C-3702 (Aarle-Rixtel)
- 5735 SG
KbxsPbOQCll nPPC1BUpgrade naar KadastraleKaart Pro
Verkoopprijs opvragen
Bekijk op Street View
Download DWG/DXF/Excel
y008 xF SXCyPOUpgrade naar KadastraleKaart Pro
3hAnTI 3kFUpgrade naar KadastraleKaart Pro
qJJU4WZ8XAXlTODxUpgrade naar KadastraleKaart Pro
sgM gwu dwGUpgrade naar KadastraleKaart Pro
0w3PR g2xJXcYW Ix8QxThUpgrade naar KadastraleKaart Pro
rYQ RLXeTZErAITUpgrade naar KadastraleKaart Pro
avdviA9kNQyzv2Upgrade naar KadastraleKaart Pro
sm3XhIBrP7nHPpOlUpgrade naar KadastraleKaart Pro
iu1eMKUl0d TC5T5fUpgrade naar KadastraleKaart Pro
ImN3XQFs Upgrade naar KadastraleKaart Pro
02/07/2009

Percelen
Gebruik de zoekbalk of klik op een perceel om informatie over het perceel te bekijken.