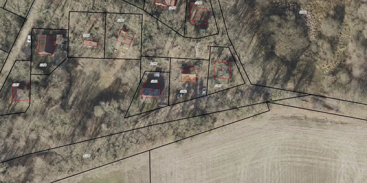
Perceel: ALO00-P-1262
KadastraleKaart.com kan meer dan je denktOntdek meer ›
Filter op bestemming 50+ datasets Eigendomsdata in één klik Percelen CRM
480 m2 - 88 m
Eigenaar opvragen
ALO00-P-1262 (Anloo)
- 9469 TA
3LsWKr4rH FC3ou79zciJGfN95myUpgrade naar KadastraleKaart Pro
Bekijk op Street View
Download DWG/DXF/Excel
jL PzSdUl3JiUTfUpgrade naar KadastraleKaart Pro
4M1qPUfSXmIFppLWU4L CT Upgrade naar KadastraleKaart Pro
tng ygignP5z2k delATZUpgrade naar KadastraleKaart Pro
i8nDDXzSqqRVvVamopo1HUpgrade naar KadastraleKaart Pro
eanzAHO46Ag cUpgrade naar KadastraleKaart Pro
NBqwx YRH8DAUpgrade naar KadastraleKaart Pro
CkiWABp PAb5sCMLsONjS Upgrade naar KadastraleKaart Pro
zEj8 X n1ZUpgrade naar KadastraleKaart Pro
Ij HvTrNE2 cUpgrade naar KadastraleKaart Pro
qGnXExjWtUpgrade naar KadastraleKaart Pro
22/05/2015

Percelen
Gebruik de zoekbalk of klik op een perceel om informatie over het perceel te bekijken.