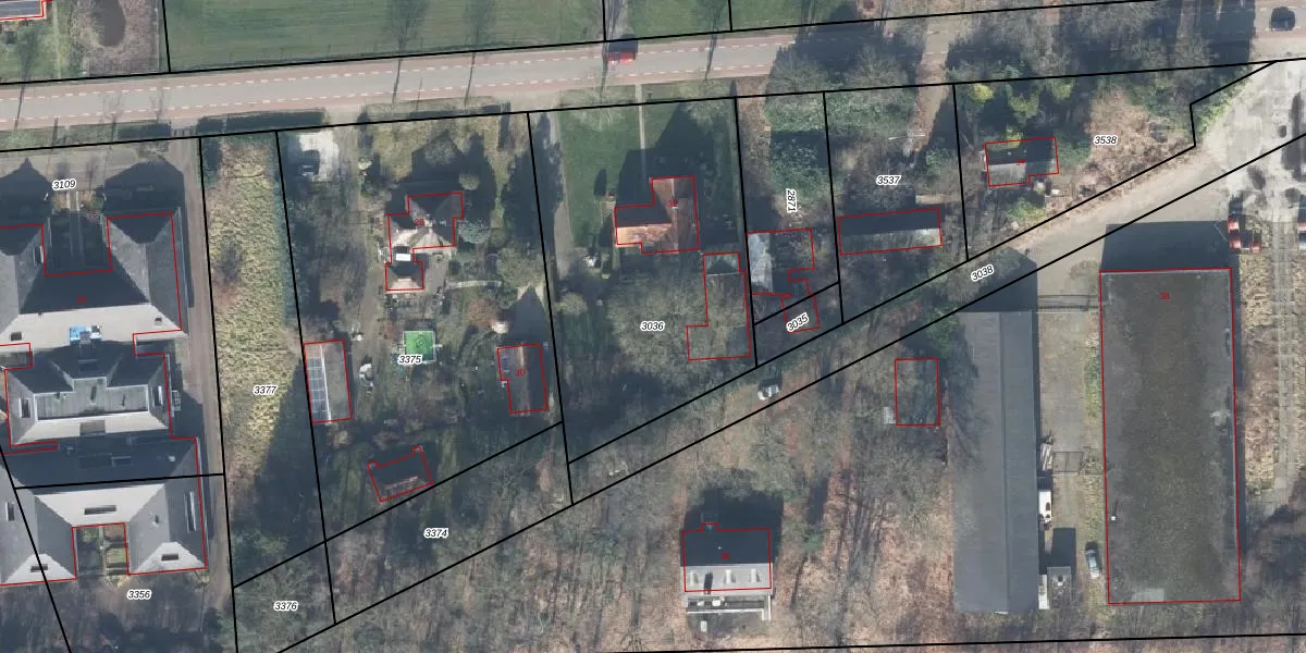
Perceel: AMN00-D-3036
KadastraleKaart.com kan meer dan je denktOntdek meer ›
Filter op bestemming 50+ datasets Eigendomsdata in één klik Percelen CRM
1.490 m2 - 160 m
Eigenaar opvragen
AMN00-D-3036 (Almen)
- 7218 NB
RHR EGzTU300WHoVUpgrade naar KadastraleKaart Pro
Bekijk op Street View
Download DWG/DXF/Excel
np CTo j7o8LDTp0wUpgrade naar KadastraleKaart Pro
sukNl1ryF E9Upgrade naar KadastraleKaart Pro
0yhMN9taTQbgo J cziUpgrade naar KadastraleKaart Pro
AGK 8Xmx80c2WXV SUpgrade naar KadastraleKaart Pro
VtM i0PE8OYbvSqMVUpgrade naar KadastraleKaart Pro
UD1y14 Lh Q zmHUpgrade naar KadastraleKaart Pro
8lus3 GW9rjaOaAaW9XrNTUpgrade naar KadastraleKaart Pro
Wy3Aq8IC 11cz9LFmD5Upgrade naar KadastraleKaart Pro
s8kqgpJWnG7vnZffUpgrade naar KadastraleKaart Pro
gVzMLaxFiRipkr0ZUpgrade naar KadastraleKaart Pro
26/10/2005

Percelen
Gebruik de zoekbalk of klik op een perceel om informatie over het perceel te bekijken.