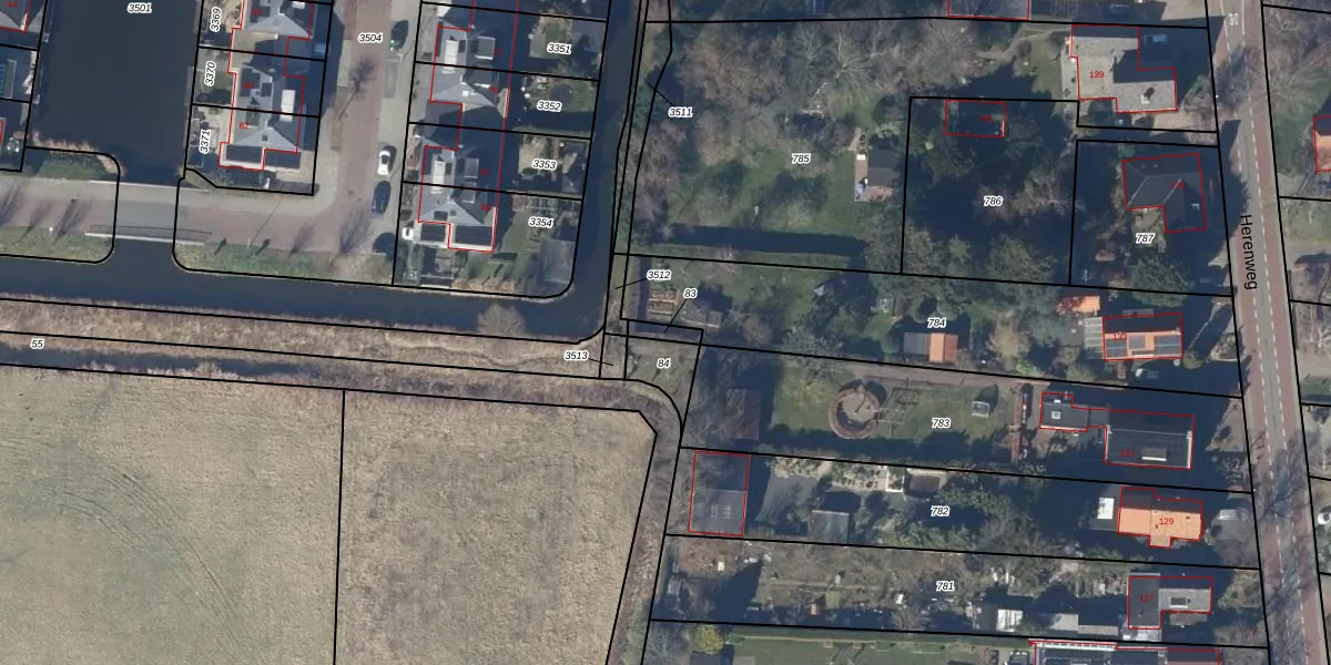
Perceel: AMR01-L-83
Geen adressen bij dit perceel
25 m2 - 27 m
Eigenaar opvragen
AMR01-L-83 (Alkmaar)
- Geen postcode aanwezig
rUd s4AwW9q3ycG3O Upgrade naar KadastraleKaart Pro
Bekijk op Street View
Download DWG/DXF/Excel
eNcAlBGxJRUpgrade naar KadastraleKaart Pro
JYuH6djUUpgrade naar KadastraleKaart Pro
kn oV8bz41 EnC3SOTviof Upgrade naar KadastraleKaart Pro
MP aIEo qJgUpgrade naar KadastraleKaart Pro
MqBFscJibM0Upgrade naar KadastraleKaart Pro
mUGpj5RTnEoUpgrade naar KadastraleKaart Pro
o1 m sEoqYQBlN 0v10Upgrade naar KadastraleKaart Pro
ZDWo1gbYPhnt n2vaViYUpgrade naar KadastraleKaart Pro
oHmmHyq8IgZy6RmcYy0RnbUpgrade naar KadastraleKaart Pro
i03yOn hMUpgrade naar KadastraleKaart Pro
10/11/2010

Percelen
Gebruik de zoekbalk of klik op een perceel om informatie over het perceel te bekijken.