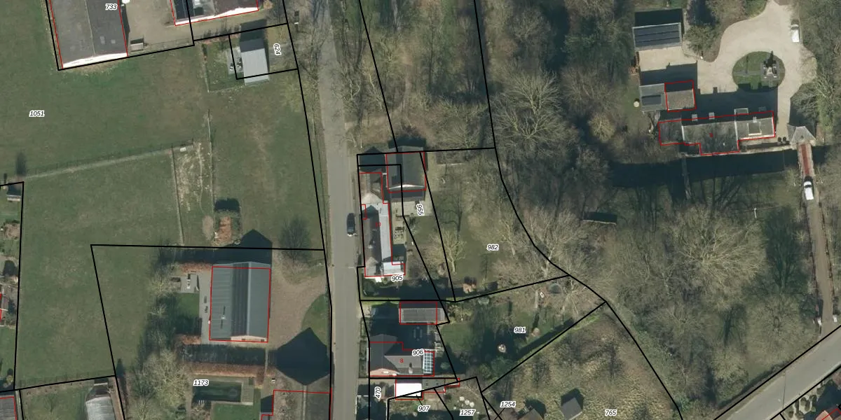
Perceel: AMZ00-H-955
KadastraleKaart.com kan meer dan je denktOntdek meer ›
Filter op bestemming 50+ datasets Eigendomsdata in één klik Percelen CRM
Geen adressen bij dit perceel
238 m2 - 102 m
Eigenaar opvragen
AMZ00-H-955 (Ammerzoden)
- Geen postcode aanwezig
nQhGfNelrtp YeE SrAUpgrade naar KadastraleKaart Pro
Bekijk op Street View
Download DWG/DXF/Excel
DSYPxXOPIrnEMyQv1Upgrade naar KadastraleKaart Pro
tXTrPjg X gcoUpgrade naar KadastraleKaart Pro
1XJdSr1L U6wqTIUGf EWnUpgrade naar KadastraleKaart Pro
3SyBe sQQ iUpgrade naar KadastraleKaart Pro
rPYqfTilm cVty1NcvevtdUpgrade naar KadastraleKaart Pro
0mj4zwHtBq Upgrade naar KadastraleKaart Pro
uOGV7Jy enetp70Upgrade naar KadastraleKaart Pro
daFQIr9iFUpgrade naar KadastraleKaart Pro
v24sDMx gKUpgrade naar KadastraleKaart Pro
LuM2WFFJZoUpgrade naar KadastraleKaart Pro
07/04/2022

Percelen
Gebruik de zoekbalk of klik op een perceel om informatie over het perceel te bekijken.