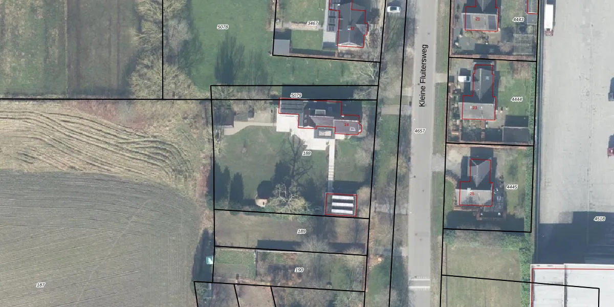
Perceel: APD01-AB-188
KadastraleKaart.com kan meer dan je denktOntdek meer ›
Filter op bestemming 50+ datasets Eigendomsdata in één klik Percelen CRM
1.930 m2 - 179 m
Eigenaar opvragen
APD01-AB-188 (Apeldoorn)
- 7345 DC
jfAkT5O8VQHN0Kxvqe 3Gx43QabFIA7Upgrade naar KadastraleKaart Pro
Verkoopprijs opvragen
Bekijk op Street View
Download DWG/DXF/Excel
MXbnBgvrOEoA2dka2Upgrade naar KadastraleKaart Pro
DTSYvLrtllQFbxw a trUpgrade naar KadastraleKaart Pro
Mg1RPQoq FTaUpgrade naar KadastraleKaart Pro
Ag7v4nB3av1wUpgrade naar KadastraleKaart Pro
t w IeUw9Upgrade naar KadastraleKaart Pro
QMpDF3Y 7I1M59mN27zo oIUpgrade naar KadastraleKaart Pro
iZdBhMAgveXRPUpgrade naar KadastraleKaart Pro
42X Mvh4S0Md0mUpgrade naar KadastraleKaart Pro
H vFd XxJ VBCzd6uP FUpgrade naar KadastraleKaart Pro
naZs5CSUpgrade naar KadastraleKaart Pro
19/11/1998

Percelen
Gebruik de zoekbalk of klik op een perceel om informatie over het perceel te bekijken.