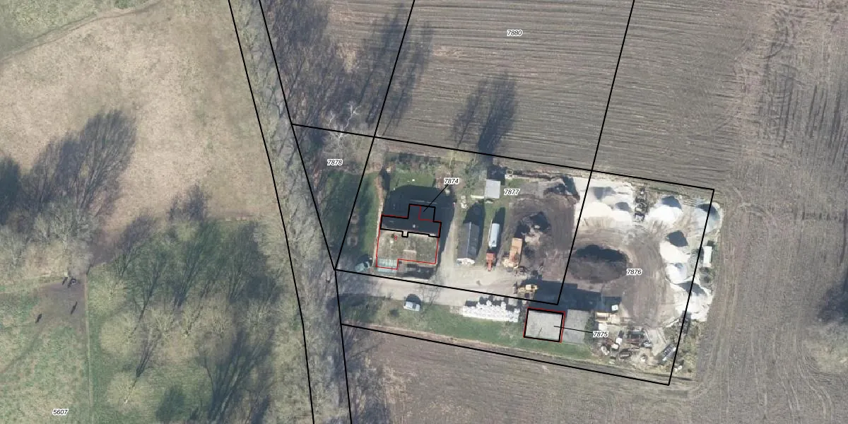
Perceel: APD01-D-7874
Geen adressen bij dit perceel
67 m2 - 44 m
Eigenaar opvragen
APD01-D-7874 (Apeldoorn)
- Geen postcode aanwezig
NS2gIoYJs R3GLJI2vJUgH xINzUpgrade naar KadastraleKaart Pro
Bekijk op Street View
Download DWG/DXF/Excel
DJnGbS ftjG0YyAMr6andUpgrade naar KadastraleKaart Pro
li0NeqHfz 13Cmr1Upgrade naar KadastraleKaart Pro
SFGZt Z3aJoBzozcr1bJUpgrade naar KadastraleKaart Pro
IuPerHzVaCM QH ifu8RP0kUpgrade naar KadastraleKaart Pro
FPBNreIeYjxGEfWbrOoW wTUpgrade naar KadastraleKaart Pro
ohWyNqC pS3Upgrade naar KadastraleKaart Pro
p4VB3J6VD72UPUpgrade naar KadastraleKaart Pro
KEJiZIZ9 wH5Rzl 4GdJXUpgrade naar KadastraleKaart Pro
s qI5i2JL L Hb53U Upgrade naar KadastraleKaart Pro
6i2YQDPnIdUpgrade naar KadastraleKaart Pro
30/10/2007

Percelen
Gebruik de zoekbalk of klik op een perceel om informatie over het perceel te bekijken.