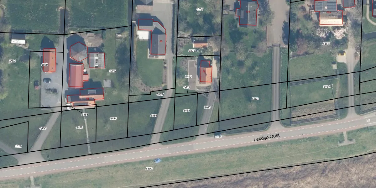
Perceel: BAB00-B-5459
Geen adressen bij dit perceel
15 m2 - 27 m
Eigenaar opvragen
BAB00-B-5459 (Bergambacht)
- Geen postcode aanwezig
inU4AvrQC Kqt55oPGXhUpgrade naar KadastraleKaart Pro
Bekijk op Street View
Download DWG/DXF/Excel
aWHk deCeQH3H vhUpgrade naar KadastraleKaart Pro
3 w61Lhk lUpgrade naar KadastraleKaart Pro
Xfa Y 8j3WJBNxtsyenyMcFUpgrade naar KadastraleKaart Pro
X7cL6uvAsn 1t8oqyJbmzUpgrade naar KadastraleKaart Pro
sefHtia vUpgrade naar KadastraleKaart Pro
Ti07d yRR4cGJ8VwUpgrade naar KadastraleKaart Pro
8da106bTak4v4iQ0ZUpgrade naar KadastraleKaart Pro
jfaEpqoqUCf BIUpgrade naar KadastraleKaart Pro
JNd 1SWOKrj5 c YBUpgrade naar KadastraleKaart Pro
jFbBpo7qOjB7N WUpgrade naar KadastraleKaart Pro
22/09/2016

Percelen
Gebruik de zoekbalk of klik op een perceel om informatie over het perceel te bekijken.