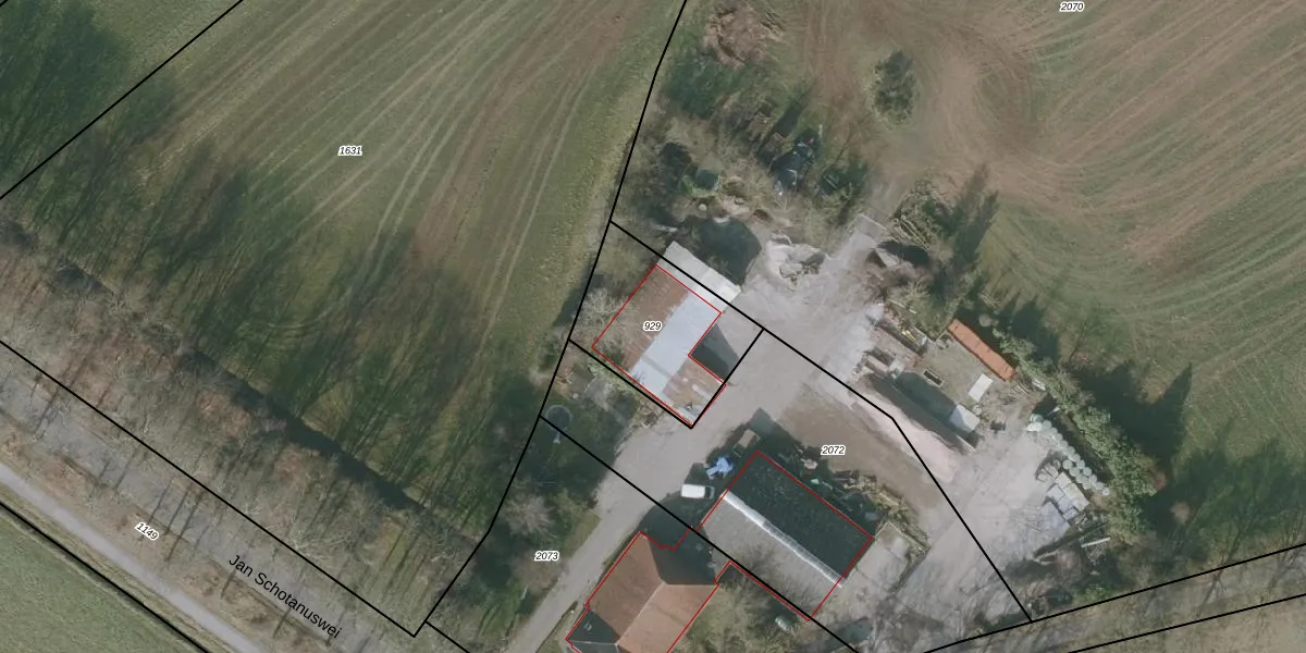
Perceel: BAL00-L-929
KadastraleKaart.com kan meer dan je denktOntdek meer ›
Filter op bestemming 50+ datasets Eigendomsdata in één klik Percelen CRM
Geen adressen bij dit perceel
480 m2 - 90 m
Eigenaar opvragen
BAL00-L-929 (Balk)
- Geen postcode aanwezig
p roSle PDHJf9Z mw3 Upgrade naar KadastraleKaart Pro
Bekijk op Street View
Download DWG/DXF/Excel
NMwKQvXFrgh60JmUpgrade naar KadastraleKaart Pro
vmCPAw60IiceHUpgrade naar KadastraleKaart Pro
z5 gze80Upgrade naar KadastraleKaart Pro
eFfB JtOJjH B796UZKcUpgrade naar KadastraleKaart Pro
eCk6s7qtEgCSZYDlKUpgrade naar KadastraleKaart Pro
bxuhi336Yd0wK75Upgrade naar KadastraleKaart Pro
yBrZIfau5 yMlJUpgrade naar KadastraleKaart Pro
9ied5DKc3JsUpgrade naar KadastraleKaart Pro
HFkSUDgWquNlpdiUpgrade naar KadastraleKaart Pro
STYUP0 HkXUpgrade naar KadastraleKaart Pro
20/07/2009

Percelen
Gebruik de zoekbalk of klik op een perceel om informatie over het perceel te bekijken.