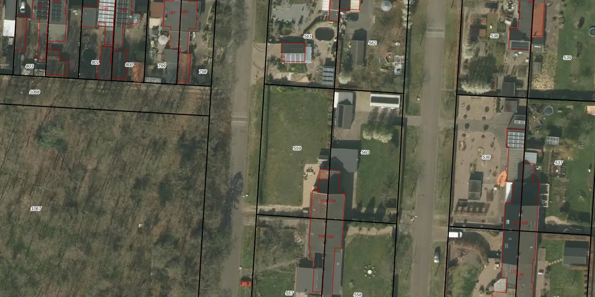
Perceel: BDL02-G-559
KadastraleKaart.com kan meer dan je denktOntdek meer ›
Filter op bestemming 50+ datasets Eigendomsdata in één klik Percelen CRM
1.044 m2 - 135 m
Eigenaar opvragen
BDL02-G-559 (Budel)
- 6024 AL
72lJvLM5qKuKL4O9EnUpgrade naar KadastraleKaart Pro
Verkoopprijs opvragen
Bekijk op Street View
Download DWG/DXF/Excel
TRO egH8DI5lUpgrade naar KadastraleKaart Pro
91U8qmfmrrFvSgZloUpgrade naar KadastraleKaart Pro
HPoKsXd0bVlknxKP2S wSUpgrade naar KadastraleKaart Pro
62wRuUAe uEjh3uWjyQUpgrade naar KadastraleKaart Pro
84b6 SWlppcNi 3iwME lUpgrade naar KadastraleKaart Pro
Bg tRg 1MHNUpgrade naar KadastraleKaart Pro
OvH5bwYwB9kTvMW7SUpgrade naar KadastraleKaart Pro
8KWNqG FYw72qK89pUpgrade naar KadastraleKaart Pro
YhCe14ZdY86aUXes4jRyUpgrade naar KadastraleKaart Pro
CUa1kjHtG1 Upgrade naar KadastraleKaart Pro
25/02/2005

Percelen
Gebruik de zoekbalk of klik op een perceel om informatie over het perceel te bekijken.