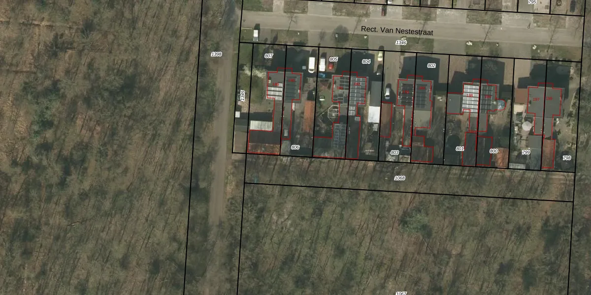
Perceel: BDL02-G-806
KadastraleKaart.com kan meer dan je denktOntdek meer ›
Filter op bestemming 50+ datasets Eigendomsdata in één klik Percelen CRM
412 m2 - 97 m
Eigenaar opvragen
BDL02-G-806 (Budel)
- 6024 AM
h0TrvS4tLePtRWT nC8XXKbBMP5UjGUpgrade naar KadastraleKaart Pro
Verkoopprijs opvragen
Bekijk op Street View
Download DWG/DXF/Excel
brwYHSCAcEuIQtQYUpgrade naar KadastraleKaart Pro
dV VXRPBg75iQhM2fUpgrade naar KadastraleKaart Pro
lWkYKdGHXlthY7iaASUpgrade naar KadastraleKaart Pro
CChLB OSOi89JHVt2dPgmvUpgrade naar KadastraleKaart Pro
95TAT 5lGbtocCWWiLUpgrade naar KadastraleKaart Pro
VMwFVoHhpYNYKifYUpgrade naar KadastraleKaart Pro
x1DwXhaDIXQvORIr gqhUpgrade naar KadastraleKaart Pro
M4 Go1IM393q8aUpgrade naar KadastraleKaart Pro
60ig 6Jsc6oUpgrade naar KadastraleKaart Pro
rnrnraSznkSeLvtaOUpgrade naar KadastraleKaart Pro
12/06/2006

Percelen
Gebruik de zoekbalk of klik op een perceel om informatie over het perceel te bekijken.